操作和保養手冊
1103D 工業用發動機
XK(發動機)
XL(發動機)
XM(發動機)
This document has been printed from SPI2. NOT FOR RESALE
![]()
![]()
![]()
![]()

重要安全事項
產品的操作、保養和修理中的大多數事故,都是由于不遵守基本安全規則或預防措施引起的。若能在事
故發生前認識到各種潛在危險,事故往往是可以避免的。對各種潛在的危險,必須對工作人員提出警
告。還必須對工作人員進行培訓,使其掌握必要的技能和正確使用工具。
不正確的操作、潤滑、保養或修理產品是危險的,并會造成人身傷亡。
必須閱讀和理解產品的操作、潤滑、保養和修理的資料后,才可進行這些工作。
在本手冊中和在產品上都提供有安全預防措施和警告。如果對這些警告不予注意,會給自己或他人
造成人身傷亡。
識別危險用“安全警告符號”和“標志文字”,如“危險”、“警告” 或 “當心”。“警告” 標貼如下所示。
安全警告符號的含義如下:
注意!提高警惕! 事關您的安全。
警告的下面,說明危險的情況,有的用文字書寫,有的用圖形表示。
對能造成產品損壞的操作,在產品上和在本手冊中都以“注意”標貼表示。
� � � � 不能預料到可能發生危險的每一種情況。所以,本手冊和產品上提出的警告并不包括所有
情況。如果采用的工具、操作程序、工作方法或操作技術未經 Perkins 專門推薦,您必須保障您自己和
他人的安全。還要保證您所選擇的操作方法、潤滑、保養或修理程序不會損壞產品或造成不安全。
本手冊中的資料、技術規范和圖表是根據編寫當時可得到的資料匯編的。 所列舉的技術規范、扭矩、壓
力、測量值、調整值、圖表和其它項目,隨時都可能變更, 這些變更會影響對產品的維修。因此,在進
行各項作業前,必須獲得完整的最新的資料。 � � � � 代理商備有最新的資料。
本產品需要更換零件時, � � � � 推薦使用
Perkins 原廠生產的零件或者相同技術規范的零
件。相同的技術規范包括,但不局限于外形尺寸、
類型、強度和材料。
忽視此警告會導致過早發生故障、產品損壞甚至人
員傷亡。
This document has been printed from SPI2. NOT FOR RESALE
![]()
![]()
![]()
SCBU8352
3
目錄
目錄
保養周期表.....................................................39
保修部分
前言..................................................................4
安全部分
保修信息資料..................................................61
索引部分
安全標志..........................................................5
一般危險信息...................................................6
防止燙傷..........................................................7
防火與防爆........................................................8
防止壓傷和割傷...............................................9
上、下設備.....................................................10
起動發動機前..................................................10
發動機起動.....................................................10
發動機停機.....................................................10
電氣系統........................................................11
產品信息資料部分
索引................................................................62
機型視圖說明..................................................12
產品識別信息資料..........................................15
操作部分
起吊和貯存.....................................................17
儀表和指示燈..................................................19
功能部件和控制裝置......................................20
發動機起動.....................................................21
發動機運行.....................................................24
發動機停機.....................................................25
寒冷天氣操作..................................................26
保養部分
加注容量........................................................29
This document has been printed from SPI2. NOT FOR RESALE
![]()
前言
4
SCBU8352
前言
保養周期
進行保養時,應同時做比該次規定時間間隔小的
前幾級的保養項目。我們建議復制一份保養計劃
表并展示在發動機附近,作為一種方便的提醒。
我們還建議將保養紀錄作為發動機永久性記錄的
一部分保存好。
文獻資料
本手冊包含安全事項、操作說明、潤滑和保養資
料。本手冊應存放在靠近發動機的一個文件夾內
或文件存放處。閱讀、分析本手冊并將它與文件
和發動機資料放在一起。
Perkins特約代理商或Perkins分銷商能夠幫助
您根據機器的運行環境的需要來調整您的保養計
劃。
英語是所有Perkins出版物的主要語言。使用英
語便于翻譯并保持一致。
大修
本手冊中的某些照片和圖示上顯示的細節或選裝
部件可能與您發動機上的有所不同。為了說明方
便,一些護罩和蓋板可能已經拿掉。產品設計的
不斷改進和發展可能對發動機有所改變,而這些
改變可能未編入本手冊中。當您對發動機或本手
冊有任何疑問時,請向您的Perkins代理商或
Perkins分銷商咨詢最新的資料。
除了大修時間和在此周期時的保養項目外,在操
作和保養手冊中沒有發動機大修的細節。只有
Perkins授權的人員才能進行大修。Perkins代
理商和Perkins分銷商可以提供大修程序的多種
方案。如果遇到重大的發動機故障時,還有許多
故障后大修的選擇方案。與Perkins代理商或
Perkins分銷商聯系以獲得這些方案。
安全
加利福尼亞州65號提案中的警告
安全部分列出了基本的安全注意事項。此外,本
部分還標出了各種危險情況和警告內容。在操
作、潤滑、保養和修理本發動機以前,要閱讀和
理解列在安全部分上的基本注意事項。
加利福尼亞州認為,柴油發動機排氣及其中的某
些成分會致癌,引起生育缺陷和其它生殖方面的
危害。蓄電池接線柱、端子和相關的附件中含有
鉛和鉛化合物。接觸后要洗手。
操作
在本手冊中指出的操作方法是最基本的。它們能
幫助操作人員提高技術和技能從而更有效、更經
濟地運轉發動機。當操作人員獲得發動機知識和
掌握其性能后,操作技巧和方法將得到提高。
操作部分是供操作人員參考的,各種照片和圖示
指導操作人員進行發動機的檢查、起動、運行和
停機。本部分還包含電子診斷方面的論述。
保養
保養部分是對發動機維護的指南。附有插圖的逐
步說明是按工作小時和(或)日歷時間保養周期
編排的。保養周期表中的項目參閱后面的詳細說
明。
應按保養周期表中指出的相應間隔期進行推薦的
保養。發動機的實際工作環境也會影響保養周
期。因此,在極度惡劣、多塵、潮濕或冰凍的寒
冷條件下運轉,可能需要比保養周期表中規定的
潤滑和保養次數多。
保養計劃中的保養項目是按預防性保養管理程序
編制的。如果遵照預防性保養管理程序進行保
養,那就不需要進行定期調整。履行預防性保養
管理程序,由于減少了計劃外停機和故障造成的
費用損失,將使運行成本降到最低。
This document has been printed from SPI2. NOT FOR RESALE
![]()
SCBU8352
5
安全部分
安全標志
安全部分
i06151124
安安全全標標志志
在發動機上可能有幾個特殊的警告標志。本部分
回顧這些警告標志的確切位置和描述。請熟悉所
有安全標志。
請確保所有安全標志都很清晰易讀。如果警告標
志的說明文字或插圖無法辨識,請清潔或更換。
用抹布、水和肥皂清洗警告標志。不要使用溶
劑、汽油和其它刺激性化學制品。溶劑、汽油或
刺激性化學制品可能會使粘貼安全標志的粘著劑
喪失粘性。喪失粘性的警告志可能會從發動機上
脫落下來。
更換所有損壞或丟失的警告標志。如果有警告標
志貼在了被更換的零件上,應在替換零件上粘貼
新的警告標志。您的Perkins代理商或分銷商可
以提供新的警告標志。
(1) 通用警告
在在閱閱讀讀和和了了解解《《操操作作和和保保養養手手冊冊》》中中的的指指示示和和警警告告
之之前前,,請請勿勿操操作作機機器器。。不不遵遵守守這這些些警警告告,,可可能能會會導導
致致人人身身傷傷亡亡。。
圖1
g01154807
典型示例
通用警告標簽 (2)位于進氣歧管蓋的后端。參考
圖2。
This document has been printed from SPI2. NOT FOR RESALE
![]()
![]()
![]()

![]()
![]()
6
SCBU8352
安全部分
一般危險信息
圖2
g01431463
(1)乙醚警告標簽
(2)通用警告
(2) 乙醚
i03018725
一一般般危危險險信信息息
不不要要使使用用類類似似乙乙醚醚的的噴噴霧霧劑劑輔輔助助起起動動。。否否則則可可能能導導
致致爆爆炸炸和和人人身身傷傷害害。。
圖4
g00037887
在維修或修理設備前,要在起動開關或操縱桿上
掛一個 “不準操作”或類似的警告標簽。
圖3
g01154809
典型示例
乙醚警告標簽 (1)位于進氣歧管蓋的前端。參考
圖2。
This document has been printed from SPI2. NOT FOR RESALE

![]()
![]()
![]()
![]()

![]()
![]()

![]()
![]()
SCBU8352
7
安全部分
防止燙傷
液體穿透
即使發動機已經熄火很久,液壓回路中仍可能有
壓力存在。如果壓力沒有正確地被釋放,會導致
液壓油或管子堵頭之類的物體高速射出。
在釋放壓力之前,不可拆卸任何液壓零部件,否
則會造成人身傷害。在釋放壓力之前,不可拆開
任何液壓零部件,否則會造成人身傷害。有關釋
放液壓壓力所需要的任何步驟,請參閱OEM資
料。
圖5
g00702020
請按要求戴上安全帽、護目鏡和其他保護裝備。
不要穿寬松的衣服或佩帶首飾,因為它們可能勾
住控制裝置或發動機其他部件。
應確保所有護板和罩蓋都固定在發動機的正確位
置上。
保持發動機上沒有異物。清除機器地臺板、通道
和階梯上的碎屑、機油、工具和其它物件。
圖6
g00687600
切勿將保養液體到玻璃容器內。將所有的液體排
放到適當的容器內。
請務必使用木板或硬紙板來檢查泄漏。在壓力下
所噴出的液體可能會穿透人體組織。液體穿透進
入身體會造成嚴重的人身傷害,甚至可能導致死
亡。即使是一個針孔大小的漏洞,也可能會引起
嚴重的人身傷害。若液體噴射到您的皮膚,必須
立即治療。要找熟悉這類傷害的醫生進行治療。
請遵守當地的法規處置液體。
小心使用所有清洗溶液。
報告所有需要修理的項目。
不準未經許可的人員登上機器。
盛裝溢出的液體
在進行檢查、保養、測試、調整及維修發動機
時,務必留心,以便確保溢出的液體被盛裝在容
器中。在打開任何腔室或拆解任何部件之前,請
準備好用適當的容器來收集流出的液體。
在對匯流板或預熱塞進行操作前,請確保電源斷
開。
設備放在維修位置時保養發動機。有關將設備放
在維修位置的資料,請參閱OEM資料。
•只能使用適于收集液體的工具及設備。
•只能使用適于盛裝液體的工具及設備。
請遵守當地的法規處置液體。
壓縮空氣和水
壓縮空氣和/或加壓水可能把碎屑和/或熱水吹出
來。這有可能造成人身傷害。
在殼體上直接使用壓縮空氣或加壓水可能會造成
人身傷害。
i03018521
防防止止燙燙傷傷
使用壓縮空氣和/或水進行清洗時,請穿戴防護
衣、防護鞋和眼部護具。眼部護具包括護目鏡及
防護面罩。
不要觸摸運轉中的發動機的任何部位。在進行發
動機的任何保養之前,要讓發動機先冷卻下來。
在拆開任何管路、管接頭或相關零件之前,要釋
放空氣系統、液壓系統、潤滑系統、燃油系統和
冷卻系統中的全部壓力。
清潔時使用的最大氣壓一定要低于205kPa
(30psi)。清潔時使用的最大水壓一定要低于
275kPa(40psi)。
This document has been printed from SPI2. NOT FOR RESALE
![]()

![]()
![]()

![]()
![]()
8
SCBU8352
安全部分
防火與防爆
冷卻液
確定發動機是否在可燃氣體可被吸入進氣系統的
環境下運轉。這些氣體會造成發動機超速。這
可能引起人身傷害、財物損壞或造成發動機損
壞。
發動機處于工作溫度時,發動機的冷卻液是滾燙
的。而且處于壓力之下。散熱器和通向加熱器
或發動機的所有管路內都有熱的冷卻液。
如果應用類型涉及到存在可燃氣體的情況,請咨
詢您的珀金斯代理商和/或您的珀金斯分銷商,
以獲得關于適當防護裝置的更多資料。
接觸滾燙的冷卻液或蒸汽都會造成嚴重燙傷。排
放冷卻系統以前,讓冷卻系統部件先冷卻下來。
在發動機停機和冷卻后,檢查冷卻液液位。
清除發動機上的所有易燃或傳導物,如燃油、機
油及碎屑等。禁止在發動機上堆積任何易燃或傳
導材料。
拆卸加注口蓋以前,要確保加注口蓋是涼的。加
注口蓋必須涼到可以徒手觸摸。慢慢取下加注口
蓋,釋放掉壓力。
將所有燃油、潤滑劑存放在做好標記的容器內,
并禁止未經許可的人員靠近。將含有油的抹布與
任何易燃物存放于防護容器中。切勿在存放易燃
物的場所吸煙。
冷卻系統添加劑含堿。堿會造成人身傷害。不
要讓堿接觸皮膚,也不要讓其進入眼睛或嘴。
油
不得讓發動機暴露在任何明火之下。
熾熱油和熾熱的潤滑部件會造成人身傷害。不要
讓熾熱的油接觸皮膚。同時,不要讓熾熱的部件
與皮膚接觸。
如果管路、管道和密封件損壞,排氣管隔板(如
有配備)可以防止機油或燃油噴射到熱的排氣管
部件上。排氣隔板必須正確安裝。
蓄電池
禁止在裝有易燃液體的管路或油箱上進行焊接。
禁止用火焰切割裝有易燃液體的管路或油箱。在
焊接或火焰切割這些管路或油箱前,先用不易燃
的溶劑徹底將其清洗。
電解液是酸性的。會造成人身傷害。不要讓電
解液接觸皮膚或眼睛。保養蓄電池時一定要戴護
目鏡。觸摸蓄電池及其接頭后一定要洗手。建
議使用手套。
接線必須保持在良好狀態。所有電線都必須正確
布置并且牢固地連接好。每天檢查所有的電線。
請在運轉發動機之前修復松動或磨損的電線。清
潔并緊固所有電路連接。
i03018720
防防火火與與防防爆爆
去掉所有未連接的或不必要的接頭。不要使用比
推薦規格小的電線或電纜。不得將任何保險絲
和/或斷路器旁通短接。
電弧或火花會引起火災。牢固的連接,與推薦一
致的線路和經正確保養的蓄電池電纜有助于防止
產生電弧和火花。
檢查所有的管路和軟管有無磨損或老化。軟管的
鋪設路線必須適當。管線和軟管必須有適當的支
撐或牢固的管夾。按照推薦扭矩擰緊所有接頭。
泄漏會造成火災。
必須正確安裝機油濾清器和燃油濾清器。必須把
濾清器殼體擰緊到正確的扭矩。
圖7
g00704000
所有燃油、大多數潤滑劑和一些冷卻液混合物都
是易燃的。
易燃液體泄漏或濺到熾熱表面或電器部件上時,
可能引起火災。火災會導致人身傷害或財產損
失。
在緊急關機后十五分鐘內拆卸發動機曲軸箱的蓋
子,有可能引起火焰。
This document has been printed from SPI2. NOT FOR RESALE
![]()

![]()
![]()
SCBU8352
9
安全部分
防止壓傷和割傷
不正確的跨接電纜連接能引起爆炸,從而造成人
身傷害。有關具體的說明,請參見本手冊的操作
部分。
不得給凍結的蓄電池充電。這樣做會引起爆炸。
蓄電池必須保持清潔。每個電池柵格單元都必須
蓋好蓋子(如有配備)。在發動機運行時,要使
用推薦的電纜、接頭和蓄電池箱蓋。
滅火器
確保備有滅火器。熟悉滅火器的使用。定期檢
查和維護滅火器。遵守說明標牌上的建議。
管路、管子和軟管
請勿彎折高壓管路。請勿敲擊高壓管路。請勿
安裝任何已彎折或損壞的管路。不要在高壓管上
夾上任何其它的東西。
請修理任何已松脫或損壞的管路。泄漏會造成火
災。請向您的珀金斯代理商或您的珀金斯分銷
商咨詢零件的維修或更換。
圖8
g00704059
向發動機加燃油的時候要小心謹慎。不要在向發
動機加燃油的時候吸煙。也不要在靠近明火或火
花的地方向發動機加燃油。在添加燃油前切記要
將發動機熄火。
仔細檢查管路、管子和軟管。不要用裸露的手來
檢查泄漏。請用木板或硬紙板來檢查泄漏。按
照推薦扭矩擰緊所有接頭。
若出現下列任何一種情況,請更換零件:
•端接頭損壞或泄漏。
•外層有磨損或割傷。
•金屬線暴露在外。
•外層鼓包隆起。
•軟管扭曲。
•鎧裝護套嵌入外層。
•端接頭移位。
應確保所有的夾箍、防護物及隔熱板安裝正確。
這有助于防止發動機工作時的振動、零件間的相
互摩擦以及過量生熱。
i03018585
防防止止壓壓傷傷和和割割傷傷
圖9
g00704135
蓄電池散發出來的氣體能引起爆炸。蓄電池頂部
要遠離明火或火花。不要在蓄電池充電的場所吸
煙。
在部件下面工作時,部件應有可靠的支撐。
如果沒有提供另外的保養說明,在發動機運轉
時,切勿試圖進行調整。
不得采用將金屬物體跨接在接線端子上的辦法來
檢查蓄電池的充電情況。必須使用電壓表或比重
計。
避開所有轉動部件和運動部件。直到進行保養時
再拿掉保護罩。保養結束后重新裝上護罩。
This document has been printed from SPI2. NOT FOR RESALE
![]()

![]()
![]()

![]()
![]()
10
SCBU8352
安全部分
上、下設備
將物件遠離轉動的風扇葉片。風扇葉片會拋出或
切割物件。
i02616984
發發動動機機起起動動
敲擊物件時,要戴護目鏡,以免傷及眼睛。
在敲擊物件時,碎片或其它碎屑會四處飛散。敲
擊物件之前,應確保周圍無人會被飛出的碎屑擊
傷。
不不要要使使用用類類似似乙乙醚醚的的噴噴霧霧劑劑輔輔助助起起動動。。否否則則可可能能導導
致致爆爆炸炸和和人人身身傷傷害害。。
i02122355
上上、、下下設設備備
如果發動機起動開關或控制裝置上系有一個警告
標簽,切勿起動發動機或扳動控制裝置。在起動
發動機前,要向掛系警告標簽的人咨詢。
登上發動機之前檢查階梯、扶手和工作區域。保
持階梯、扶手和工作區域清潔并處于良好狀態。
如果必須起動發動機進行維修作業,必須安裝好
所有保護罩、蓋。為了預防旋轉件引起事故,在
轉動件周圍工作要小心。
必須在裝有踏板和/或扶手的地方上下發動機。
不要爬到發動機上,也不要從發動機上跳下來。
在操作人員的操作室或使用發動機起動開關來起
動發動機。
上下發動機時,要面朝發動機。與階梯和扶手保
持三點接觸。用雙腳和單手或用單腳和雙手。
不要把控制裝置當扶手使用。
一定要按照操作和保養手冊發動機起動(操作部
分)中所敘述的步驟起動發動機。了解正確的起
動步驟有助于防止發動機零部件的重大損壞。了
解正確起動步驟有助于防止人身傷害。
不要站在不能支承您體重的部件上。使用適當的
梯子或使用工作平臺。固定好攀爬設備,使它不
會移動。
為了確保水套水加熱器(如有配備)和/或潤滑
油加熱器(如有配備)工作正常,在加熱器工作
期間,要查看水溫計和油溫計。
上下發動機時,不要攜帶工具或物品。要用手拉
繩索吊上和放下工具或物品。
發動機排氣含有對人體有害的燃燒產物。一定要
在通風良好的地方起動和運行發動機。如果在一
個密閉的空間起動發動機,要將發動機廢氣排到
室外去。
i03018734
起起動動發發動動機機前前
注:發動機配備有正常工作狀況的冷起動的自動設
備。如果發動機將在嚴寒下運轉,那么可能需要嚴寒
輔助起動裝置。通常,發動機將配備有適合于作業地
區的輔助起動裝置。
首次起動新的、保養過的或修理過的發動機前,
預先做好停機準備,以便制止超速。這可以用關
斷發動機燃油供應和/或點火來完成。
發動機超速應該自動關機,它是電子控制的。如
果自動關機不自動執行,按下緊急停車按鈕以切
斷供向發動機的燃油和/或空氣。
發動機在每個氣缸內配備有電熱塞輔助起動裝
置,加熱進氣,以利于起動。
i03616456
檢查發動機有無潛在危險。
發發動動機機停停機機
起動發動機前,確保發動機上面、下面或附近無
人。確保周圍沒有任何人員。
如有配備,確保用于發動機的照明系統適合于工
況條件。如有配備,確保所有照明燈工作正常。
遵循操作和保養手冊發動機停機(操作部分)進
行發動機停機操作,以便避免發動機過熱和發動
機部件的加速磨損。
如果必須起動發動機進行維修作業,必須安裝好
所有保護罩、蓋。為了預防旋轉件引起事故,在
轉動件周圍工作要小心。
只有在緊急情況下才能使用緊急停機按鈕(如有
配備)。發動機正常停機時不要使用緊急停機按
鈕。在引起緊急停機的問題解決之前,切勿啟
動發動機。
不要旁通自動關斷電路。不要使自動關斷電路不
起作用。這種電路的設置是為了防止人身傷害。
同時也可防止發動機損壞。
如果新發動機或經大修后的發動機初次起動時發
生超速情況,使發動機停機。這可以通過切斷發
動機的供油和/或供氣來實現。
有關修理和調整的資料,請參閱維修手冊。
This document has been printed from SPI2. NOT FOR RESALE
![]()
![]()
![]()
SCBU8352
11
安全部分
電氣系統
i02616968
電電氣氣系系統統
充電裝置正在工作時,切勿從蓄電池斷開充電裝
置電路或蓄電池電路電纜。由蓄電池產生的易燃
氣體可能被火花點燃。
為便于防止火花點燃某些蓄電池產生的可燃氣
體,負極 “−”跨接起動電纜應該最后從外接電源
連接到起動馬達的負 “−”接線柱。如果起動馬達
沒有配備負 “−”接線柱,請把跨接起動電纜連接
到缸體。
每天檢查電線是否松動。在發動機起動之前,擰
緊所有松動的電線。發動機起動之前,要修理好
所有擦破的電線。有關具體的起動說明,請參閱
操作和保養手冊。
接地方法
為獲得發動機的最佳性能和可靠性有必要使發動
機電氣系統接地正確。不正確的接地會造成不受
控和不可靠的電路路徑。
不受控制的電路會對主軸承、曲軸軸頸表面和鋁
質部件造成損壞。
未安裝發動機到機架接地帶的發動機可能因電氣
放電而損壞。
為確保發動機和發動機電氣系統工作正常,必須
使用發動機到機架的接地帶,此接地帶直接連到
蓄電池。該通路徑可通過發動機直接接地到機
架。
所有接地點必須緊固和無腐蝕現象。發動機交流
發電機必須通過一根足可以承受其全額充電電流
的電線接地到蓄電池的負 “-”接線柱。
This document has been printed from SPI2. NOT FOR RESALE
![]()
12
SCBU8352
產品信息資料部分
機型視圖
產品信息資料部分
機型視圖說明
i06151122
機機型型視視圖圖
1103D 發動機型號視圖
圖10
g01439632
典型示例
(1)前吊耳
(5)呼吸器管
(6)水泵
(7)起動馬達
(8)機油濾清器(水平安裝)
(9)曲軸皮帶輪
(10)油底殼
(2)水溫調節器殼體(水平出口)
(3)燃油注油泵
(4)燃料濾清器
This document has been printed from SPI2. NOT FOR RESALE

![]()
![]()
SCBU8352
13
機型視圖說明
發動機描述
圖11
g01434352
典型示例
(11)進氣歧管適配器
(12)頂蓋
(13)排氣歧管
(14)渦輪增壓器(如有配備)
(15)渦輪增壓器供油(如有配備)
(16)渦輪增壓器回油(如有配備)
(17)后吊耳
(18)飛輪殼
(19)飛輪
i06151125
發發動動機機描描述述
Perkins發動機設計用于以下應用:機器和工業
用移動設備。以下進氣類型的發動機可供使用:
•渦輪增壓后冷式
•渦輪增壓式
•自然吸氣式
發動機技術規格
圖12
g01222531
注:發動機的前端與發動機飛輪端相對。在飛輪端處
看去,確定發動機的左側和右側。1號氣缸是最前端
的氣缸。
氣門布置的典型示例
(A)進氣閥
(B)排氣閥
This document has been printed from SPI2. NOT FOR RESALE

![]()
![]()

![]()
![]()
14
SCBU8352
機型視圖說明
發動機描述
表 1
1103D 工業用發動機 技術規格
直列 3 缸
油缸數量
缸徑
105 mm (4.134 in)
127 mm (5.0 in)
沖程
進氣方式
渦輪增壓式
自然吸氣式
壓縮比
排量
NA 19.25:1
T 18.25:1
3.3 L (201 in )
3
點火順序
1 2 3
旋轉方向(飛輪端)
氣門間隙設定值(進氣)
逆時針
0.20 mm (0.008 in)
0.45 mm (0.018 in)
氣門間隙設定值(排氣)
發動機冷卻與潤滑
冷卻系統包括以下部件:
•齒輪驅動離心水泵
•調節發動機冷卻液溫度的水溫調節器
•齒輪驅動機油泵(齒輪式)
•油冷卻器
發動機機油通過齒輪驅動泵提供給發動機。發動
機潤滑油經過冷卻并過濾。在機油粘度高時,旁
通閥向發動機零件提供不受阻的潤滑油流。如果
機油冷卻器或機油濾清器濾芯出現堵塞,旁通閥
亦可向發動機零件提供不受阻的潤滑油流。
發動機的效率、排放控制效率和發動機性能的最
大利用取決于遵守正確的操作和保養建議。發動
機的性能和效率也依賴于使用建議的燃油、潤滑
油和冷卻液的情況。關于保養事項的更多信息,
參考操作和保養手冊保養周期表。
發動機使用壽命
發揮發動機的效率和最大程度利用發動機的性能
取決于對正確的操作和保養建議的遵守程度。此
外,也應使用推薦的燃油、冷卻液和潤滑劑。將
操作和保養手冊用作發動機所需進行的保養的指
南。
發動機的預期使用壽命通常可由需求的平均功率
預測出來。需求的平均功率是基于一段時間內發
動機的燃油消耗量來確定的。減少全油門運轉小
時數和/或在減低了的油門設置下運轉可導致較
低的平均功率需求。減少運轉小時數將會延長發
動機需要大修之前的運轉時間。
This document has been printed from SPI2. NOT FOR RESALE

![]()
SCBU8352
15
產品識別信息資料
發動機識別
產品識別信息資料
i06151127
發發動動機機識識別別
Perkins發動機通過序列號進行識別。此號碼
顯示在發動機缸體左側安裝的序列號銘牌上。
發動機編號的一個示例為XK12345U090001P。
XK
型發動機
發動機列表編號
英國制造
XK12345
圖14
g01431032
U
典型序列號標牌
(1)臨時零件列表編號
(2)列表編號
(3)序列號
090001
P
發動機序列號
制造年份
(4)類型
Perkins經銷商需要這些號碼來確定該發動機上
包括的部件。這樣可以準確識別替換零件的零件
號。
以下信息銘刻在序列號銘牌上:發動機序列號,
型號和配置編號。
i02890279
i06151126
參參考考號號
序序列列號號標標牌牌
S/N: XK11–Up
S/N: XL11–Up
序列號銘牌位于發動機缸體左上側,噴油泵上
方。
訂購零件時,可能需要有關以下項目的信息資
料。找出您的發動機的資料。在相應位置填寫
這些資料。復印此清單作為檔案記錄。保存這
些資料以供將來參考。
供參考用的檔案記錄
發動機型號
發動機生產序號
發動機低怠速
發動機滿負荷轉速
燃油粗濾器
水分離器濾芯
燃油細濾器濾芯
潤滑油濾芯零件號
輔助機油濾芯零件號
潤滑系統總容量
冷卻系統總容量
圖13
g01431025
序列號銘牌的位置
This document has been printed from SPI2. NOT FOR RESALE
![]()
![]()
![]()
![]()
![]()
![]()
![]()
![]()
![]()
![]()
![]()
![]()
![]()
![]()
![]()
![]()
![]()

![]()
![]()

![]()
![]()
16
SCBU8352
產品識別信息資料
排放認證貼膜
空氣濾清器濾芯
風扇傳動皮帶
交流發電機皮帶
i06151116
排排放放認認證證貼貼膜膜
圖15
g01350379
典型示例
This document has been printed from SPI2. NOT FOR RESALE
![]()
![]()
![]()

![]()
![]()
SCBU8352
17
操作部分
設備起吊
操作部分
i03018528
設設備備貯貯存存
起吊和貯存
表 2
i03018522
所需工具
設設備備起起吊吊
工具
A
零件號
零件描述
數量
1772204
POWERPART Lay-Up 1
1
1
1
B
1762811
1734115
POWERPART Lay-Up 2
POWERPART Lay-Up 3
C
如果發動機數周未起動過,潤滑油將從缸壁和活
塞環中流掉。缸套表面可能會生銹。缸套表面
銹蝕將導致發動機磨損加劇和發動機使用壽命降
低。
潤滑系統
為防止發動機過度磨損,遵守下列準則:
完成在本操作和保養手冊保養周期表(保養部
分)列出的全部潤滑建議。
圖16
g00103219
如果發動機無法運轉,或者還沒有計劃使用發動
機,應采取特殊的預防措施。如果發動機貯存超
過一個月,建議制訂一個完整的防護程序。
注意
千萬不要折彎吊環螺栓和支架。 吊環螺栓和支架只能
承受張力負荷。 要記住當支承構件和物體之間的角度
小于90°時,吊環螺栓的承載能力變小。
按照下列指南進行:
•徹底清潔發動機外部。
當必須在某一角度搬移部件時,只能使用具有適當額
定載荷的連桿支架。
•將燃油系統排放干凈,并向其注入防腐燃油。可將
工具(A)與普通燃油混合以將燃油改變為防腐燃
油。
使用起重機拆卸重的部件。使用一個可調的吊粱
起吊發動機。所有的承載構件(鏈條和鋼絲繩)
應互相平行。鏈條和鋼絲繩與被吊物體的頂面盡
可能保持垂直。
•如果沒有防腐燃油,可向燃油系統注入普通燃油。
此燃油在貯存期結束后必須和燃油濾清器濾芯一同
丟棄。
•讓發動機運轉,直到發動機達到正常工作溫度。
阻止燃油、潤滑油或空氣系統的任何泄露。關閉發
動機,排放油底殼中的潤滑油。
有些拆卸工作要求用吊裝工具吊裝,以確保平衡
和安全。
只在拆卸發動機時,要使用發動機上的吊耳。
•更新潤滑油濾清器的濾罐。
吊耳是為特定的發動機配置總成設計和安裝的。
改動吊耳和/或發動機會使吊耳和吊具失效。如
果對吊耳和/或發動機做過改動,則應確保提供
合適的起吊裝置。有關發動機正確起吊的吊具資
料,請與珀金斯代理商聯系。
•將新的清潔潤滑油注入油底殼,直至滿刻度位置。
為防止發動機受到侵蝕,向機油中添加工具(B)。
如果沒有工具(B),使用正確規格的防腐劑替代潤
滑油。如果使用防腐劑,在貯存期結束后必須將其
完全排放干凈,并向油底殼重新注入正確等級的普
通潤滑油。
冷卻系統
為防止發動機過度磨損,遵守下列準則:
This document has been printed from SPI2. NOT FOR RESALE

![]()
![]()
![]()

![]()
![]()
注:某些阻蝕劑可能會損壞發動機部件。請聯系珀金
18
SCBU8352
起吊和貯存
設備貯存
注意
斯的維修部門獲取使用建議。
不要在發動機仍舊很熱和系統處于壓力的情況下排放
冷卻液,因為有排出炙熱冷卻液的危險存在。
8.短時間運轉發動機,使潤滑油和冷卻液在發動
機中循環流動。
如果預計發動機會在冰凍溫度下運行,檢查冷卻
系統是否具備足夠的防凍保護。請參閱本操作和
保養手冊冷卻液一般信息資料(保養部分)。
9.斷開蓄電池。在已充滿電的情況下,將蓄電
池安全存放。在存放蓄電池前,對端子進行防
腐保護。端子上可使用工具 (C)。
注意
10.清潔曲軸箱呼吸器(如有安裝)。密封管的
末端。
為防止霜凍損害,確保所有的冷卻液從發動機排出。
如果系統被水沖洗后進行過排放,或者使用的防凍液
性能太差,無法保護系統避免霜凍,那么這一點將非
常重要。
11.拆下噴油器噴嘴,然后在活塞處于BDC時向
每個缸孔噴灑工具 (B)一或兩秒鐘。
12.緩慢轉動曲軸一整圈,然后更換噴油器噴
嘴。
進氣系統
•拆下空氣濾清器組件。如有必要,拆下空氣濾清
器組件和渦輪增壓器之間的管路。向渦輪增壓器中
噴灑工具(B)。噴灑持續時間印在容器上。使用防
水膠帶密封渦輪增壓器。
排氣系統
•拆下排氣管。向渦輪增壓器中噴灑工具(B)。噴灑
持續時間印在容器上。使用防水膠帶密封渦輪增
壓器。
通用項目
•如果潤滑油加注口安裝在搖臂室蓋上,拆下加注口
蓋。如果潤滑油加注口蓋未安裝在搖臂室蓋上,則
拆下搖臂室蓋。在搖臂軸組件周圍噴灑工具(B)。
更換加注口蓋或搖臂室蓋。
圖17
g01356026
•使用防水膠帶密封燃油箱通風口或燃油加注口蓋。
•拆下交流發電機的驅動皮帶,并將其貯存。
1.確保車輛位于水平地面上。
2.拆下冷卻系統的加注口蓋。
•為防止腐蝕,使用工具(C)噴灑發動機。不得噴灑
交流發電機內部區域。
3.從氣缸體側拆卸排放螺塞 (1),以便排放發動
機。確保排放孔未被堵塞。
在根據以上說明完成所有發動機保護后,將不會
有腐蝕的情況發生。珀金斯不對發動機在保養一
段時間后貯存中發生的損壞負責。
4.打開蓋子,拆下散熱器底部的排放螺塞,以便
排放散熱器。如果散熱器沒有蓋子或排放螺
塞,則斷開散熱器底部的軟管。
您的珀金斯代理商珀金斯分銷商可以幫助您準
備發動機,以便長期貯存。
5.用清水沖洗冷卻系統。
6.安裝排放螺塞和加注口蓋。蓋上蓋子或連接散
熱器軟管。
7.向冷卻系統注入認可的防凍液混合液,因為它
能防止腐蝕。
This document has been printed from SPI2. NOT FOR RESALE
![]()
![]()
![]()
![]()
![]()

![]()
![]()
SCBU8352
19
儀表和指示燈
儀表和指示燈
儀表和指示燈
轉速表 – 此儀表指示發動機轉速。 在無負
載時,把油門控制桿移動到全油門位置,發
動機在高怠速運轉。 在最大額定負載下,
油門操縱桿在全油門位置,發動機在滿負載轉速下運
轉。
i03616444
儀儀表表和和指指示示燈燈
注意
為幫助防止發動機受到損害,切勿超過高怠速轉速。
超速可能導致對發動機的嚴重損害。 發動機可以在高
怠速運行而不受損害,但應絕不許超過高怠速轉速。
您的發動機上的儀表可能與下述儀表不同或不具
備所有下述儀表。更多有關儀表組的資料,請參
閱OEM資料。
儀表用來指示發動機性能。確保儀表處于良好的
工作狀態。觀察儀表一段時間之后,您就能確定
正常的運行范圍。
電流表 – 此儀表指示蓄電池充電電路中的充
電或放電量。 儀表指針應在 “0” (零)位
右側動作。
儀表讀數的顯著變化表明潛在的儀表或發動機問
題。即使儀表讀數在規格范圍內,其讀數變化也
可能表明存在問題。確定和糾正導致任何讀數顯
著變化的原因。請向您的珀金斯代理商或您的
珀金斯分銷商尋求幫助。
燃油油位 – 此儀表指示燃油箱中燃油的液
位。 燃油油位表在 “起動/停機 (START/
STOP)” 開關在 “接通 (ON)” 位置時工作。
工時計 – 此儀表指示發動機的運行時間。
注意
如果顯示無機油壓力,應將發動機停機。 如果發動機
冷卻液超出了最高冷卻液溫度,停止發動機。 否則會
導致發動機損壞。
發動機機油壓力 – 冷態發動機起動后,機油
壓力應在最大值。 在額定轉速下,典型的
SAE10W30 發動機機油壓力為
207 至 413 kPa (30 至 60 psi)。
低怠速時油壓低是正常的。如果負載穩定但儀表
讀數變化,進行以下步驟:
1.1.卸掉負載。
2.2.降低發動機轉速至低怠速。
3.3.檢查和保持機油油位。
水套水冷卻液溫度表 – 典型溫度范圍是
71 至 96 °C (160 至 205 °F)。 壓力為
48 kPa (7 psi) 的加壓冷卻系統的最高容許
溫度為 110 °C (230 °F)。 在某些情況下可能會有更
高的溫度。 隨著負荷的不同,發動機冷卻液溫度讀數
不同。 對于正在使用中的增壓系統,讀數應永遠不能
超過沸點。
如果發動機在正常范圍內運轉且有蒸汽生成,則
進行下列程序:
1.1.降低負載和發動機轉速。
2.2.檢查冷卻系統是否滲漏。
3.3.決定是否必須立即關閉發動機,或者是否可以
通過減少負載使發動機冷卻。
This document has been printed from SPI2. NOT FOR RESALE
![]()
![]()
![]()
![]()
![]()
![]()
![]()
![]()
![]()
![]()
![]()
20
SCBU8352
功能部件和控制裝置
燃油關斷
功能部件和控制裝置
i03018536
燃燃油油關關斷斷
燃油切斷電磁閥位于噴油泵上。
當燃油切斷電磁閥被激活時,電磁閥將移動到
“開啟”位置。
當燃油切斷電磁閥未被激活時,電磁閥將移動到
“關閉”位置。
This document has been printed from SPI2. NOT FOR RESALE
![]()
SCBU8352
21
發動機起動
發動機起動前
發動機起動
•如果發動機起動開關或操縱裝置上系有一個 “不準
操作”警告標簽或類似的警告標簽,切勿起動發動
機或移動任何操控裝置。
i03018562
•確保運轉部件的周圍無異物。
發發動動機機起起動動前前
•所有護罩必須在位。檢查是否有損壞或遺失的護
罩。修理任何損壞的護罩。更換損壞和/或丟失的
護罩。
起動發動機前,先進行所需的日常保養和其他定
期保養。詳細資料請參考操作和保養手冊保養周
期表。
•斷開所有未針對接合電動起動馬達時產生的高耗用
電流加以防護的蓄電池充電器。檢查電纜和蓄電
池是否有連接不良和腐蝕。
•為使發動機達到其最大使用壽命,起動發動機之
前,請對發動機室做徹底檢查。查看以下項目:
機油泄漏,冷卻液泄漏,松動的螺栓和過量臟物
和/或油泥.清除堆積的過量臟物和油泥。對檢查
過程中發現的故障進行修理。
•復位所有關停裝置或報警部件(如有配備)。
•檢查發動機潤滑油油位。將油位保持在發動機油
尺的 “最小(MIN)”標記和 “最大(MAX)”標記之
間。
•檢查冷卻系統軟管是否有裂紋和松動的卡箍。
•檢查冷卻液液位。觀察在冷卻液上水箱(如有配
備)中的冷卻液液位。保持冷卻液上水箱中的冷
卻液液位在 “滿(FULL)”標記。
•檢查交流發電機和附屬傳動皮帶是否有裂紋、斷裂
和其它損壞。
•檢查線路和線束是否連接松動,導線是否磨損或擦
傷。
•如果發動機沒有配備冷卻液上水箱的話,應將冷卻
液油位保持在加注管底部以下13mm(0.5in)之
內。如果發動機配備目測表,保持冷卻液液位在
目測表內。
•檢查燃油供油。放掉油水分離器(如有配備)中
的積水。打開燃油供應閥(如有配備)。
•檢查空氣濾清器保養指示器(如有配備)。當黃
膜片進入紅色區或紅色活塞鎖止在可視位置時,要
保養空氣濾清器。
注意
在發動機運行之前和期間必須打開燃油回油管上的所
有閥門,以便防止燃油壓力過高。 燃油壓力高可能導
致濾清器殼體故障或其它損壞。
•確保所有由發動機驅動的設備已從發動機上分離。
最大限度降低電氣負載和卸掉任何電氣負載。
如果發動機數周未起動過,燃油可能從燃油系統
中泄掉。空氣可能進入濾清器殼體。并且更換
燃油濾清器時,一些氣泡將被困在發動機燃油系
統中。在這些情況下,請用手油泵注油。更多
有關泵注燃油系統的信息資料,請參考操作和保
養手冊燃油系統-泵注。
i03616446
發發動動機機起起動動
不不要要使使用用類類似似乙乙醚醚的的噴噴霧霧式式起起動動輔輔助助裝裝置置。。否否則則可可
能能導導致致爆爆炸炸和和人人身身傷傷害害。。
發發動動機機排排氣氣含含有有對對人人體體有有害害的的燃燃燒燒產產物物。。必必須須在在良良
好好通通風風的的場場所所起起動動和和運運轉轉發發動動機機,,如如果果在在封封閉閉場場
所所,,要要將將廢廢氣氣排排到到外外面面去去。。
請參閱操作和保養手冊查尋您的控制裝置類型。
使用下述步驟來起動發動機。
1.1.如有配備,在起動發動機前,將油門桿移動到
全油門位置。
注意
發動機盤車時間不要超過30秒鐘。 再次盤車前,讓起
動馬達先冷卻2分鐘。
This document has been printed from SPI2. NOT FOR RESALE
![]()
![]()
![]()
![]()
![]()
![]()
![]()
![]()
![]()
2.2.將發動機起動開關轉到起動(START)
位置。
4.4.當發動機起動時,松開發動機起動開關鑰匙。
22
SCBU8352
發動機起動
寒冷天氣起動
將發動機起動開關保持在起動(START)位置并
盤動發動機。
5.5.如果發動機沒有起動,松開發動機起動開關,
使電動起動馬達冷卻。然后,重復步驟2至步
驟4。
3.3.當發動機起動時,松開發動機起動開關。
4.4.如有配備,將油門桿緩慢放入低怠速位置,允
許發動機怠速運轉。請參閱操作和保養手冊起
動發動機后主題。
6.6.如果發動機配備油門,讓發動機怠速運行3至5
分鐘,或讓發動機怠速運行直到水溫指示器開
始上升。發動機應在怠速平穩運轉直到速度逐
漸上升到高怠速。進行正常操作之前讓白煙消
散。
5.5.如果發動機沒有起動,松開發動機起動開關,
使電動起動馬達冷卻。然后,重復步驟2至步
驟4。
7.7.在低怠速運行發動機直到所有系統達到工作溫
度。暖機期間,檢查儀表。
6.6.轉動發動機起動開關鑰匙至斷開(OFF)(斷
開)位置以停止發動機。
8.8.轉動發動機起動開關鑰匙至斷開(OFF)(斷
開)位置以停止發動機。
i03616467
i03840672
寒寒冷冷天天氣氣起起動動
用用跨跨接接起起動動電電纜纜起起動動
不不要要使使用用類類似似乙乙醚醚的的噴噴霧霧式式起起動動輔輔助助裝裝置置。。否否則則可可
能能導導致致爆爆炸炸和和人人身身傷傷害害。。
不不正正確確的的跨跨接接起起動動電電纜纜連連接接會會引引起起爆爆炸炸,,造造成成人人身身
傷傷害害。。
使用水套加熱器或額外蓄電池容量,在低于
−18°C(0°F)時,機器的可起動性將提高。
防防止止在在蓄蓄電電池池周周圍圍產產生生火火花花。。火火花花會會引引起起氣氣體體爆爆
炸炸。。不不要要讓讓跨跨接接起起動動電電纜纜端端部部互互相相接接觸觸或或與與發發動動機機
接接觸觸。。
在寒冷天氣使用第2組柴油時,以下項目提供了
最大限度降低起動問題和燃油問題的手段:發動
機油底殼加熱器,水套水加熱器,燃油加熱器和
燃油管路保溫.
注:如有可能,首先診斷無法起動的原因。進行任何
必要的修理。如果發動機無法起動僅是由于蓄電池的
狀況,給蓄電池充電,或者使用跨接起動電纜起動發
動機。
寒冷天氣起動時采用以下步驟。
在發動機關閉后,還可再次檢查蓄電池的狀況。
1.1.如有配備,在起動發動機前,將油門桿移動到
全油門位置。
注意
使用一個與電起動馬達有相同電壓的蓄電池電源。 跨
接起動只允許使用相同電壓。 使用更高電壓會損壞電
氣系統。
2.2.如有配備,將發動機起動開關轉到加熱
(HEAT)位置。將發動機起動開關在加熱
(HEAT)位置保持6秒鐘,直到預熱塞指示燈點
亮。這將啟用預熱塞,幫助發動機進行起動。
不要反向連接蓄電池電纜。 否則交流發電機可能損
壞。 接地電纜要在最后連接并要最先斷開。
當使用外部電源起動發動機時,將發動機操控開關旋
至 “斷開(OFF)” 位置。 在連接跨接起動電纜之前,將
所有電氣附件關閉。
注意
發動機盤車時間不要超過30秒鐘。 再次盤車前,讓起
動馬達先冷卻2分鐘。
在將跨接起動電纜連接到被起動發動機之前,確保主
電源開關是在斷開(OFF)位置。
3.3.預熱塞指示燈點亮的同時,將發動機起動開關
轉到起動(START)位置,拖動發動機。
1.1.將起動開關轉到斷開(OFF)位置。關閉所有發
動機附件。
注:如果預熱塞指示燈短暫點亮r2至3秒鐘或預熱塞
指示燈不亮,說明冷起動系統中有故障。不要使用乙
醚或其它起動液體來起動發動機。
This document has been printed from SPI2. NOT FOR RESALE
![]()
![]()
![]()
![]()
![]()
![]()
![]()
![]()
![]()
SCBU8352
23
發動機起動
發動機起動后
2.2.將跨接起動電纜的一個正極端連接到已放電蓄
電池的正極電纜端子。將跨接起動電纜的另一
正極端連接到電源的正極電纜接線端子上。
3.3.將跨接起動電纜的一個負極端連接到電源的負
極電纜接線端子上。將跨接起動電纜的另一端
連接到發動機氣缸體或底盤接地點。這一步驟
有助于防止潛在火花點燃某些蓄電池產生的易
燃氣體。
4.4.起動發動機。
5.5.在起動熄火的發動機之后,馬上以相反順序斷
開跨接起動電纜。
跨接起動后,交流發電機可能不會把嚴重放電的
蓄電池重新充足電。發動機停止后,必須更換蓄
電池或對蓄電池充電到正確電壓。許多蓄電池被
認為是不能再使用了,但仍可以重新充電使用。
請參閱操作和保養手冊蓄電池-更換和測試和調
整手冊蓄電池-測試。
i03018716
發發動動機機起起動動后后
注:溫度在0至60°C(32至140°F)時,暖機時間
大約需要3分鐘。溫度低于0°C(32°F)時,可能
需要額外的暖機時間。
當發動機暖機怠速時,觀察以下情況:
•向發動機施加負荷之前,在怠速和最高轉速(發動
機無負荷時)的一半轉速時,檢查是否有液體或氣體
滲漏。在某些應用情況下這樣做不可能。
•低怠速運行發動機,直到所有系統達到工作溫度。
暖機期間,檢查所有儀表。
注:發動機運行時,應觀察儀表讀數,經常記錄數
據。比較長期數據將有助于確定每一個儀表的正常讀
數。比較長期數據還將有助于發現非正常運行情況的
發展變化。應查明讀數發生重大變化的原因。
This document has been printed from SPI2. NOT FOR RESALE
![]()
24
SCBU8352
發動機運行
發動機運行
發動機運行
燃油受熱會膨脹。燃油可能會從燃油箱溢出。
檢查燃油管路是否有滲漏。對燃油管路進行所需
的維修。
i02856952
•知道不同燃油的特性。只使用推薦的燃油。
•避免不必要的怠速運轉。
發發動動機機運運行行
使發動機停機而不是長時間怠速運行。
正確操作和保養是獲得發動機的最大使用壽命和
經濟性的關鍵因素。如果按照操作和保養手冊中
的指示去做,使用費用可以降至最低,使用壽命
可以最大限度地延長。
•頻繁觀察空氣濾清器保養指示器。保持空氣濾清器
濾芯清潔。
•保養電氣系統
在達到工作溫度后發動機就可以在額定轉速下運
行。發動機在低發動機轉速和低功率需求時達到
正常工作溫度將會快些。此程序比發動機空載怠
速運轉更有效。發動機應在數分鐘內達到工作溫
度。
一個壞的蓄電池電池會使交流發電機過度工作。
這將消耗額外的功率和燃油。
•確保驅動皮帶調整正確。驅動皮帶應狀況良好。
•確保所有軟管連接緊密。連接處不應泄漏。
•確保被驅動設備狀況良好。
發動機運行時,應觀察儀表讀數,經常記錄數
據。比較長期數據將有助于確定每一個儀表的正
常讀數。比較長期數據還將有助于發現非正常運
行情況的發展變化。應查明讀數發生重大變化的
原因。
•冷發動機消耗額外的燃油。盡可能利用來自水套
水系統和排氣系統的熱量。保持冷卻系統部件清
潔和得到良好維護。決不能運轉未安裝水溫調節
器的發動機。所有這些項目將有助于保持運行溫
度。
i03616471
發發動動機機暖暖機機
1.1.怠速運轉發動機3至5分鐘,或怠速運轉發動機
直到水套水溫度開始上升。
當氣溫低于-18°C(0°F)時,可能需要更長
時間。
2.2.暖機期間檢查所有儀表。
3.3.圍繞機器周圍檢查一圈。檢查發動機是否有
液體和氣體滲漏。
4.4.把轉速提高到額定轉速。檢查是否有液體和
氣體滲漏。當水套水溫達到60°C
(140°F時,發動機可以在滿額定轉速和滿負
荷下運轉)。
i03018699
燃燃油油省省油油準準則則
發動機的效率會影響燃油經濟性。珀金斯的設
計和制造工藝為所有應用類型帶來最高的燃油效
率。遵循建議的程序以便獲得發動機使用壽命期
的最佳性能。
•避免燃油溢出。
This document has been printed from SPI2. NOT FOR RESALE
![]()
SCBU8352
25
發動機停機
發動機停機
發動機停機
•檢查曲軸箱機油油位。將機油油位保持在機油油
尺上的 “添加”標記和 “滿”標記之間。
i03616465
•如有必要,進行小的調整。修理每一處泄漏并擰
緊所有松動的螺栓。
發發動動機機停停機機
•請注意要求的保養周期。按本操作和保養手冊保
養周期表所述進行保養。
•加滿燃油箱以便于防止燃油中積聚濕氣。燃油箱
不要加油過滿。
注意
發動機帶負荷運轉后立即停機會引起過熱并加快發動
機零部件的磨損。
注意
如果發動機已在高速和/或大負荷下持續運轉過,使發
動機停機之前,至少在低怠速運轉發動機 3分鐘以降
低和穩定發動機內部溫度。
在本操作和保養手冊中的加注容量和建議標題下只能
使用推薦的防凍劑/冷卻液混合液。不這樣做會造成發
動機損壞。
避免發動機熱態停機可增加渦輪增壓器軸和軸承的壽
命。
停止在低負載運轉的發動機之前,以低怠速運轉
發動機30秒鐘。如果發動機一直在高轉速和/或
高負荷運轉,停機前以低怠速運轉發動機至少3
分鐘。此步驟將使發動機內部溫度得以降低和穩
定下來。
加加壓壓的的系系統統::熱熱的的冷冷卻卻液液能能造造成成嚴嚴重重的的燙燙傷傷。。在在發發
動動機機停停機機,,等等待待冷冷卻卻系系統統部部件件冷冷卻卻下下來來后后再再打打開開冷冷
卻卻系系統統加加注注口口蓋蓋。。緩緩慢慢松松開開冷冷卻卻系系統統加加注注口口蓋蓋,,以以
釋釋放放掉掉所所有有壓壓力力。。
確保已了解了發動機的停機步驟。停機應按照發
動機上安裝的停機系統或參閱原始設備制造商提
供的說明來進行。
•讓發動機冷卻。檢查冷卻液液位。
•如果預料到結凍溫度,要檢查冷卻液的防凍保護是
否正確。必須保護冷卻系統,以防其在預計的最
低外部溫度下結凍。如有必要,添加正確的冷卻
液/水混合液。
•為停止發動機,應將起動鑰匙開關轉到斷電(OFF)
位置。
i03018541
•對所有從動設備進行必需的定期保養。此保養會
在OEM的使用說明書中述及。
緊緊急急停停機機
注意
緊急停機控制裝置只用于緊急情況。 切勿把緊急停機
裝置或控制裝置用于正常的停機過程。
OEM可能已裝配了緊急停機按鈕。更多關于緊急
停機按鈕的信息,請參閱OEM資料。
確保發動機停機后支持發動機運行的外部系統的
所有部件安全可靠。
i06151131
發發動動機機停停機機后后
注:檢查發動機機油之前,停止運行發動機至少10分
鐘以便使發動機機油回到油底殼。
This document has been printed from SPI2. NOT FOR RESALE
![]()
![]()
![]()
![]()
![]()
![]()
![]()
![]()
![]()
26
SCBU8352
寒冷天氣操作
寒冷天氣操作
寒冷天氣操作
寒冷天氣操作建議
•如果發動機能夠起動,應運轉發動機直到達到
81°C(177.8°F)的最低工作溫度。達到工作溫
度將有助于防止進排氣門膠結。
i03018686
寒寒冷冷天天氣氣操操作作
•發動機的冷卻系統和潤滑系統不會緊隨停機立即散
失所有熱量。這意味著發動機在停機一段時間后
仍有能力輕易起動。
珀金斯柴油發動機能在寒冷天氣下有效運轉。在
寒冷天氣下柴油發動機機的起動和運轉取決于以
下各項:
•寒冷天氣到來之前,加注達到正確技術參數的發動
機潤滑劑。
•使用的燃油的型號
•發動機機油的黏度
•預熱塞的工作
•檢查所有橡膠零件(軟管、風扇傳動皮帶等)。
•檢查所有電氣接線和連接有無任何磨損和絕緣層損
壞現象。
•保持所有蓄電池充足電和溫熱。
•在每次輪班結束時加滿燃油箱。
•選裝的冷起動輔助裝置
•蓄電池狀態
•每天檢查空氣濾清器和進氣口。當在下雪天運轉
時應更頻繁地檢查進氣口。
本節將介紹下列資料:
•寒冷天氣下運轉引發的潛在問題
•確保預熱塞正常工作。請參閱測試和調整手冊預
熱塞-測試。
•為最大限度減少環境空氣溫度在0至 −40°C
(32至 − 40°F)時的起動問題和運轉問題而采取的
建議步驟。
在結凍溫度下發動機的操作和保養非常復雜。這
是由于下述情況造成的:
酒酒精精或或起起動動液液會會造造成成人人身身傷傷害害或或財財產產損損壞壞。。
酒酒精精或或起起動動液液是是高高度度易易燃燃品品并并且且有有毒毒,,如如果果儲儲存存不不
當當,,會會造造成成人人身身傷傷害害或或財財產產損損壞壞。。
•天氣情況
•發動機應用類型
您的珀金斯代理商或珀金斯分銷商所提出的建
議是基于以往的可靠實踐。本部分所包含的信息
為寒冷天氣的操作提供指導。
不不要要使使用用類類似似乙乙醚醚的的噴噴霧霧式式起起動動輔輔助助裝裝置置。。否否則則可可
能能導導致致爆爆炸炸和和人人身身傷傷害害。。
•有關寒冷天氣下使用電纜進行跨接起動的資料,請
參閱操作和保養手冊使用跨接起動電纜起動中的說
明。
發動機潤滑油粘度
使用具有正確粘度的發動機機油是非常有必要
的。油的黏度影響盤車扭矩的數值。請參閱本
維修和保養手冊油液建議了解推薦的機油黏度。
推薦使用的冷卻液
該冷卻液應向冷卻系統提供針對最低預期外界溫
度的保護。請參閱本維修和保養手冊油液建議了
解推薦的冷卻液混合液。
寒冷天氣時,應經常檢查冷卻液的乙二醇的濃度
是否正確,以確保足夠的防凍保護能力。
This document has been printed from SPI2. NOT FOR RESALE
![]()
![]()
![]()
![]()
![]()
SCBU8352
27
寒冷天氣操作
燃油和寒冷天氣的影響
發動機缸體加熱器
此外,發動機必須徹底暖機以使發動機上的其它
零件處于更好的狀況,發動機的使用壽命通常來
講將會延長。潤滑將會得到改善。機油中的酸
和油泥將會減少。這將會使發動機軸承、活塞環
和其它零件具有更長的使用壽命。然而,將不必
要的怠速時間限定在十分鐘以降低磨損和不必要
的油耗。
發動機缸體加熱器(如果配備)加熱燃燒室周圍
的發動機缸套水。該加熱器可提供下列功能:
•改善起動性能。
•縮短暖機時間。
一旦發動機停機,缸體電加熱器即可通電工作。
有效缸體加熱器的典型電功率為1250/1500W單
位。請咨詢您的珀金斯代理商或您的珀金斯分
銷商以獲得更多信息。
水溫調節器和絕緣加熱器管路
發動機裝配了一個水溫調節器。當發動機冷卻液
低于正確工作溫度時,缸套水經過發動機缸體循
環進入發動機缸蓋。然后,冷卻液通過環繞冷卻
液溫度調節器的內部通道回流到缸體。它能確保
冷卻液在寒冷運行環境下流經發動機。在發動機
缸套水已達到正確的最低工作溫度時,水溫調節
器被打開。當缸套水冷卻液溫度超過最低工作溫
度時,水溫調節器將開的更大,以便更多的冷卻
液流經散熱器以散發過多熱量。
發動機怠速運轉
當寒冷天氣下發動機起動后怠速運轉時,將發動
機轉速提高到1000至1200rpm。這將更快地使
發動機暖機。如果安裝了手動油門,使用該控制
裝置使長時間將發動機轉速保持在提升了的低怠
速轉速的操作更加容易。發動機不應通過“高速
運轉”來加快暖機過程。
水溫調節器的漸進式開口可漸進關閉缸體和缸蓋
之間的旁通道。這確保了至散熱器的最大冷卻液
流量,以便獲得最佳的散熱效果。
發動機怠速運轉過程中,施加輕載(附加載荷)
將會有助于保持最低工作溫度。最低工作溫度為
82°C(179.6°F)。
注:珀金斯不鼓勵使用所有氣流限制裝置,例如散熱
器簾。氣流的限制會引起以下后果:排氣溫度高,功
率損失,風扇使用過度和燃油經濟性降低.
冷卻液升溫建議
使因不工作而冷卻到正常工作溫度以下的發動機
升溫。這一操作應在發動機返回到全額操作狀態
之前進行。在非常寒冷的天氣條件下運轉期間,
發動機短時間運轉會導致發動機氣門機構損壞。
如果發動機起動后又停機許多次,而沒有加以運
轉以便徹底暖機,上述情況將會發生。
駕駛室加熱器在極冷天氣條件下十分有用。來自
發動機的供應管和來自駕駛室的回路管應絕緣,
以降低向外排放的熱量損失。
對進氣口和發動機室進行隔熱處理
當頻繁遇到外界溫度低于−18°C(−0°F)的天
氣條件時,可規定將空氣濾清器進口置于發動機
室內。位于發動機室的空氣濾清器也可以最大限
度地減少雪進入空氣濾清器。同時,發動機隔絕
的熱量有助于加熱進氣。
當發動機低于正常工作溫度運轉時,燃燒室內的
燃油和機油無法完全燃燒。這些燃油和機油導致
氣門桿上形成軟積碳。通常來講,這些積碳不會
引發問題,它們可以在發動機處于正常工作溫度
時被燒掉。
通過對發動機室進行隔熱處理,可使發動機周圍
的熱量得以保留。
當發動機起動后又停機許多次,而沒有加以運轉
以便徹底暖機時,這些積碳將會積厚。這將導致
下列問題:
i03018726
•氣門無法自如工作
燃燃油油和和寒寒冷冷天天氣氣的的影影響響
•氣門發卡。
•推桿可能會彎曲。
注:僅使用珀金斯推薦等級的燃油。請參閱本操作和
保養手冊油液建議。
•還可對氣門系部件造成其它損壞。
籍此原因,起動后,發動機必須加以運轉,直到
冷卻液溫度達到至少71°C(160°F)。這樣就
可使氣門桿上的積碳保持最少,并使氣門和氣門
部件能夠自如工作。
本系列發動機可使用下列燃油。
•第1組
•第2組
•第3組
•專用燃油
This document has been printed from SPI2. NOT FOR RESALE
![]()
28
SCBU8352
寒冷天氣操作
寒冷天氣下與燃油有關的部件
在本系列發動機中,珀金斯僅首選使用第1組和
第2組的燃油。
更多有關寒冷天氣條件下操作的信息,請參閱操
作和保養手冊寒冷氣候條件的操作和燃油相關部
件。
第1組燃油是珀金斯普遍使用的首選燃油組。
第1組燃油能夠最大化發動機的使用壽命和性
能。與第2組燃油相比,第1組燃油可用性較
小。通常,在冬季寒冷氣候條件下無法使用第1
組燃油。
i03018697
寒寒冷冷天天氣氣下下與與燃燃油油有有關關的的部部件件
注:第2組燃油必須具有650微米的最大磨損斑痕
(HFRR至ISO12156-1)。
燃油箱
在保修條款中,第2組燃油被視為可以接受。本
組燃油可能會降低發動機的使用壽命、發動機的
最大功率和燃油效率。
未注滿的燃油箱可能形成水汽凝結。在您運行發
動機后加滿燃油箱。
燃油箱應包括一些從底部放出水和沉積物的設
施。有些油箱使用的供油管其管端在燃油箱中的
位置高于水和沉渣的沉積層。
使用第2組柴油時,以下部件提供了一種最大限
度減少寒冷天氣下出現的問題的方法:
•預熱塞(如有配備)
有些燃油箱使用的供油管直接從燃油箱底部取
油。如果發動機配備了這種系統,定期保養燃油
系統濾清器相當重要。
•發動機冷卻液加熱器,可能為OEM選裝件。
•燃油加熱器,可能為OEM選裝件。
•燃油管絕緣件,可能為OEM選裝件。
在以下情況下從燃油儲油箱中放掉水和沉渣:每
周,換機油時和向燃油箱加油時.這樣將有助于
防止水和沉渣被從儲油箱中泵吸進發動機燃油箱
中。
第1組燃油和第2組燃油之間有三個主要差別。
與第2組燃油相比,第1組燃油具有下列不同特
性。
燃油濾清器
•濁點較低
可能會有一個燃油粗濾器安裝在燃油箱和發動機
燃油進口之間。更換燃油濾清器之后,要泵注燃
油系統以便從燃油系統中驅除氣泡。更多有關泵
注燃油系統的信息資料,請參考操作和保養手冊
保養部分。
•傾點較低
•單位容量燃油的更高能量
注:第3組燃油會減少發動機的使用壽命。使用第3
組燃油不在珀金斯的保修范圍內。
寒冷天氣操作時,燃油粗濾器的微米等級和位置
相當主要。燃油粗濾器和供油管是最常見的受冷
態燃油影響的部件。
第3組燃油包括低溫燃油和航空煤油。
專用燃油包括生物燃油。
燃油加熱器
濁點是指燃油中開始形成石蠟晶體的溫度。這些
晶體可能導致燃油濾清器堵塞。
注:OEM可能會配備燃油加熱器。如果是這種情況的
話,溫暖天氣下應斷開燃油電熱器,以防燃油過熱。
如果燃油加熱器的類型采用熱交換器,OEM應加裝一
個溫暖天氣下使用的旁通設備。確保溫暖天氣下旁通
設施正常工作,以防燃油過熱。
傾點是柴油將要變稠的溫度。柴油在流過燃油
管、燃油濾清器和燃油泵時的阻力變大。
購買柴油時,留心這些數值。考慮發動機應用的
平均環境溫度。在某一氣候條件下加油運轉良好
的發動機,如果被移動到不同的氣候條件下運行
時可能不然。溫度變化可能會引發問題。
更多有關燃油加熱器(如有配備)的信息,請參
閱OEM資料。
在冬季進行功率低或性能差的故障診斷與排除
前,先檢查燃油是否析蠟。
在低于0°C(32°F)的溫度下,發動機可能需
要使用低溫燃油。這些燃油限制了低溫條件下燃
油中蠟的生成。
This document has been printed from SPI2. NOT FOR RESALE

SCBU8352
29
保養部分
加注容量
保養部分
加注容量
表 5
1103D 帶機油冷卻器的自然吸氣式發動機和渦輪增壓式發
動機
腔室或系統
升
夸脫
只對發動機
4.43
4.02
i06151120
外部冷卻系統容量(OEM 推薦)(1)
冷卻系統總容量(2)
加加注注容容量量
(1)
外部冷卻系統包括一個散熱器或一個帶有下列部件的膨脹箱:
熱交換器, 后冷器 和 管道。 請參閱 OEM 技術規格。 在此行中
輸入外部系統容量的值。
整個冷卻系統包括發動機冷卻系統的容量以及外部冷卻系統的
潤滑系統
(2)
容量。 將總容量填入此行中。
發動機曲軸箱的加注容量反映了曲軸箱的近似容
量或集油槽與標準機油濾清器容量之和。輔助機
油濾清器系統需要額外的機油。有關輔助機油濾
清器的容量大小,請參閱OEM技術規格。關于潤
滑劑規格的其他資料見操作和保養手冊保養部
分。
i06151119
油油液液建建議議
1103D發動機
冷卻系統技術規格
表 3
一般冷卻液信息
1103D 發動機
腔室或系統
升
夸脫
注意
發動機曲軸箱標準油底殼(1)
6.5
7
切勿向過熱的發動機中添加冷卻液。 發動機可能因此
而損壞。 應首先使發動機冷卻。
(1)
這些數值是曲軸箱油底殼的近似容量,其中包括工廠安裝的標
準機油濾清器的容量。 安裝了輔助機油濾清器的發動機將需要
額外的機油。 有關輔助機油濾清器的容量大小,請參閱 OEM
技術規格。
注意
冷卻系統
如果發動機貯存在或裝運到低于結凍溫度的區域,冷
卻系統必須在最低外界溫度下受到保護,或者完全放
掉以防止損壞。
為了正確保養冷卻系統,必須知道冷卻系統總容
量。下表列出了發動機冷卻系統的近似容量。
外部系統容量將隨應用的不同而變化。有關外部
系統的容量,請查閱原始設備制造商(OEM)的
規格。需要知道這個容量數據以便確定整個冷卻
系統需要多少冷卻液/防凍液。
注意
為了妥當地防凍和防沸騰, 要常常檢查冷卻液的比
重。
1103D發動機
基于以下原因,應清潔冷卻系統:
•冷卻系統受到污染
•發動機過熱
表 4
1103D 不帶機油冷卻器的自然吸氣式發動機
腔室或系統
升
夸脫
只對發動機
4.21
4
•冷卻液起泡
外部冷卻系統容量(OEM 推薦)(1)
冷卻系統總容量(2)
注意
切勿在冷卻系統中未裝水溫調節器的情況下運行發動
機。 水溫調節器幫助保持發動機冷卻液處于正確的工
作溫度。 未裝水溫調節器時,冷卻系統可能逐漸會產
生故障。
(1)
外部冷卻系統包括一個散熱器或一個帶有下列部件的膨脹箱:
熱交換器, 后冷器 和 管道。 請參閱 OEM 技術規格。 在此行中
輸入外部系統容量的值。
整個冷卻系統包括發動機冷卻系統的容量以及外部冷卻系統的
(2)
容量。 將總容量填入此行中。
許多發動機故障與冷卻系統有關。以下問題與冷
卻系統故障有關:過熱,水泵泄漏和散熱器或熱
交換器堵塞。
This document has been printed from SPI2. NOT FOR RESALE



![]()
![]()
![]()
![]()
![]()
![]()
![]()
![]()
![]()
30
SCBU8352
加注容量
油液建議
這些故障可以通過正確的冷卻系統保養來加以避
免。冷卻系統的保養與燃油系統和潤滑系統的保
養一樣重要。冷卻液的質量與燃油和潤滑油的質
量一樣重要。
•凝膠體的生成
•傳熱的減少
•水泵密封件的泄漏
•散熱器、冷卻器和細小通道的堵塞
冷卻液通常由三種成分組成:水,添加劑和乙二
醇。
乙二醇
水
冷卻液中的乙二醇幫助提供保護,防止以下情況
的發生:
水在冷卻系統中被用來傳遞熱量。
建議在發動機冷卻系統中使用蒸餾水或去離子
水。
•沸騰
•結凍
請勿在冷卻系統中使用以下類型的水:硬水,用
鹽調節后的軟化水和海水。
•水泵氣穴
如果沒有蒸餾水或去離子水,使用具有表6內所
列特性的水。
為獲得最佳性能,Perkins建議使用水/乙二醇溶
液1:1的混合液。
表 6
注:使用將會在最低環境溫度下提供保護的混合液。
可使用的水
特性
最高限值
注:100%的純乙二醇將在溫度為 −23°C(− 9°F)時
凍結。
氯化物(Cl)
40 mg/L
大多數傳統防凍劑使用乙二醇。也可以使用丙二
醇。當與水按照1:1比例混合時,乙二醇和丙二
醇提供相似的防凍和防沸騰保護。請參閱表7
和8。
硫酸鹽(SO )
100 mg/L
170 mg/L
4
總硬度
總的固體含量
酸度
340 mg/L
表 7
pH 值為 5.5 至 9.0
乙二醇
濃度
50%
60%
防凍保護
防沸騰保護
有關水質分析,請咨詢以下渠道之一:
•當地自來水公司
−36 °C (−33 °F)
106 °C (223 °F)
−51 °C (−60 °F)
111 °C (232 °F)
•農業機構
•獨立實驗室
注意
由于丙烯乙二醇的熱傳遞能力降低,使用丙烯乙二醇
時乙二醇的濃度不得超過50%。 需要額外的防凍和防
沸保護時,可使用乙烯乙二醇。
添加劑
添加劑幫助保護冷卻系統的金屬表面。缺乏冷卻
液添加劑或添加劑量不足能夠促使以下情況的發
生:
表 8
丙二醇
•腐蝕
濃度
防凍保護
防沸騰保護
•礦物沉淀物的生成
•銹蝕
50%
−29 °C (−20 °F)
106 °C (223 °F)
要檢查冷卻液中的乙二醇濃度,請測量冷卻液比
重。
•水垢
•冷卻液起泡
推薦的冷卻液
在發動機運行期間,許多添加劑會耗盡。這些添
加劑必須周期性補充。
下面兩種冷卻液用在Perkins柴油發動機上:
首選–Perkins長效冷卻液(ELC)
必須添加添加劑達到正確的濃度。添加劑濃度過
高會引起抑制劑從溶液中析出。這些沉淀物可能
促使以下問題的發生:
This document has been printed from SPI2. NOT FOR RESALE



![]()
![]()
![]()
可接受 –符合ASTMD4985技術規格的市售重負
荷防凍劑
中有一種按1:1比例預先與蒸餾水混合的冷
SCBU8352
31
加注容量
油液建議
(−33°F)的防凍保護。建議在冷卻系統初次加
注時使用這種預混合ELC。也推薦在添補冷卻系
統時使用這種預混合ELC。
注意
不要使用僅符合 ASTM D3306 技術參數的市售冷卻
液/防凍液。 這類冷卻液/防凍劑是為輕型汽車應用而
配制的。
還可提供一種ELC濃縮液。ELC濃縮液可用于在
極寒冷氣候下降凍結點降低到 −51°C
(−60°F)。
有幾種不同尺寸的容器可供選用。請向您的
Perkins代理商或您的Perkins分銷商咨詢零
件號。
Perkins建議水和乙二醇的混合配比為1:1。這
種乙二醇與水的混合液作為防凍液能達到最佳的
重負荷性能。如果需要提供極冷條件下的保護,
水/乙二醇的比例可提高到1:2。
ELC 冷卻系統保養
注:符合ASTMD4985技術規格的市售重負荷防凍劑在
初次加注時可能需要添加補充用冷卻液添加劑
(SCA)。閱讀產品的標簽或OEM提供的說明。
長效冷卻液的正確添加
在非移動式和船用發動機的應用中,不要求發動
機受到防沸騰或防凍的保護,可以使用冷卻液添
加劑(SCA)和水的混合液。Perkins建議在這
類冷卻系統中將補充用冷卻液添加劑(SCA)的
濃度保持在6%至8%。最好使用蒸餾水或去離子
水。符合推薦水質要求的水也可以使用。
注意
僅對珀金斯產品使用預混合或濃縮冷卻液。
把長效冷卻液與其它產品混合降低長效冷卻液的使用
壽命。 不按照建議去做會降低冷卻系統部件使用壽
命,除非采取正確的補救措施。
如果發動機在超過43°C(109.4°F)的環境溫
度下運行,則必須使用SCA和水。由于季節變
化,發動機需要在高于43°C(109.4°F)或低
于0°C(32°F)的環境溫度下運行時,請咨詢
您的Perkins代理商或您的Perkins分銷商以
進行正確的保護。
為正確保持防凍劑和添加劑之間的平衡,您必須
保持推薦的長效冷卻液(ELC)的濃度。降低防
凍液的比例同樣也會降低添加劑的比例。這將降
低冷卻液防止系統出現點蝕、氣穴、侵蝕和沉積
的能力。
表 9
注意
冷卻液使用壽命
不要使用傳統冷卻液來添補加注了長效冷卻液 (ELC)
的冷卻系統。
冷卻液類型
使用壽命
Perkins ELC
6000 個工作小時或 3 年
不要使用標準補充用冷卻液添加劑 (SCA)。
符合ASTMD4985 要求的市售重
負荷防凍劑
使用珀金斯 ELC 時,不要使用標準冷 SCA 或 SCA
3000 個工作小時或 2 年
3000 個工作小時或 2 年
3000 個工作小時或 2 年
濾清器。
Perkins POWERPART SCA
市售補充用冷卻液添加劑
(SCA)和水
ELC 冷卻系統清潔
注:如果冷卻系統已經在使用ELC,則不需要在規定的
冷卻液更換周期使用清潔劑。只有當系統已經被添加
的一些其他類型的冷卻液或冷卻系統損壞污染時,才
需要使用清潔劑。
長效冷卻液(ELC)
Perkins提供的長效冷卻液(ELC)可用于以下
應用類型:
當ELC被排出冷卻系統后,只需用凈水沖洗。
•重載火花點火式燃氣發動機
•重型柴油發動機
•汽車應用
在排空冷卻系統并重新加注后,在冷卻系統加注
口未加蓋的情況下運行發動機。運行發動機直到
冷卻液液位達到正常工作溫度,冷卻液液位穩
定。需要時,添加冷卻液混合液,把系統加注到
規定的液位。
ELC的防腐成份與其它冷卻液的防腐成份不同。
ELC是以乙二醇為基礎液的冷卻液。但是,ELC
包含有機腐蝕抑制劑和抗沫劑,并且亞硝酸鹽含
量低。PerkinsELC是用適量的這些添加劑配制
而成,以便為發動機冷卻系統中的所有金屬提供
卓越的防腐蝕保護。
更換為 Perkins ELC
要將重負荷防凍劑更換為PerkinsELC,執行以
下步驟:
This document has been printed from SPI2. NOT FOR RESALE

![]()
![]()
![]()
![]()
![]()
![]()
![]()
32
SCBU8352
加注容量
油液建議
•排放冷卻系統中的冷卻液到適當的容器中。按照
當地法規處置冷卻液。用清水沖洗冷卻系統。用
PerkinsELC加注系統。
注意
在檢驗、保養、測試、調整及維修產品時,必須小心
以確保收集好排放出的油液。 在打開任何腔室或拆解
任何儲有液體的部件之前,要準備好用合適的容器收
集液體。
•按照當地法規排放冷卻系統中的部分液體到適當的
容器中。接著,用預混合ELC加注冷卻系統。這
將把污染降低到低于10%。
按照本地法規和指令處置所有液體。
•按照傳統的重負荷冷卻液方法保養系統。用SCA
處理系統。在推薦的傳統重負荷冷卻液的更換周
期更換冷卻液。
1.把冷卻液排放到適當的容器中。
2.按照當地法規處置冷卻液。
市售重負荷防凍和 SCA
3.用清水沖洗冷卻系統以便清除所有碎屑。
注意
不得使用防腐保護系統含有胺 成份的市售重負荷冷卻
液。
4.使用Perkins清洗劑來清洗系統。遵照標簽
上的說明。
5.把清潔劑排放到適當的容器中。用清潔的水
沖洗冷卻系統。
注意
切勿在冷卻系統中未裝水溫調節器的情況下運行發動
機。 水溫調節器幫助保持發動機冷卻液處于正確的工
作溫度。 未裝水溫調節器時,冷卻系統可能逐漸會產
生故障。
6.用清水加注冷卻系統,運轉發動機直到其升溫
到49°C至66°C(120°F至150°F)。
注意
不正確或不徹底沖洗冷卻系統,會損壞銅和其它金屬
部件。
檢查防凍劑(乙二醇濃度)以能夠充分防沸和防
凍。Perkins建議使用折射儀來檢查乙二醇濃
度。
為了避免損壞冷卻系統,確保用清水徹底沖洗冷卻系
統。 繼續沖洗系統,直到清洗劑的所有痕跡消失為
止。
Perkins發動機冷卻系統應當每500小時測試一
次補充用冷卻液添加劑(SCA)的濃度。
7.將冷卻液排入適當的容器,然后用清水沖洗冷
卻系統。
根據測試的結果添加SCA。可能每500小時需要
添加液體的SCA。
請參考表10中SCA的零件號和用量。
注:必須把冷卻系統清潔劑從冷卻系統中沖洗干凈。
留在系統中的冷卻系統清潔劑會污染冷卻液。清潔劑
也可能腐蝕冷卻系統。
表 10
Perkins 液體 SCA
8.重復步驟6和7,直到冷卻系統徹底干凈。
零件號
數量
21825735
10
9.用Perkins預混合ELC加注冷卻系統。
ELC 冷卻系統 污染
初次加注時向重負荷冷卻液添加 SCA
符合ASTMD4985技術規范的市售重負荷防凍劑在
初次加注時可能需要SCA。閱讀產品的標簽或
OEM提供的說明。
注意
注意:長效冷卻液( ELC)與其他產品混合會減弱
ELC 的效果,并 縮短 ELC 的 使用壽命。 僅 使用
Perkins 的預混合或濃縮冷卻液產品。 不遵循這些建
議會縮短冷卻系統部件的使用壽命。
用表11中的計算公式確定初次加注冷卻系統時
所需PerkinsSCA的數量。
表 11
初次加注時向重負荷冷卻液中添加 SCA 的計算公式
V × 0.045 = X
ELC冷卻系統可以承受的最大雜質量為傳統重負
荷防凍劑或SCA的10%。如果污染超過系統總
容量的10%,請執行以下步驟之一:
V 是冷卻系統的總容量。
X 是所需的 SCA 的數量。
This document has been printed from SPI2. NOT FOR RESALE


![]()
![]()
![]()
![]()
![]()
![]()
![]()
![]()
![]()
![]()
![]()
SCBU8352
33
加注容量
油液建議
表12舉例說明了如何使用表11中的公式進行
計算。
i06151118
油油液液建建議議
表 12
初次加注時向重負荷冷卻液中添加 SCA 的示例
冷卻系統的總容量
(V)
乘數
所需的 SCA 的數量
(X)
通用潤滑劑信息
15 L (4 US gal)
× 0.045
0.7 L (24 oz)
鑒于發動機廢氣排放認證方面的政府法規,必須
遵循潤滑劑推薦規程。
保養時向重負荷冷卻液中添加 SCA
發動機制造商協會(EMA) 機油
所有類型的重負荷防凍劑都需要定期添加SCA。
Perkins認可發動機制造商協會對柴油發動機機
油的建議指導原則。有關該指導原則的詳細資
料,請參閱最新版本的EMA出版物,EMADHD-1。
定期測試防凍劑的SCA濃度。有關具體周期,請
參閱操作和保養手冊保養周期表(保養部分)。
測試SCA的濃度。
API 機油
根據測試的結果添加SCA。冷卻系統的容量決定
了所需的SCA量。
Perkins認可美國石油學會(API)制定的發動
機機油許可和認證系統。有關該系統的詳細信
息資料,請參閱API第1509號出版物的最新版
本。帶有API符號的發動機機油是經API權威認
可的。
如有必要,用表13中的計算公式確定所需
PerkinsSCA的數量:
表 13
保養時向重負荷冷卻液中添加 SCA 的計算公式
V × 0.014 = X
V 是冷卻系統的總容量。
X 是所需的 SCA 的數量。
表14舉例說明了如何使用表13中的公式進行
計算。
表 14
保養時向重負荷冷卻液中添加 SCA 的示例
冷卻系統的總容量
(V)
乘數
所需的 SCA 的數量
(X)
15 L (4 US gal)
× 0.014
0.2 L (7 oz)
圖18
g00546535
典型的API符號
清潔重負荷防凍劑系統
自11011996,1996柴油發動機機油CC、CD、CD-
2和CE尚未經API權威認可分類。表15總結了
等級的狀態。
Perkins冷卻系統清洗劑專為清除冷卻系統的有
害水垢和腐蝕物而設計。Perkins冷卻系統清
洗劑可溶解礦物水垢、腐蝕產物、輕油污染物和
油泥。
表 15
API 等級
•在排放舊冷卻液之后或冷卻系統加注新冷卻液之
前,清潔冷卻系統。
電流
廢棄
CE、CC、CD
CD-2(1)
CH-4、CI-4
•只要發現冷卻液被污染或冷卻液起泡,就要清潔冷
卻系統。
-
(1)
CD-2 級別的機油適用于兩沖程柴油發動機。 Perkins 不銷售使
用 CD-2 級別機油的發動機。
This document has been printed from SPI2. NOT FOR RESALE




![]()

![]()
![]()
34
SCBU8352
加注容量
油液建議
術語
在使用APICG-4和APICF-4機油的Perkins發
動機上。APICH-4機油在以下標準上全面超過
APICG-4機油的性能:活塞積碳,機油消耗控制,
活塞環磨損,氣門機構磨損,粘度控制和腐蝕。
某些縮略語遵循SAEJ754的命名法。有些等級
遵循SAEJ183縮略語,有些等級遵循EMA柴油發
動機機油建議指導原則。除了Perkins的定義,
還有其它定義在購買潤滑劑時會有幫助。有關推
薦的機油粘度,請參閱本出版物油液推薦規程/
發動機機油主題(保養部分)。
針對APICH-4機油制訂了三項新發動機測試。
第一項測試專門評估采用兩件式鋼制活塞的發動
機的活塞積碳情況。該測試(活塞積碳)也測量
機油消耗控制。第二項測試在機油中煤煙含量中
等的情況下進行。第二項測試將衡量以下標準:
活塞環磨損,缸套磨損和耐腐蝕。第三項新測
試在機油中煤煙含量高的情況下衡量以下特性:
氣門機構磨損,抗機油濾清器堵塞和油泥控制.
發動機機油
市售機油
市售柴油發動機機油的性能區分是基于美國石油
學會(API)等級。制訂這些API等級是為運行
在不同工況下的各式各樣的柴油發動機提供市售
潤滑油。
除了新測試外,對于產生高煤煙應用中的粘度控
制,APICH-4機油還有更嚴格的限定。該機油還
有改良的抗氧化性。對于采用鋁制活塞(單件
式)的發動機,APICH-4機油必須通過額外的試
驗(活塞積碳)。還確定了針對運行在使用高硫
柴油區域的發動機的機油性能。
僅使用滿足下列等級的市售機油:
•APICH-4CI-4
為了選擇正確的市售機油,請參考以下說明:
所有這些改進使得APICH-4機油能夠達到最佳的
換油周期。APICH-4機油推薦在延長換油周期的
情況下使用。APICH-4機油推薦使用在需要優質
機油的情況。您的Perkins代理商或您的
Perkins分銷商有優化換油周期的具體指導準
則。
EMADHD-1–除了API機油分級體系外,發動機
制造商協會(EMA)也制訂了潤滑油建議可供選
擇。DHD-1屬于一項推薦指南,它定義了適用于
以下這些類型的柴油發動機的機油性能等級:高
轉速,四沖程,重載和輕載。DHD-1潤滑油可用
于Perkins發動機,但推薦使用以下潤滑油:
APICH-4,APICG-4和APICF-4。DHD-1機油旨
在提供優于APICG-4和APICF-4的性能。
使用某些符合API等級的市售機油可能需要縮短
換油周期。為確定換油周期,密切監測機油狀況
并進行磨損金屬分析。
注意
不遵守這些機油建議,會由于積碳和/或過度磨損而縮
短發動機使用壽命。
DHD-1機油將能滿足在眾多應用類型下使用的高
性能Perkins柴油發動機的需要。用于定義
DHD-1的測試及測試極限值與新的APICH-4等級
類似。因此,這些機油同樣滿足需要低排放的柴
油發動機的要求。DHD-1機油的設計用于控制煤
煙的有害影響,同時增進耐磨損能力并改善抗機
油濾清器堵塞的性能。這些機油也將為采用兩件
式鋼制活塞或鋁制活塞的發動機提供卓越的活塞
積碳控制。
直噴式(DI)柴油發動機的總堿值(TBN)
和燃油含硫量
機油的總堿值(TBN)取決于燃油含硫量。對于
使用餾出燃油的直噴發動機,新機油的最低TBN
必須是燃油含硫量的10倍。TBN由ASTMD2896
定義。無論燃油含硫量是多少,機油的最低TBN
是5。圖19中說明了TBN范圍。
所有DHD-1機油必須完成針對基礎油和市售成品
機油粘度等級的一整套測試程序。API基礎油互
換指導準則不適用于DHD-1機油。這一特色可減
少市售機油配方中的基礎油有變動時可能發生的
性能波動。
DHD-1機油推薦使用在能夠優化機油使用壽命的
延長換油周期計劃中。這些換油周期計劃取決于
機油分析結果。DHD-1機油推薦使用在需要優質
機油的情況。您的Perkins代理商或您的
Perkins分銷商有優化換油周期的具體指導準
則。
APICH-4–APICH-4機油是為了滿足新的高性
能柴油發動機的要求而開發的。并且,該機油被
設計來滿足低排放柴油發動機的要求。APICH-4
機油也允許使用在較老型號的柴油發動機和使用
高硫柴油的柴油發動機上。APICH-4機油可以用
This document has been printed from SPI2. NOT FOR RESALE
![]()
![]()
![]()
SCBU8352
35
加注容量
油液建議
通常,在滿足起動溫度要求的前提下,選用具有
最高粘度的機油。
表 17
發動機機油粘度
EMA LRG-1
API CH-4
粘度等級
環境溫度
最小
最大
SAE 0W20
SAE 0W30
SAE 0W40
SAE 5W30
SAE 5W40
SAE 10W30
SAE 15W40
−40 °C (−40 °F)
−40 °C (−40 °F)
−40 °C (−40 °F)
−30 °C (−22 °F)
−30 °C (−22 °F)
−20 °C (−4 °F)
−10 °C (14 °F)
10 °C (50 °F)
30 °C (86 °F)
40 °C (104 °F)
30 °C (86 °F)
40 °C (104 °F)
40 °C (104 °F)
50 °C (122 °F)
圖19
g00799818
(Y)由ASTMD2896規定的TBN
(X)燃油含硫量重量百分比
(1)新油的TBN
(2)當TBN降低到初始TBN的50%時更換機油。
對于含硫量超過1.5%的燃油,請遵循以下指導
原則:
合成基礎油
如果合成基礎油滿足發動機特定的性能要求,這
些機油就可以用在這些發動機上。
•選擇符合以下等級之一的TBN最高的機油:EMA
DHD-1和APICH-4。
一般來講合成基礎油在兩方面超過傳統的機油:
•縮短換油周期。根據機油分析結果來確定換油周
期。確保機油分析過程中涵蓋了機油狀況和金屬
磨損分析。
•合成基礎油具有改進的低溫流動性,特別是在極冷
環境。
TBN高的機油可能產生過多的活塞積碳。這些積
碳會導致無法控制機油的消耗量并導致缸徑磨
光。
•合成基礎油具有改進的氧化穩定性,特別是在高溫
運行時。
有些合成基礎油具有提高潤滑油使用壽命的性能
特性。Perkins不推薦自動延長任何類型的機油
的換油周期。
注意
在直噴式( DI)柴油發動機上使用含硫量超過 0.5%
的燃油可能需要縮短換油周期,以便保持足夠的磨損
保護。
再精煉基礎油
如果再精煉基礎油符合Perkins規定的性能要
求,這些機油可以用在Perkins發動機上。再
精煉基礎油可在成品油中單獨采用,或與新基礎
油混合使用。美國軍用技術規格和其他重型設
備制造商的技術規格也允許使用符合同一標準的
再精煉基礎油。
表 16
燃油含硫百分比
低于 0.5
機油換油周期
正常
0.5 至 1.0
高于 1.0
正常的 0.75
正常的 0.50
再精煉基礎油的生產工藝應該足以清除用過機油
中的所有磨損金屬屑和添加劑。再精煉基礎油的
生產工藝通常涉及用過機油的真空蒸餾和氫化處
理過程。過濾足以生產出高質量的再精煉基礎
油。
直噴式(DI)柴油發動機的潤滑油粘度建議
正確的機油SAE粘度等級是由發動機冷起動時的
最低環境溫度和發動機運轉時的最高環境溫度決
定的。
用于寒冷天氣的潤滑油
請參閱表17(最低溫度)以確定發動機冷起動
時所需要的機油粘度。
當發動機在低于 −20°C(− 4°F)的環境溫度下
起動和運轉時,使用能夠在低溫下流動的多級機
油。
請參閱表17(最高溫度)以選擇發動機在預期
的最高環境溫度下運行時所需要的機油粘度。
這些機油的潤滑油粘度等級為SAE0W或SAE5W。
This document has been printed from SPI2. NOT FOR RESALE


![]()
![]()
![]()

![]()
![]()
36
SCBU8352
加注容量
油液建議
當發動機在低于 −30°C(− 22°F)的環境溫度
下起動并運轉時,請使用粘度等級為0W或5W的
合成基礎油多級機油。使用傾點低于 −50°C
(− 58°F)的機油。
機油分析
有些發動機配有機油取樣閥。如果需要進行機油
分析,可通過機油取樣閥獲取發動機機油樣本。
機油分析將作為預防性保養程序的補充。
在寒冷天氣條件下可接受的潤滑油的數量是有限
的。Perkins建議寒冷天氣條件下使用以下潤滑
油:
機油分析是一種診斷工具,用于確定機油性能和
部件磨損率。通過機油分析的使用,可鑒別和衡
量污染情況。機油分析包括以下測試:
第第一一選選擇擇–使用符合EMADHD-1推薦指導準則
的機油。使用具有API許可的CH-4機油。機油
的潤滑油粘度等級應為SAE0W20、SAE0W30、SAE
0W40、SAE5W30或SAE5W40。
•磨損率分析監測發動機金屬部件的磨損。分析機
油中的磨損金屬數量和磨損金屬類型。機油中發
動機磨損金屬率的增加和機油中發動機磨損金屬量
同樣重要。
第第二二選選擇擇–使用含有CH-4添加劑組合的機油。
盡管這種機油未經測試可滿足API許可要求,但
機油必須為SAE0W20、SAE0W30、SAE0W40、SAE
5W30或SAE5W40。
•進行測試以便檢測機油的水、乙二醇或燃油等雜
質。
•機油狀況分析確定機油潤滑特性的損失情況。紅
外線分析用來把舊機油油樣的特性與新機油的特性
相比較。該分析使技術人員能夠確定使用過程中
機油性能的退化量。該分析也使技術人員在整個
換油周期內依照技術規格核實機油的性能。
注意
如果使用第二選擇機油,可能導致縮短發動機使用壽
命。
i06151115
油油液液建建議議
售后市場機油添加劑
Perkins不建議在機油中使用售后市場添加劑。
沒必要使用售后市場添加劑來使發動機達到其最
長使用壽命和額定性能。完整配方的成品油包含
了基礎油和市售添加劑組合。這些添加劑組合以
精確的百分比混合到基礎油中,以便使成品油能
提供滿足行業標準的性能特性。
燃油技術規格
燃油建議
為獲得正確的發動機功率和性能,請使用正確質
量的燃油。如下所示為Perkins發動機的建議燃
油技術規格:
不存在有關評估在成品油中添加售后市場機油添
加劑后的性能及其兼容性的行業標準測試。售后
市場添加劑有可能和成品油中的添加劑組合不相
容,這將降低成品油的性能。售后市場添加劑可
能無法和成品油良好混合。這樣可能在曲軸箱中
產生油泥。Perkins不鼓勵在成品油中使用售后
市場添加劑。
•十六烷值
•粘度
•密度
•硫
最低45
2,0至4.5cSt(40°C(104°F))
0.835至0.855Kg/L
為使Perkins發動機發揮其最佳性能,請遵循
以下指導原則:
0.2%的質量,最大
•蒸餾
85%(350°C(662°F))
460微米最大磨痕,按照ISO12156
•選擇正確的機油,或符合EMA柴油發動機機油推薦
指導準則要求的或推薦的API等級的市售機油。
•潤滑性
-1
•參閱相應的“潤滑油粘度”表,以便找到適用于您
的發動機的正確的機油粘度等級。
十六烷值
•在規定的保養周期對發動機進行維修。使用新機
油并安裝新機油濾清器。
這表示燃油的點火性能低十六烷值的燃油是冷起
動故障的根本原因。這也將影響燃燒。
•按照操作和保養手冊保養周期表中規定的保養周期
進行保養。
粘度
這表示油液流動的阻力。如果這種阻力超過極
限,發動機,尤其是發動機起動性能,會受到影
響。
硫
This document has been printed from SPI2. NOT FOR RESALE
![]()
![]()
![]()
![]()
![]()
![]()
![]()
![]()
![]()
SCBU8352
37
加注容量
油液建議
高含硫量的燃油在歐洲、北美和澳大利亞并不
常見。這會造成發動機磨損。如果僅有高含硫
量燃油,則必須在發動機中使用高堿值的潤滑
油,或縮短潤滑油的更換周期。
這些燃油需要添加劑以獲得650微米磨損斑痕的
潤滑性,燃油泵和噴油器的可靠性將會降低。噴
油泵不在保修范圍,即使包含添加劑。
JP5MILT5624(AvcatFSII,NATOF44
蒸餾
JP8T83133(AvturFSII,NATOF34
JetA
這表示燃油中不同碳氫化合物混合比例。高比例
的輕質碳氫化合物會影響燃燒性能。
JetA1,NATOF35,XF63
潤滑性
低溫燃油
這表示燃油預防泵磨損的能力。
在發動機在低于0°C(32°F)的溫度下運轉
時,可以提供用于寒冷天氣的專用燃油。這些燃
油限制了低溫條件下燃油中蠟的生成。如果燃油
中生成蠟,它將阻礙燃油在濾清器中的流動。
柴油發動機可以燃燒各種各樣的燃油。這些燃油
被分成四大組:
•第1組(優先選用燃油)
•第2組(允許使用燃油)
•第3組(航空煤油)
•其他燃油
注:缺乏潤滑性的燃油會引起下列問題:
•發動機功率低
•在高溫或低溫條件下起動困難
•冒白煙
第1組(優先選用燃油):技術規格
DERV至EN590
•在某些運轉條件下排放劣化和缺火
生物燃油:技術規格
注:當溫度低于0°C(32°F)時僅使用極地燃油。
當環境溫度高于0°C(32°F)時請勿使用極地燃
油。為確保從拖動發動機到第一次點火的時間間隔最
小,僅在正確溫度下使用正確粘度的燃油。
Biofuel:在傳統燃油中允許加入5%的RME至
EN14214混合物。
瓦斯油至BS2869A2級
注意
水乳化燃油:不允許使用這些燃油
ASTMD975-912D級僅在燃油具有潤滑性的正確
技術參數的情況下使用。
參見以下北美燃油技術規格。
JISK2204(1992)1、2、3級和專用3級僅在燃
油具有潤滑性的正確技術參數的情況下使用。
首選燃油有助于實現最大的發動機使用壽命和性
能。首選燃油是餾出燃油。這些燃油通常叫做
柴油或瓦斯油。
注:如果使用低硫或低硫芳烴燃油,可使用燃油添加
劑增加潤滑性。
允許使用的燃油是原油或混合油。使用這些燃油
可能引起保養費用升高和發動機使用壽命的降
低。
第2組(允許使用燃油):技術規格
在保修條款中,這些燃油的技術規格被視為可以
接受。然而,這些燃油可能會降低發動機的使用
壽命,發動機的最大功率和燃油效率。
滿足表18中規格的柴油將幫助提供最大的發動
機使用壽命和性能。在北美,作為ASTMD975中
No.2-D的柴油通常滿足此技術規格。表18是
針對從原油中餾分的柴油。來自其它渠道的柴油
可能顯現本技術規格中沒有規定的或未受本技術
參數控制的有害性質。
ASTMD975-911D級
JP7,MilT38219
NATOF63
表 18
Perkins 餾出柴油技術規格
注意
技術規格
要求
ASTM 測試方法
這類燃油應具有 650 微米的最大磨損斑痕
*HFRR 至 ISO 12156 - 1。
芳香族化合物
最高 35%
D1319
第3組(航空煤油):技術規格
(續)
This document has been printed from SPI2. NOT FOR RESALE

![]()
![]()
![]()
![]()
![]()
38
SCBU8352
加注容量
油液建議
(表 18, 續)
注意
最大 0.02%(重量百
分比)
灰分
D482
D524
D613
使用不符合 Perkins 推薦的燃油可能造成以下后果:
起動困難, 燃燒不充分, 燃油噴油器積碳 , 燃油系統使
用壽命縮短, 燃燒室積碳 和 發動機使用壽命縮短。
10% 的底部區域內的 最大 0.35%(重量百
碳殘渣
分比)
最低 40(DI 發動
機)
十六烷值
注意
重油(HFO)、渣油或混合油決不能用在 Perkins 柴
油發動機上。 如果在配置使用餾出燃油的發動機上使
用 HFO 類型的燃油,將導致部件的嚴重磨損和故
障。
濁點絕不能超過最低
預期環境溫度。
濁點
-
銅帶腐蝕
最高 3 號
D130
10% @ 282 °C
(540 °F)
最高
在極冷環境條件下,可以使用表19規定的餾出
燃油。但是,選擇的燃油必須滿足表18中規定
的要求。這些燃油預期可以在低至 −54°C
(− 65°F)的工作溫度下使用。
表 19
蒸餾
D86
90% @ 360 °C
(680 °F)
最高
閃點
法定限度
最低 30?
最高 45
D93
餾出燃油(1)
技術規格
MIL-T-5624R
ASTMD1655
坡度
JP-5
API 重度
D287
低于環境溫度,最低
為 6 °C (10 °F)
Jet-A-1
JP-8
傾點
D97
MIL-T-83133D
最高 0.2%
D3605
或
D1552
(1)
本表中列出的燃油可能不滿足Perkins餾出柴油技術規格表中
規定的要求。 請咨詢推薦使用的添加劑的供應商以便使燃油保
持正確的潤滑性能。
硫(1)
在溫度為 40 °C
(104 °F) 時最低 2.0
cSt,最高 4.5 cSt
這些燃油比2號燃油要輕些。表19中燃油的十
六烷值必須至少為40。如果在溫度為38°C
(100°F)時粘度低于1.4cSt,則只有在溫度低
于0°C(32°F)時才可使用此燃油。不要使用
任何在溫度為38°C(100°F)時粘度低于1.2
cSt的燃油。可能需要冷卻燃油,以便在噴油泵
處保持不低于1.4cSt的燃油粘度。
運動粘度(2)
D445
水和沉淀物
水
最高 0.1%
最高 0.1%
D1796
D1744
最大 0.05%(重量百
分比)
沉淀物
D473
D381
膠質和樹脂(3)
最大 10 mg/100 mL
政府和技術學會也發布了許多其他柴油燃料技術
規格。通常,這些規格不會論及本技術規格中述
及的所有要求。為確保發動機的最佳性能,在發
動機運轉前應該取得完整的燃油分析。燃油分析
應該包括表18中列出的所有特性。
在溫度為 25 °C
(77 °F) 時,最大為
0.38 mm (0.015 in)
潤滑性(4)
D6079
(1)
Perkins 燃油系統和發動機部件能使用高含硫量的燃油。 燃油
含硫量水平影響廢氣排放。 高含硫量燃油也增加內部部件腐蝕
的可能性。 燃油含硫量水平超過 0.5% 時可能顯著縮短機油更
換周期。 有關更多的資料,請參閱本出版物推薦用油液推薦/發
動機機油一章(保養部分)。
(2)
燃油粘度的數值是燃油輸送到燃油噴射泵時的數值。 如果使用
了低粘度的燃油,可能需要冷卻燃油,以便在噴油泵處保持 1.4
cSt 的粘度。 粘度高的燃油可能需要燃油加熱器,以便把粘度降
到 20 cSt。
(3)
(4)
請遵循針對汽油(馬達)的測試條件和程序。
低硫柴油需要考慮燃油潤滑性能。 為確定燃油的潤滑性,使用
ASTMD6078磨擦加載磨損試驗(SBOCLE)或ASTMD6079高頻往
復式試驗臺(HFRR)試驗。 如果燃油潤滑性未滿足最低要求,
請咨詢燃油供應商。 不要在未咨詢燃油供應商的情況下處理燃
油。 某些添加劑是不兼容的。 這些添加劑可能導致燃油系統出
現故障。
This document has been printed from SPI2. NOT FOR RESALE


![]()
![]()
![]()
![]()
![]()
SCBU8352
39
加注容量
保養周期表
i06151132
每2000工作小時
保保養養周周期期表表
后冷器芯-檢查........................40
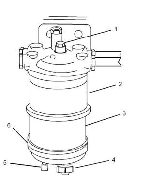
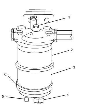
交流發電機-檢查......................40
發動機安裝支座-檢查..................49
起動馬達-檢查........................59
渦輪增壓器-檢查......................59
水泵-檢查............................60
需要時即進行的保養
蓄電池-更換..........................41
蓄電池或蓄電池電纜-斷開..............42
發動機-清潔..........................46
發動機空氣濾清器濾芯(雙濾芯)-清潔/更換47
發動機空氣濾清器濾芯(雙濾芯)-清潔/更換48
發動機機油油樣-采樣..................50
燃油噴油器-測試/更換.................53
燃油系統-充油........................53
惡劣條件作業-檢查....................58
每3000個工作小時或每2年
冷卻系統冷卻液(市售重載)-更換.......42
每4000工作小時
后冷器芯-清潔/測試...................39
每6000個工作小時或3年
冷卻系統長效冷卻液(ELC)延長劑-添加....45
每12000個工作小時數或每6年的保養
每天的保養
冷卻系統冷卻液[長效冷卻液(ELC)]-更換..44
交流發電機和風扇皮帶-檢查/調整/更換...40
冷卻系統冷卻液液位-檢查..............45
被驅動設備-檢查......................46
發動機空氣濾清器保養指示器-檢查.......49
發動機機油油位-檢查..................49
燃油系統粗濾器/油水分離器-放水........54
圍繞檢查..............................60
i03018549
后后冷冷器器芯芯-清清潔潔/測測試試
1.1.拆下芯。關于正確的步驟,請參閱OEM資
料。
2.2.將后冷器芯倒置,以便倒掉碎屑。
每500個工作小時或1年
蓄電池電解液液位-檢查................42
發動機空氣濾清器濾芯(雙濾芯)-清潔/更換47
發動機空氣濾清器濾芯(雙濾芯)-清潔/更換48
發動機機油和濾清器-更換..............50
燃油系統粗濾器(油水分離器)濾芯-更換...55
燃油系統細濾清器-更換................56
軟管和卡箍-檢查/更換.................57
散熱器-清潔..........................58
高高壓壓空空氣氣會會造造成成人人身身傷傷害害。。
不不按按下下面面的的適適當當步步驟驟進進行行操操作作會會造造成成人人身身傷傷害害。。使
用用壓壓縮縮空空氣氣時時,,戴戴防防護護面面罩罩及及穿穿防防護護服服。。
用用做做清清洗洗用用途途時時,,噴噴嘴嘴處處最最大大空空氣氣壓壓力力必必須須低低于于
202055kPkPaa(3030pspsii)。
3.3.壓縮空氣是清除松動碎屑的首選方法。將壓
縮空氣對著與風扇氣流相反的方向吹。保持噴
嘴離散熱片大約6mm(.25in)遠。在與管平
行的方向緩慢移動空氣噴嘴。這將清除在管道
之間的碎屑。
每1000工作小時
4.4.加壓水也可用于清洗。清洗用的最大水壓必
須低于275kPa(40psi)。用高壓水來使污泥
軟化。從兩側清潔芯。
發動機氣門間隙-檢查/調整..............52
This document has been printed from SPI2. NOT FOR RESALE
![]()
![]()
![]()
40
SCBU8352
加注容量
后冷器芯 - 檢查
注意
不要用高濃度的腐蝕性清潔劑來清洗芯子。 高濃度腐
蝕性清潔劑會腐蝕芯子內部的金屬從而引起滲漏。 只
使用推薦濃度的清洗劑。
高高壓壓空空氣氣會會造造成成人人身身傷傷害害。。
不不按按下下面面的的適適當當步步驟驟進進行行操操作作會會造造成成人人身身傷傷害害。。使
用用壓壓縮縮空空氣氣時時,,戴戴防防護護面面罩罩及及穿穿防防護護服服。。
5.5.用合適的清潔劑反向沖洗芯。
用用做做清清洗洗用用途途時時,,噴噴嘴嘴處處最最大大空空氣氣壓壓力力必必須須低低于于
202055kPkPaa(3030pspsii)。
6.6.用蒸汽清洗芯,以便清除所有殘留物。沖洗
后冷器芯的散熱片。去除其它積存的碎屑。
清潔后,起動發動機并將發動機加速至高怠速。
這有助于清除碎屑和干燥芯。停止發動機。在
散熱器芯后面放一個燈泡來檢查芯是否清潔。必
要時再次清潔。
7.7.用熱的肥皂水清洗芯。用清潔水徹底沖洗
芯。
檢查散熱片有無損壞。彎曲了的散熱片可用一把
“梳刀(comb)”梳開。
高高壓壓空空氣氣會會造造成成人人身身傷傷害害。。
注:如果修理或更換了后冷器的零件,高度推薦進行
滲漏測試。
不不按按下下面面的的適適當當步步驟驟進進行行操操作作會會造造成成人人身身傷傷害害。。使
用用壓壓縮縮空空氣氣時時,,戴戴防防護護面面罩罩及及穿穿防防護護服服。。
檢查這些項目是否處于良好狀態:焊接件,安裝
支架,空氣管路,連接處,卡箍和密封件.必要
時進行修理。
用用做做清清洗洗用用途途時時,,噴噴嘴嘴處處最最大大空空氣氣壓壓力力必必須須低低于于
202055kPkPaa(3030pspsii)。
8.8.用壓縮空氣吹干芯。讓壓縮空氣沿空氣正常
流動的反方向吹。
i04651969
交交流流發發電電機機-檢檢查查
9.9.檢查后冷器芯,確保它已干凈。加壓測試
芯。必要時,修理芯。
珀金斯建議定期檢查交流發電機。檢查交流發電
機接頭是否松動以及蓄電池是否正常充電。在發
動機運轉過程中,檢查電流表(如有配備),以
確保蓄電池和/或電氣系統正常的工作性能。根
據需要進行修理。
1010..安裝芯。關于正確的步驟,請參閱OEM資
料。
1111..清潔后,起動發動機并將發動機加速至高怠
速。這有助于清除碎屑和干燥芯。停止發動
機。在散熱器芯后面放一個燈泡來檢查芯是否
清潔。必要時重復清潔步驟。
檢查交流發電機和蓄電池充電是否正常工作。如
果蓄電池充電正常,電流表讀數應該幾乎為零。
所有蓄電池都應保持充電狀態。蓄電池應保暖,
因為溫度會影響盤車功率。如果蓄電池太冷,蓄
電池將無法盤機。當發動機長時間不運轉或只是
短時間運轉時,蓄電池可能未充足電。充電低的
蓄電池比充足電的蓄電池更容易凍結。
i03018555
后后冷冷器器芯芯-檢檢查查
i06151114
注:根據作業環境對發動機的影響情況來調整清潔工
作的頻次。
交交流流發發電電機機和和風風扇扇皮皮帶帶-檢檢查查/
調調整整/更更換換
就下列項目檢查后冷器:損壞的散熱片,腐蝕,
污垢,油脂,昆蟲,樹葉,機油和其它碎屑.必要
時清潔后冷器。
檢查
對于空對空后冷器,應使用與清潔散熱器同樣的
方法進行清潔。
為使發動機性能最大化,檢查皮帶是否磨損和斷
裂。更換損壞或磨損的皮帶。
對于需要多根傳動皮帶的應用,要更換相配的整
組傳動皮帶。由于舊皮帶已被拉伸,只更換一組
中的一條皮帶會使新皮帶承受更多的負載。額外
負載就會加到新皮帶上,從而造成皮帶斷裂。
This document has been printed from SPI2. NOT FOR RESALE
![]()
![]()
![]()
![]()
![]()
![]()
![]()
SCBU8352
41
加注容量
蓄電池 - 更換
如果皮帶過松,振動會引起皮帶和皮帶輪不必要
的磨損。松弛的皮帶可能打滑而引起過熱。
i03018721
蓄蓄電電池池-更更換換
要精確檢查皮帶緊度,應使用合適的量規。
蓄蓄電電池池釋釋放放出出可可能能會會爆爆炸炸的的可可燃燃氣氣體體。。火火花花可可能能引引
起起此此可可燃燃氣氣被被點點燃燃。。由由此此可可能能導導致致人人身身傷傷亡亡。。
確確保保置置于于密密閉閉處處的的蓄蓄電電池池的的適適當當通通風風。。遵遵循循正正確確程程
序序以以便便幫幫助助防防止止在在蓄蓄電電池池周周圍圍產產生生電電弧弧和和/或或火火花花。。
在在維維護護蓄蓄電電池池時時不不要要吸吸煙煙。。
在在拆拆卸卸蓄蓄電電池池電電纜纜或或蓄蓄電電池池之之前前,,應應先先拆拆下下蓄蓄電電池池
蓋蓋。。進進行行任任何何維維護護之之前前,,應應先先拆拆下下蓄蓄電電池池蓋蓋。。
圖20
g01003936
典型示例
(1)千分表
未未拆拆下下蓄蓄電電池池蓋蓋的的情情況況下下就就拆拆卸卸蓄蓄電電池池電電纜纜或或蓄蓄電電
池池可可能能會會引引發發爆爆炸炸,,導導致致人人身身傷傷害害。。
將量規 (1)安裝在最長自由長度的中心,檢查張
緊度。正確的張力為535N(120lb)。如果皮帶
張緊力低于250N(56lb),將其調整到535N
(120lb)。
1.1.把發動機起動開關轉動斷開(OFF)位置。卸掉
所有電氣負載。
2.2.關掉所有蓄電池充電器。斷開所有蓄電池充
電器。
如果安裝了雙皮帶,檢查并調整兩條皮帶的張
力。
3.3.用負極 “-”電纜把蓄電池的負極 “-”端子與
起動馬達的負極 “-”端子連接起來。從蓄電池
的負極 “-”端子斷開電纜。
調整
4.4.正極 “+”電纜把蓄電池的正極 “+”端子與起
動馬達的正極 “+”端子連接起來。從蓄電池
的正極 “+”端子斷開電纜。
注:一定要回收蓄電池。決不要廢棄蓄電池。把廢舊
蓄電池送到適當的回收工廠。
5.5.拆下廢舊蓄電池。
6.6.安裝新蓄電池。
注:安裝電纜之前,確保發動機起動開關在停機(OFF)
位置。
7.7.把來自起動馬達正極端子的電纜連接到蓄電池
圖21
g01003939
的正極 “+”端子。
1.1.松開交流發電機樞軸螺栓 (2)和螺栓 (3)。
8.8.將蓄電池負極 “-”電纜連接到蓄電池負極 “-”
端子上。
2.2.移動交流發動機以增加或降低皮帶張緊度。
將交流發電機樞軸螺栓和連桿螺栓擰緊至
22N·m(16lbft)。(1)。
更換
有關皮帶的安裝和拆卸步驟,請參閱拆解和裝配
手冊。
This document has been printed from SPI2. NOT FOR RESALE
![]()
![]()
![]()

![]()
![]()

![]()
![]()
![]()
![]()
42
SCBU8352
加注容量
蓄電池電解液液位 - 檢查
i03018722
2
.2.斷開蓄電池負極端子。確保電纜無法與端子
接觸。當使用4個12伏蓄電池時,必須斷開
兩個負極連接。
蓄蓄電電池池電電解解液液液位位-檢檢查查
3.3.斷開正極連接。
當發動機長時間不運轉或只是短時間運轉時,蓄
電池可能未充足電。確保蓄電池充足電以防止蓄
電池結凍。如果蓄電池經正確充電,發動機運轉
時電流表讀數應快接近零位。
4.4.清潔所有斷開的接頭和蓄電池端子。
5.5.用細砂紙清理端子和電纜卡箍。清潔這些項
目,直到其表面光亮為止。不要過度去除材
料。過分地去除材料可能會造成卡箍無法正常
配合。使用合適的硅油或凡士林涂沫卡箍和端
子表面。
所所有有鉛鉛酸酸蓄蓄電電池池含含有有硫硫酸酸,,硫硫酸酸能能燒燒蝕蝕皮皮膚膚和和腐腐蝕蝕
衣衣服服。。對對蓄蓄電電池池作作業業或或在在其其附附近近工工作作時時,,必必須須戴戴防防
護護面面罩罩和和穿穿防防護護服服。。
6.6.為了防止意外起動,將電纜線頭用膠帶包上。
7.7.進行必要的系統修理。
1.1.拆下加注口蓋。蓄電池的電解液位保持在蓄
電池的 “滿(FULL)”標記位置。
8.8.要連接蓄電池,需先連接正極接頭,然后再接
負極接頭。
如果需要加水,要使用蒸餾水。如果沒有蒸餾
水,可使用低礦物質的清潔水。不要使用人工
軟化水。
i03616466
冷冷卻卻系系統統冷冷卻卻液液((市市售售重重載載))-
更更換換
2.2.使用適當的蓄電池測試儀檢查電解液的狀況。
3.3.安裝蓋。
4.4.保持蓄電池清潔。
用以下清潔劑清洗蓄電池殼:
注意
在檢驗、保養、測試、調整及維修產品時,必須小心
以確保收集好排放出的油液。 在打開任何腔室或拆解
任何儲有液體的部件之前,要準備好用合適的容器收
集液體。
•使用0.1kg(0.2lb)碳酸氫鈉與1L
(1qt)清水的溶液。
•使用氫氧化銨溶液。
按照本地法規和指令處置所有液體。
用清潔水徹底沖洗蓄電池殼。
注意
i03840677
保持所有零件清潔無雜質。
蓄蓄電電池池或或蓄蓄電電池池電電纜纜-斷斷開開
雜質會造成快速磨損和縮短部件壽命。
如果存在以下狀況,應在推薦的保養周期之前清
潔和沖洗冷卻系統。
在在拆拆卸卸蓄蓄電電池池電電纜纜或或蓄蓄電電池池之之前前,,應應先先拆拆下下蓄蓄電電池池
蓋蓋。。進進行行任任何何維維護護之之前前,,應應先先拆拆下下蓄蓄電電池池蓋蓋。。
•發動機頻繁過熱。
•觀察到起泡沫。
未未拆拆下下蓄蓄電電池池蓋蓋的的情情況況下下就就拆拆卸卸蓄蓄電電池池電電纜纜或或蓄蓄電電
池池可可能能會會引引發發爆爆炸炸,,導導致致人人身身傷傷害害。。
•機油已進入冷卻系統,冷卻液被污染。
•機油已進入冷卻系統,冷卻液被污染。
注:在清潔冷卻系統時僅需要清水。
1.1.將起動開關轉到斷開(OFF)位置。把點火開關
(如有配備)轉到斷開(OFF)位置,取下鑰匙
和關掉所有電氣負載。
注:冷卻系統放水后,檢查水泵和水溫調節器。如有
必要,此時是更換水泵、水溫調節器和軟管的好機
會。
This document has been printed from SPI2. NOT FOR RESALE
![]()
![]()
![]()
![]()
![]()
![]()
![]()
![]()
![]()
3.向冷卻系統加注凈水。安裝冷卻系統加注口
SCBU8352
43
加注容量
冷卻系統冷卻液(市售重載) - 更換
放水
蓋。
4.起動并在低怠速運轉發動機,直到冷卻液溫度
達到49至66°C(120至150°F)。
加壓的系統:熱的冷卻液能造成嚴重的燙傷。在發
動機停機,等待冷卻系統部件冷卻下來后再打開冷
卻系統加注口蓋。緩慢松開冷卻系統加注口蓋,以
釋放掉所有壓力。
5.發動機停機,使發動機冷卻下來。緩慢地松
開冷卻系統加注口蓋,以釋放掉所有壓力。拆
下冷卻系統加注口蓋。打開排放旋塞或從發動
機上拆下排放螺塞。打開排放旋塞或從散熱器
上拆下排放螺塞。排放水。用清潔水沖洗冷
卻系統。
1.發動機停機,使發動機冷卻下來。緩慢地松
開冷卻系統加注口蓋,以釋放掉所有壓力。拆
下冷卻系統加注口蓋。
加注
1.關閉排放旋塞或在發動機上安裝排放螺塞。
關閉排放旋塞或在散熱器上安裝排放螺塞。
注意
加注冷卻系統時,速度不要快于每分鐘 5 L
(1.3 美制加侖),以避免發生氣阻。
冷卻系統氣阻會損壞發動機。
2.用市售重載作業冷卻液加注冷卻系統。向冷
卻液中加入補充冷卻液添加劑。關于正確的
量,請參閱操作和保養手冊油液建議主題(保
養部分)了解更多關于冷卻系統技術參數的信
息。不要安裝冷卻系統加注口蓋。
圖22
g01003928
2.打開排放旋塞或從發動機上拆下排放螺塞 (1)
。打開排放旋塞或從散熱器上拆下排放螺塞。
3.起動發動機并在低怠速下運轉。提高發動機
速度至高怠速。以高怠速運轉發動機1分鐘以
便驅除缸體腔室中的空氣。停止發動機。
排放冷卻液。
注意
4.檢查冷卻液液位。把冷卻液液位保持在加注
管底部以下13mm(0.5inch)以內。保持膨脹
瓶(如果配備)中的冷卻液液位處于正確位置
用過的發動機冷卻液應妥善棄置或再循環。 回收用過
的冷卻液使之再利用于發動機冷卻系統的方法有多
種。但珀金斯唯一接受的回收舊冷卻液的方法是完全
蒸餾法。
5.清潔冷卻系統加注口蓋。檢查冷卻系統加注
口蓋上的墊片。如果冷卻系統加注口蓋上的墊
片損壞,廢棄原來的冷卻系統加注口蓋并安裝
新的加注口蓋。如果冷卻系統加注口蓋上的密
封墊沒有損壞,請使用適當的加壓泵來進行冷
卻系統加注口蓋的壓力測試。冷卻系統加注口
蓋的正確壓力刻印在冷卻系統加注口蓋的表
面。如果冷卻系統加注口蓋無法保持正確壓
力,安裝新的冷卻系統加注口蓋。
有關用過冷卻液的處置和循環再利用的資料,請
咨詢您的珀金斯代理商或您的珀金斯分銷商。
沖洗
1.用清水沖洗冷卻系統以便清除所有碎屑。
2.關閉排放旋塞或在發動機上安裝排放螺塞。
關閉排放旋塞或在散熱器上安裝排放螺塞。
6.起動發動機。檢查冷卻系統是否泄漏,工作
溫度是否正常。
注意
加注冷卻系統時,速度不要快于每分鐘 5 L
(1.3 美制加侖),以避免發生氣阻。
冷卻系統氣阻會損壞發動機。
This document has been printed from SPI2. NOT FOR RESALE
![]()
![]()
![]()
![]()
![]()
![]()
![]()
![]()
![]()

![]()
![]()
44
SCBU8352
加注容量
冷卻系統冷卻液[長效冷卻液(ELC)] - 更換
i03616441
冷冷卻卻系系統統冷冷卻卻液液[長長效效冷冷卻卻液液
(E(ELLC)C)]]-更更換換
注意
在檢驗、保養、測試、調整及維修產品時,必須小心
以確保收集好排放出的油液。 在打開任何腔室或拆解
任何儲有液體的部件之前,要準備好用合適的容器收
集液體。
按照本地法規和指令處置所有液體。
圖23
g01003928
典型示例
注意
保持所有零件清潔無雜質。
2.2.打開排放旋塞或從發動機上拆下排放螺塞 (1)
。打開排放旋塞或從散熱器上拆下排放螺塞。
雜質會造成快速磨損和縮短部件壽命。
排放冷卻液。
如果存在以下狀況,在推薦的保養周期之前清潔
和沖刷冷卻系統。
注意
用過的發動機冷卻液應妥善棄置或再循環。 回收用過
的冷卻液使之再利用于發動機冷卻系統的方法有多
種。但珀金斯唯一接受的回收舊冷卻液的方法是完全
蒸餾法。
•發動機頻繁過熱。
•觀察到起泡沫。
•機油已進入冷卻系統,冷卻液被污染。
•燃油已進入冷卻系統,冷卻液被污染。
有關用過冷卻液的處置和循環再利用的資料,請
咨詢您的珀金斯代理商或您的珀金斯分銷商。
注:在ELC被放掉和更換時,清潔冷卻系統只需要清
水。
沖洗
注:冷卻系統放水后,檢查水泵和水溫調節器。如有
必要,此時是更換水泵、水溫調節器和軟管的好機
會。
1.1.用清水沖洗冷卻系統以便清除所有碎屑。
2.2.關閉排放旋塞或在發動機上安裝排放螺塞。
關閉排放旋塞或在散熱器上安裝排放螺塞。
放水
注意
加注冷卻系統時,速度不要快于每分鐘 5 L
(1.3 美制加侖),以避免發生氣阻。
加加壓壓的的系系統統::熱熱的的冷冷卻卻液液能能造造成成嚴嚴重重的的燙燙傷傷。。在在發發
動動機機停停機機,,等等待待冷冷卻卻系系統統部部件件冷冷卻卻下下來來后后再再打打開開冷冷
卻卻系系統統加加注注口口蓋蓋。。緩緩慢慢松松開開冷冷卻卻系系統統加加注注口口蓋蓋,,以以
釋釋放放掉掉所所有有壓壓力力。。
冷卻系統氣阻會損壞發動機。
3.3.向冷卻系統加注凈水。安裝冷卻系統加注口
蓋。
1.1.發動機停機,使發動機冷卻下來。緩慢地松
開冷卻系統加注口蓋,以釋放掉所有壓力。拆
下冷卻系統加注口蓋。
4.4.起動并在低怠速運轉發動機,直到冷卻液溫度
達到49至66°C(120至150°F)。
This document has been printed from SPI2. NOT FOR RESALE
![]()
![]()
![]()
![]()
![]()
![]()
![]()
![]()
![]()
![]()
![]()

![]()
![]()
SCBU8352
45
加注容量
冷卻系統長效冷卻液(ELC)延長劑 - 添加
5.5.發動機停機,使發動機冷卻下來。緩慢地松
開冷卻系統加注口蓋,以釋放掉所有壓力。拆
下冷卻系統加注口蓋。打開排放旋塞或從發動
機上拆下排放螺塞。打開排放旋塞或從散熱器
上拆下排放螺塞。排放水。用清潔水沖洗冷
卻系統。
只在發動機停機并冷卻后再檢查冷卻系統。
1.1.緩慢地松開冷卻系統加注口蓋,以釋放掉所有
壓力。拆下冷卻系統加注口蓋。
2.2.可能會需要從冷卻系統中放掉足夠的冷卻液以
便騰出地方添加延長劑。
加注
3.3.依照您的發動機的冷卻系統的容量需求添加相
應劑量的延長劑。有關您的發動機冷卻系統的
容量,請參閱操作和保養手冊加注容量(保養
部分)。有關珀金斯ELC延長劑的資料,請
參閱本操作和保養手冊油液推薦規程。
1.1.關閉排放旋塞或在發動機上安裝排放螺塞。
關閉排放旋塞或在散熱器上安裝排放螺塞。
注意
加注冷卻系統時,速度不要快于每分鐘 5 L
(1.3 美制加侖),以避免發生氣阻。
4.4.清潔冷卻系統加注口蓋,檢查墊片。如果密
封墊損壞,丟棄舊的加注口蓋,安裝新的加注
口蓋。如果密封墊沒有損壞,請使用適當的加
壓泵來進行加注口蓋的壓力測試。正確壓力壓
印在加注口蓋的正面。如果加注口蓋無法保持
正確的壓力,安裝新的加注口蓋。
冷卻系統氣阻會損壞發動機。
2.2.用長效冷卻液(ELC)加注冷卻系統。有關冷
卻系統技術參數的更多資料,請參閱操作和保
養手冊油液推薦規程主題(保養部分)。不要
安裝冷卻系統加注口蓋。
i03018737
冷冷卻卻系系統統冷冷卻卻液液液位位-檢檢查查
3.3.起動發動機并在低怠速下運轉。提高發動機
速度至高怠速。以高怠速運轉發動機1分鐘以
便驅除缸體腔室中的空氣。停止發動機。
配備冷卻液回收水箱的發動機
4.4.檢查冷卻液液位。把冷卻液液位保持在加注
管底部以下13mm(0.5inch)以內。保持膨脹
瓶(如果配備)中的冷卻液液位處于正確位置
注:冷卻系統可能不是珀金斯提供的。以下是典型的
冷卻系統步驟。有關正確的步驟,請參閱OEM資料。
發動機停機并冷卻后檢查冷卻液液位。
5.5.清潔冷卻系統加注口蓋。檢查冷卻系統加注
口蓋上的墊片。如果冷卻系統加注口蓋上的墊
片損壞,廢棄原來的冷卻系統加注口蓋并安裝
新的加注口蓋。如果冷卻系統加注口蓋上的密
封墊沒有損壞,請使用適當的加壓泵來進行冷
卻系統加注口蓋的壓力測試。冷卻系統加注口
蓋的正確壓力刻印在冷卻系統加注口蓋的表
面。如果冷卻系統加注口蓋無法保持正確壓
力,安裝新的冷卻系統加注口蓋。
1.1.觀察冷卻液回收箱(如有配備)中的冷卻液液
位。將冷卻液回收箱中的冷卻液液位保持在
“滿(FULL)”標記處。
加加壓壓的的系系統統::熱熱的的冷冷卻卻液液能能造造成成嚴嚴重重的的燙燙傷傷。。在在發發
動動機機停停機機,,等等待待冷冷卻卻系系統統部部件件冷冷卻卻下下來來后后再再打打開開冷冷
卻卻系系統統加加注注口口蓋蓋。。緩緩慢慢松松開開冷冷卻卻系系統統加加注注口口蓋蓋,,以以
釋釋放放掉掉所所有有壓壓力力。。
6.6.起動發動機。檢查冷卻系統是否泄漏,工作
溫度是否正常。
2.2.慢慢拆下加注口蓋,以釋放掉所有壓力。取
下加注口蓋。
i03018707
3.3.將正確的冷卻液混合液加注到水箱中。有關應
使用的正確的冷卻液混合液和冷卻液類型的資
料,請參閱操作和保養手冊加注容量和建議。
有關冷卻系統容量的資料,請參閱操作和保養
手冊加注容量和建議。不要加注冷卻液回縮箱
超過 “冷態滿(COLDFULL)”標記。
冷冷卻卻系系統統長長效效冷冷卻卻液液(ELC)延延長長
劑-添添加加
珀金斯長效冷卻液(ELC)與傳統冷卻液相比,
不需要頻繁添加補充用冷卻液添加劑(SCA)。延
長劑只需添加一次。
This document has been printed from SPI2. NOT FOR RESALE
![]()
![]()
![]()
![]()
![]()
46
SCBU8352
加注容量
被驅動設備 - 檢查
3.3.清潔冷卻系統加注口蓋,檢查墊片。如果密
封墊損壞,丟棄舊的加注口蓋,安裝新的加注
口蓋。如果密封墊沒有損壞,請使用適當的加
壓泵來進行加注口蓋的壓力測試。正確壓力壓
印在加注口蓋的正面。如果加注口蓋無法保持
正確的壓力,安裝新的加注口蓋。
4.4.檢查冷卻系統是否滲漏。
i02314789
被被驅驅動動設設備備-檢檢查查
圖24
g00103639
更多有關下列針對驅動設備的保養建議的資料,
請參閱原始設備制造商(OEM)的規范。
4.4.清潔加注口蓋和罐口。將加注口蓋裝回去,
檢查冷卻系統有無滲漏。
•檢驗
注:發動機正常操作期間,隨著冷卻液溫度升高,冷
卻液將會膨脹。發動機運轉期間,多余的冷卻液將會
被壓入冷卻液回收箱中。當發動機停機并冷卻時,回
收箱中的冷卻液將會回到發動機內。
•調整
•潤滑
•其它保養建議
未配備冷卻液回收箱的發動機
進行所有OEM建議進行的針對驅動設備的保養。
發動機停機并冷卻后檢查冷卻液液位。
i03616470
發發動動機機-清清潔潔
高高電電壓壓能能造造成成人人身身傷傷害害或或死死亡亡。。
潮潮濕濕可可能能產產生生導導電電回回路路。。
保保證證電電氣氣系系統統斷斷電電。。鎖鎖定定起起動動控控制制裝裝置置,,在在控控制制裝裝
置置上上系系上上 “不不準準起起動動” 的的標標簽簽。。
圖25
g00285520
注意
冷卻系統加注口蓋
積聚在發動機上的潤滑脂和機油有失火危險。 保持發
動機清潔。 只要有相當數量的碎屑和濺溢的液體積聚
在發動機上,就要清除掉。
加加壓壓的的系系統統::熱熱的的冷冷卻卻液液能能造造成成嚴嚴重重的的燙燙傷傷。。在在發發
動動機機停停機機,,等等待待冷冷卻卻系系統統部部件件冷冷卻卻下下來來后后再再打打開開冷冷
卻卻系系統統加加注注口口蓋蓋。。緩緩慢慢松松開開冷冷卻卻系系統統加加注注口口蓋蓋,,以以
釋釋放放掉掉所所有有壓壓力力。。
注意
清洗時未能保護某些發動機部件,可能會造成您的發
動機保修無效。 在清洗發動機前,請將其冷卻一小
時。
1.1.慢慢拆下冷卻系統加注口蓋,以釋放掉壓力。
2.2.將冷卻液液位保持在距加注管底部13mm
(0.5inch)以內。如果發動機配備了目測表,
保持冷卻液液位在目測表的正確高度。
建議進行發動機定期清潔。蒸汽清潔發動機將去
除積聚的機油和潤滑脂。清潔的發動機有以下好
處:
This document has been printed from SPI2. NOT FOR RESALE
![]()
![]()
![]()
![]()
![]()
![]()
![]()

![]()
![]()

![]()
![]()
![]()
![]()
SCBU8352
47
加注容量
發動機空氣濾清器濾芯(雙濾芯) - 清潔/更換
•容易檢查到油液滲漏的地方
•最大的熱傳遞特性
•保養方便
雙濾芯空氣濾清器
雙濾芯空氣濾清器包括空氣粗濾器濾芯和空氣細
濾器濾芯。如果經過適當清潔和檢查,此空氣粗
濾器濾芯可以被使用多達6次。粗濾器濾芯每年
至少應更換一次。無論清潔過多少次,使用一年
后一定要更換。
注:清潔發動機時必須多加小心以便防止過多的水損
壞電氣部件。高壓清洗機或蒸汽清潔器不得對準任何
電氣接頭或接頭后部連接電纜的接頭處。避開電氣零
部件,例如交流發電機和起動馬達。確保噴油泵遠離
用于清洗發動機的液體。
空氣細濾器濾芯無法維護或洗滌。參見OEM資料
以獲得更換空氣細濾器濾芯的說明。當發動機在
多塵或骯臟的環境下運行時,空氣濾清器濾芯可
能需要更頻繁的更換。
i03616468
發發動動機機空空氣氣濾濾清清器器濾濾芯芯(雙雙濾濾芯芯)
-清清潔潔/更更換換
注意
未安裝空氣濾清器濾芯切勿運轉發動機。 空氣濾清器
濾芯損壞時也決不能運轉發動機。 不要使用褶紙、墊
圈或密封件損壞的濾芯。 污物進入發動機會造成發動
機零部件的早期磨損和損壞。 空氣濾清器濾芯有助于
防止空氣中的碎屑進入進氣口。
圖26
g00736431
(1)罩蓋
注意
在發動機運轉時切勿保養空氣濾清器濾芯,因為這樣
會使污物進入發動機。
(2)空氣粗濾器濾芯
(3)空氣細濾器濾芯
(4)進氣口
1.1.取下蓋。拆下空氣濾清器濾芯。
保養空氣濾清器濾芯
2.2.每清潔三次空氣粗濾器濾芯,就應取下并棄置
空氣細濾器濾芯。
注:珀金斯可能不提供空氣濾清器。下列步驟適用于
典型的空氣濾清器系統。關于正確的步驟,請參見
OEM資料。
注:請參見“檢查空氣粗濾器濾芯”。
如果空氣濾清器濾芯堵塞,空氣就可能將空氣濾
清器濾芯材料裂開。未經過濾的空氣將加劇發動
機內部的磨損。關于適合您的機器的正確的空氣
濾清器濾芯,請參見OEM資料。
3.3.用膠帶封蓋渦輪增壓器空氣進口以便遮擋灰
塵。
4.4.用清潔干燥的布清潔空氣濾清器蓋和殼體內
部。
•每天檢查預濾器(如有配備)和灰塵杯有無臟物
和碎屑堆積。需要時清除一切臟物和碎屑。
5.5.取下空氣進氣口的封帶。安裝空氣細濾器濾
芯。安裝新的或清潔過的空氣粗濾器濾芯。
•有些作業條件(灰塵、污物和碎屑)可能要求對空氣
濾清器濾芯進行頻繁的保養。
6.6.安裝空氣濾清器蓋。
•此空氣濾清器濾芯每年至少應更換一次。無論清
潔過多少次,使用一年后一定要更換。
7.7.復位空氣濾清器維護指示器。
用干凈的空氣濾清器濾芯更換臟的空氣濾清器濾
芯。安裝前,應徹底檢查空氣濾清器濾芯的過濾
材料是否有破裂和/或孔洞。檢查空氣濾清器濾
芯的密封墊或密封件有無損壞。保有適量替換用
空氣濾清器濾芯配件。
This document has been printed from SPI2. NOT FOR RESALE
![]()
![]()
![]()
![]()
![]()

![]()
![]()
48
SCBU8352
加注容量
發動機空氣濾清器濾芯(雙濾芯) - 清潔/更換
檢查空氣粗濾器濾芯
對準軟管的朝向,以使氣流在濾芯內沿濾清器長
度方向流動,這有助于防止損壞褶紙。不要將氣
流直接對準粗濾器的濾芯。臟物可能被更進一步
地壓入褶紙內部。
注意
如要自己清潔濾清器濾芯,應遵守以下原則:
注:請參考“檢查空氣粗濾器濾芯”。
不要敲打或撞擊濾清器濾芯來清除灰塵。
不要沖洗濾清器濾芯。
真空清潔
使用低壓壓縮空氣清除濾清器濾芯中的灰塵。 氣壓須
不得超過207 kPa (30 psi)。 使氣流對準濾清器濾芯
內的褶紙上下吹。 要特別小心以免損壞褶紙。
真空清潔是一種清潔那些在干燥多塵的環境下工
作的需要天天清潔的空氣粗濾器濾芯的好方法。
應優先采用壓縮空氣清潔。真空清潔不能清除積
碳和機油。
不要使用褶紙、墊圈或密封損壞的空氣濾清器。 臟物
進入發動機會損壞發動機的零部件。
注:請參考“檢查空氣粗濾器濾芯”。
請參見OEM資料以確定粗濾器濾芯的可清潔次
數。粗濾器濾芯清潔后,檢查過濾材料有無撕
裂。粗濾器濾芯每年至少應更換一次。無論清
潔過多少次,使用一年后一定要更換。
檢查空氣粗濾器濾芯
注意
不能用撞擊或敲打的方法清潔濾清器濾芯。 這樣會損
壞密封。 不要使用褶紙、墊圈或密封已損壞的濾芯。
損壞的濾芯會使臟物通過。 發動機可能因此而損壞。
清潔前,目測檢查空氣粗濾器濾芯。檢查空氣濾
清器濾芯的密封、密封墊圈和外蓋有無損壞。棄
置任何損壞的濾芯。
通常有兩種方法可用于清潔粗濾器濾芯:
•增壓空氣
•真空清潔
圖28
g00281693
檢查清潔、干燥的空氣粗濾器濾芯。在暗室或類
似設施中使用一個60瓦藍光燈。將藍光燈置于
空氣粗濾器濾芯中。轉動空氣粗濾器濾芯。檢
查空氣粗濾器濾芯有無破裂和/或孔洞。檢查有
無燈光透過空氣粗濾器濾芯的過濾材料。如有必
要,把檢查過的空氣粗濾器濾芯與零件號相同的
新濾芯進行比較,以便確認檢查結果。
壓縮空氣
壓縮空氣可用于清潔清潔次數不足兩次的粗濾器
濾芯。壓縮空氣不能清除積碳和機油。使用過
濾的干燥空氣,其最大壓力為207kPa(30psi)
。
不要使用過濾材料上出現任何破裂和/或孔洞的
空氣粗濾器濾芯。不要使用褶紙、墊圈或密封已
損壞的濾芯。棄置損壞的空氣粗濾器濾芯。
i03018735
發發動動機機空空氣氣濾濾清清器器濾濾芯芯(雙雙濾濾芯芯)
-清清潔潔/更更換換
請參閱操作和保養手冊發動機空氣濾清器保養指
示器-檢查。
圖27
g00281692
注:清潔粗濾器濾芯時,一定要從干凈的內側開始,
將臟物微粒沖向臟污的外側。
This document has been printed from SPI2. NOT FOR RESALE
![]()
![]()
![]()
![]()
![]()

![]()
![]()

![]()
![]()
SCBU8352
49
加注容量
發動機空氣濾清器保養指示器 - 檢查
測試保養指示器
注意
未安裝空氣濾清器濾芯切勿運轉發動機。 空氣濾清器
濾芯損壞時也決不能運轉發動機。 不要使用褶紙、墊
圈或密封件損壞的濾芯。 污物進入發動機會造成發動
機零部件的早期磨損和損壞。 空氣濾清器濾芯有助于
防止空氣中的碎屑進入進氣口。
保養指示器是重要裝置。
•檢查復位是否靈活。保養指示器應在少于3次按
推的情況下復位。
•發動機加速到發動機的額定轉速時,檢查黃芯的移
動情況。黃芯應大致鎖定在可以達到的最大真空
位置。
注意
在發動機運轉時切勿保養空氣濾清器濾芯,因為這樣
會使污物進入發動機。
如果保養指示器不燃油復位或黃色芯無法鎖定在
最大真空位置,應更換保養指示器。如果新的保
養指示器也不能復位,則保養指示器的安裝孔可
能有阻塞。
有多種空氣濾清器可以與本發動機一起使用。請
向OEM咨詢有關更換空氣濾清器的正確步驟。
如有必要,在嚴重多塵的環境下,保養指示器可
能需要頻繁更換。
i03616445
i03018708
發發動動機機空空氣氣濾濾清清器器保保養養指指示示器器-
檢檢查查
發發動動機機安安裝裝支支座座-檢檢查查
注:珀金斯可能不提供發動機支架。更多有關發動機
支架和正確的螺栓扭矩信息,請參閱OEM資料。
某些發動機可能裝有與此不同的保養指示器。
某些發動機配備進氣壓力差壓表。進氣壓力差壓
表顯示在空氣濾清器濾芯之前和之后測量的壓力
之差。空氣濾清器濾芯變臟時,壓差上升。如
果您的發動機配備了不同種類的保養指示器,遵
循OEM的建議,以便維護空氣濾清器的保養指示
器。
檢查發動機安裝基座是否老化,螺栓扭矩是否正
確。發動機振動可能由以下情況引起:
•發動機安裝不當
•發動機安裝基座老化
•發動機支架松動
空氣濾清器保養指示器可能裝在空氣濾清器上或
在較遠的地方。
應更換有老化跡象的發動機安裝基座。有關推薦
的扭矩,請參閱OEM資料。
i03018575
發發動動機機機油油油位位-檢檢查查
熱熱油油和和熱熱的的部部件件可可能能會會導導致致人人員員受受傷傷。。不不要要讓讓熱熱的的
油油和和部部件件接接觸觸皮皮膚膚。。
圖29
g00103777
典型的保養指示器
觀察保養指示器。發生以下情況之一時,空氣濾
清器濾芯就應被清潔或更換:
•黃色膜片進入紅色區域。
•紅色柱塞鎖定在可見位置。
This document has been printed from SPI2. NOT FOR RESALE
![]()
![]()
![]()
![]()
![]()
![]()

![]()
![]()
![]()
50
SCBU8352
加注容量
發動機機油油樣 - 采樣
采樣與分析
熱熱油油和和熱熱的的部部件件可可能能會會導導致致人人員員受受傷傷。。不不要要讓讓熱熱的的
油油和和部部件件接接觸觸皮皮膚膚。。
為幫助獲得最精準的分析,請在抽取油樣之前記
錄以下信息:
•取樣日期
•發動機型號
•發動機編號
圖30
g01165836
(Y) “最低(MIN)”標記。 (X) “最高(MAX)”標記。
•發動機的工時數
•上次更換機油以來的累計工作小時數
•上次更換機油以來的機油添加量
注意
在發動機停機時進行該保養。
確保裝油樣的容器清潔干燥。還要確保裝油樣的
容器貼有清晰標簽。
注:確保發動機水平或處于正常操作地點,以顯示真
實的液位。
為了確保油樣能代表曲軸箱中的機油,要采集溫
熱的、充分混合的機油油樣。
注:在關閉發動機后,檢查機油液位前先將發動機機
油排放到油底殼。
為了避免油樣被污染,用來采樣的工具和用品必
須干凈。
1.1.保持油位在發動機油尺的 “最低(MIN)”標記
(Y)和 “最高(MAX)”標記 (X) 之間。向曲軸箱
加注油時,不要超過 “最高(MAX)”標記 (X)。
可以檢查油樣以下幾點:機油質量,機油中是否
存在任何冷卻液,機油中是否存在任何黑色金屬
顆粒和機油中是否存在任何有色金屬顆粒.
注意
i03018578
當機油油位高于 “滿(FULL)” 標記時,操作發動機
會使曲軸浸入機油中。 曲軸浸入機油所產生的空氣
泡,會削弱機油的潤滑能力并導致功率損失。
發發動動機機機油油和和濾濾清清器器-更更換換
2.2.如有必要,取下加注口蓋,添加機油。清潔
機油濾清器加注口蓋。安裝機油加注口蓋。
熱熱油油和和熱熱的的部部件件可可能能會會導導致致人人員員受受傷傷。。不不要要讓讓熱熱的的
油油和和部部件件接接觸觸皮皮膚膚。。
i03616461
發發動動機機機油油油樣樣-采采樣樣
不要在發動機處于冷態時排放機油。由于機油較
冷,懸浮廢物微粒沉淀在油底殼的底部。廢物顆
粒無法隨放掉的冷態機油一起被清除。在發動機
停機時放掉曲軸箱機油。當機油仍然溫熱時,放
掉曲軸箱內的機油。這種放油方法可使懸浮在機
油中的廢物微粒隨機油一起放掉。
作為一種預防性維護保養程序,應定期檢查發動
機潤滑油的狀況。珀金斯包括選配件機油取樣
閥。配備機油采樣閥(如有配備)以定期采集發
動機潤滑油。機油采樣閥位于機油濾清器蓋或缸
體上。
不按該推薦程序進行操作會造成廢物微粒隨新機
油在發動機潤滑系統中再循環。
珀金斯建議使用取樣閥來獲取機油油樣。使用
采樣閥時,油樣質量和采樣一致性較好。在正常
發動機運行時采樣閥的位置使得機油可以在壓力
下流出而被采樣。
This document has been printed from SPI2. NOT FOR RESALE
![]()
![]()
![]()
![]()
![]()
![]()
![]()

![]()
![]()
![]()
![]()
2.使用適當的工具切開機油濾清器。展開褶紙,
SCBU8352
51
加注容量
發動機機油和濾清器 - 更換
排出發動機機油
檢查機油濾清器中是否有金屬碎屑。機油濾清
器中過量的金屬碎屑可能說明早期磨損或故障
即將發生。
用磁鐵來分離機油濾清器濾芯內發現的黑色金
屬和有色金屬。黑色金屬說明發動機的鋼或鑄
鐵零件磨損。
有色金屬說明發動機的鋁、黃銅或青銅零件磨
損。可能涉及的零件有:主軸承,連桿軸承,
渦輪增壓器軸承和缸蓋.
由于正常磨損和摩擦,機油濾清器內發現少量
的金屬碎屑是正常的。
圖31
g01356033
機油排放塞
待發動機在正常工作溫度下運轉后,使其停機。
采用以下方法之一來放掉發動機曲軸箱機油:
•如果發動機配備了放油閥,逆時針轉動放油閥旋鈕
以便放掉機油。機油放凈之后,順時針旋轉放油
閥的旋鈕以便關閉放油閥。
•如果發動機沒有配備放油閥,拆下機油排放塞(1)
以便放掉機油。如果發動機配備的是淺式油底
殼,分別從油底殼兩端的底部拆下機油排放塞。
機油放凈后,應清潔并安裝機油排放塞。如有必
要,更換排放塞上的O形密封圈。
圖32
g01356034
(2)濾清器蓋
(3)O形密封圈
由于油底殼的形狀,某些類型的油底殼在兩邊帶
有機油排放塞。這種類型的油底殼要求發動機機
油從兩個螺塞處排放。
3.清潔機油濾清器蓋 (2)的密封表面。確保機油
濾清器蓋內的接頭 (4)是固定的。
更換旋裝式機油濾清器
4.在機油濾清器的O形密封圈 (3)上涂覆清潔的
發動機機油。
注意
珀金斯 機油濾清器是按珀金斯 技術參數制造的。 使
用未被珀金斯 推薦的機油濾清器可能造成發動機軸承
和曲軸等發動機部件的嚴重損壞, 這些嚴重的發動機
損壞由未經過濾的機油攜帶進入發動機潤滑系統的大
的廢物顆粒引起的。 僅使用珀金斯 推薦的機油濾清
器。
注意
安裝前不要用機油充滿機油濾清器。 這些機油將不被
過濾并可能受到污染。 被污染的機油可能導致發動機
部件的加速磨損。
1.用適當的工具拆下機油濾清器。
5.安裝機油濾清器。按照在機油濾清器上的說
明用手擰緊機油濾清器。不要過分擰緊機油濾
清器。
注:下列操作作為預防性維護保養程序的一部分進
行。
This document has been printed from SPI2. NOT FOR RESALE
![]()
![]()
![]()
![]()
![]()

![]()
![]()

![]()
![]()
注:某些機油濾清器可垂直安裝。請參考圖 33。從步
52
SCBU8352
加注容量
發動機氣門間隙 - 檢查/調整
驟 (1)開始,拆卸和安裝機油濾清器。
圖34
g01165836
(Y) “最低(MIN)”標記。 (X) “最高(MAX)”標記。
4.4.取出機油油位表,檢查油位。保持油位在發
動機油尺的 “最低(MIN)”標記和 “最高(MAX)”
標記之間。
i03018531
圖33
g01356074
典型示例
發發動動機機氣氣門門間間隙隙-檢檢查查/調調整整
加注發動機曲軸箱
1.1.拆下機油加注口蓋。關于潤滑劑技術參數的
更多信息,請參閱操作和保養手冊。向曲軸箱
中加注適量的機油。有關加注容量的更多信
息,請參閱操作和保養手冊。
作為潤滑和預防性保養計劃的一部分,本珀金斯
推薦的保養能夠幫助發動機獲得最長使用壽命。
注意
只有具有資質的維修人員才能進行該項保養工作。 對
于整個氣門間隙調整步驟,請參閱維修手冊或與授權
的珀金斯 代理商或珀金斯 分銷商聯系。
注意
如果配備了輔助機油濾清器系統或遠距離機油濾清器
系統,遵循原始設備制造商 (OEM)或濾清器制造商的
建議。 曲軸箱的機油加注過度或不足都有可能導致發
動機的損害。
運行帶有錯誤氣門間隙的珀金斯 發動機將會降低發
動機效率,同時減少發動機部件的使用壽命。
進進行行該該項項保保養養時時,,確確保保發發動動機機不不會會被被起起動動。。不不要要使使
用用起起動動馬馬達達帶帶動動飛飛輪輪,,以以免免造造成成人人身身傷傷害害。。
注意
為防止曲軸軸瓦的損壞,在斷油情況下盤車起動發動
機。 這將在起動發動機之前將濾清器注滿。 發動機
盤車時間不要超過30秒鐘。
熱熱的的發發動動機機零零部部件件可可能能造造成成燙燙傷傷。。在在測測量量/調調整整氣氣
門門間間隙隙前前要要等等一一定定時時間間,,讓讓發發動動機機冷冷下下來來。。
2.2.起動并以 “低怠速(LOWIDLE)”運轉發動機兩
分鐘。進行此步驟是為了確保潤滑系統中有機
油和機油濾清器內充滿機油。檢查機油濾清器
是否有機油滲漏。
測量氣門間隙前確保發動機已停機。在發動機處
于熱態或冷態時,可對發動機氣門間隙進行檢察
和調整。
有關更多信息,請參閱系統運作、測試和調整發
動機氣門間隙-檢查/調整。
3.3.使發動機停機并等待至少十分鐘,使機油流回
油底殼。
This document has been printed from SPI2. NOT FOR RESALE
![]()
![]()
![]()
![]()
![]()
![]()
![]()
![]()

![]()
![]()

![]()
![]()
![]()
SCBU8352
53
加注容量
燃油噴油器 - 測試/更換
i03616459
不得對噴油器進行清潔,因為使用不當的工具會
損壞噴油嘴。僅在噴油器發生故障時進行更換。
以下所列的某些問題說明需要新的噴油器:
燃燃油油噴噴油油器器-測測試試/更更換換
•發動機將無法起動或起動困難。
•功率不足
•發動機缺火或發動機運行無規律。
•燃油消耗高
滲滲漏漏或或濺濺溢溢到到熱熱表表面面或或電電氣氣部部件件上上的的燃燃油油會會引引起起失失
火火。。
•排氣冒黑煙
注意
•發動機爆震或發動機內部振動。
•發動機溫度過高
不要讓臟物進入燃油系統。 徹底清潔將要拆開的燃油
系統部件的周圍區域。 在拆開的燃油系統部件上安放
適當的蓋。
噴油器的拆卸與安裝
注意
如果懷疑噴油器在正常技術參數外運轉,需要由具有
資質的技師將其拆下。被懷疑的噴油器應送到授權機
構進行檢查。
在在運運轉轉的的發發動動機機周周圍圍工工作作時時要要小小心心。。熱熱的的或或移移動動的的
發發動動機機零零件件可可能能導導致致人人身身傷傷害害。。
如圖35所示,燃油噴油器(1)沒有燃油回路。燃
油噴油器(2)有燃油回路。
確確保保測測試試期期間間一一直直佩佩戴戴護護目目裝裝備備。。測測試試噴噴油油嘴嘴時時,,
測測試試液液以以高高壓壓噴噴出出噴噴嘴嘴尖尖端端的的油油孔孔。。在在此此壓壓力力下下,,
測測試試液液可可能能會會穿穿透透皮皮膚膚,,對對操操作作人人員員造造成成嚴嚴重重傷傷
害害。。一一定定要要使使噴噴油油嘴嘴的的尖尖端端的的指指向向遠遠離離操操作作員員,,并并
深深入入集集油油器器和和接接長長筒筒。。
注意
如果您的皮膚接觸了高壓燃油,請立即就醫。
高怠速運轉發動機以鑒別故障噴油器。單獨松開
或緊固各噴油器高壓管的連接螺母。不得將連接
螺母松開超過半圈。當故障噴油嘴的連接螺母松
動時,將會對發動機速度有些影響。有關步驟,
請參閱解體和組裝手冊。向您的授權珀金斯代
理商或您的珀金斯分銷商尋求幫助。
i06151129
燃燃油油系系統統-充充油油
如果空氣進入燃油系統,在起動發動機前,必須
排除燃油系統的空氣。發生以下事件時,空氣可
能會進入燃油系統:
圖35
g01110422
典型噴油器
燃油噴油器(1)需要拆除,檢查噴油器性能。
This document has been printed from SPI2. NOT FOR RESALE
![]()
![]()
![]()
![]()
![]()
![]()
![]()
![]()
![]()
![]()
![]()

![]()
![]()
![]()
![]()
54
SCBU8352
加注容量
燃油系統粗濾器/油水分離器 - 放水
•燃油箱排空或燃油箱部分排放。
•斷開低壓燃油管。
i06151130
燃燃油油系系統統粗粗濾濾器器/油油水水分分離離器器-
放放水水
•低壓燃油系統存在泄漏。
•更換了燃油濾清器。
•安裝新噴油泵。
按照以下步驟,排出燃油系統中的空氣:
1.1.確保所有燃油連接安裝正確。
滲滲漏漏或或濺濺溢溢到到熱熱表表面面或或電電氣氣部部件件上上的的燃燃油油會會引引起起失失
火火。。為為防防止止可可能能的的傷傷害害,,當當更更換換燃燃油油濾濾清清器器或或油油水水
分分離離器器濾濾芯芯時時,,要要將將起起動動開開關關斷斷開開。。應應立立即即將將濺濺溢溢
的的燃燃油油清清除除干干凈凈。。
2.2.將鑰匙開關轉到RUN(運轉)位置。將鑰匙開
關停在運轉位置三分鐘。如果安裝有手動排氣
螺釘,在加注燃油系統期間,松開手動排氣螺
釘。
注意
油水分離器不是一個濾清器。 油水分離器將水從燃油
中分離出來。 決不允許在油水分離器中的水位過半時
運轉發動機。 可能導致發動機嚴重損壞。
3.3.將油門桿置于關閉位置,拖動發動機,直到發
動機起動。
注意
油水分離器在發動機正常運行時處于負壓狀態。 確保
排放口被牢固擰緊以便防止空氣進入燃油系統中。
圖36
g01228000
噴油器螺母
注:如有必要,擰松噴油管路與噴油器連接處的管接
頭螺母 (1),直到明顯滲出燃油。停止起動發動機。
將管接頭螺母擰緊至扭矩為27N·m(20lbft)。
4.4.起動發動機,并怠速運轉1分鐘。
5.5.從低怠速到高怠速位置循環操縱油門桿三次。
油門桿的一個完整周期大約為一秒到六秒。
注:為了清除從配有固定油門的Perkins發動機上的
噴油泵進入的空氣,發動機應當滿負荷運行30秒。
這一步應當重復三次。這樣有助于清除噴油泵中殘留
的空氣。
6.6.將發動機返回空載狀態。檢查燃油系統有無
滲漏。
This document has been printed from SPI2. NOT FOR RESALE
![]()
![]()
![]()
![]()
![]()
![]()

![]()
![]()
![]()
SCBU8352
55
加注容量
燃油系統粗濾器(油水分離器)濾芯 - 更換
注意
不要讓臟物進入燃油系統。 徹底清潔將要拆開的燃油
系統部件的周圍區域。 在拆開的燃油系統部件上安放
適當的蓋。
圖37
g01118416
(1)螺釘
(2)濾芯
(3)玻璃杯
(4)傳感器連接
(5)排放
(6)底蓋
圖38
g01118416
1.1.在油水分離器下面放置一個適當的容器。
典型示例
(1)螺釘
(2)濾芯
2.2.打開排放閥 (5) 。讓液體排放到容器內。
(3)玻璃杯
(4)傳感器連接
(5)排放
3.3.當看見干凈燃油從油水分離器中流出時,關閉
排放閥 (5)。用手力擰緊排放閥。正確處置放
出的液體。
(6)底蓋
1.1.轉動燃油箱供油閥(如有配備)至關閉位置。
i06151128
2.2.在油水分離器下面放置合適的容器。清潔油
水分離器的外部。
燃燃油油系系統統粗粗濾濾器器(油油水水分分離離器器)濾濾
芯-更更換換
3.3.打開排放閥 (5) 。讓液體排放到容器內。
4.4.只用手擰緊排放閥 (5)。
5.5.拿住濾芯 (2)并卸下螺釘 (1) 。從底座卸下濾
芯和玻璃杯 (3) 。丟棄舊濾芯。
滲滲漏漏或或濺濺溢溢到到熱熱表表面面或或電電氣氣部部件件上上的的燃燃油油會會引引起起失失
火火。。為為防防止止可可能能的的傷傷害害,,當當更更換換燃燃油油濾濾清清器器或或油油水水
分分離離器器濾濾芯芯時時,,要要將將起起動動開開關關斷斷開開。。應應立立即即將將濺濺溢溢
的的燃燃油油清清除除干干凈凈。。
6.6.清潔玻璃杯 (4)。清潔底蓋 (6)。
7.7.安裝新的O形環密封圈。將底蓋安裝到新濾
芯上。將組件安裝到底座上。
This document has been printed from SPI2. NOT FOR RESALE
![]()
![]()
![]()
![]()

![]()
![]()
![]()

![]()
![]()
56
SCBU8352
加注容量
燃油系統細濾清器 - 更換
8.8.安裝螺釘 (1)并將螺釘擰緊至8N·m
(6lbft)的扭矩。
9.9.卸下容器并安全地處理燃油。
1010..打開供油閥。
1111..充注燃油系統。有關更多信息,參考操作和
保養手冊燃油系統-充注。
i06151112
燃燃油油系系統統細細濾濾清清器器-更更換換
滲滲漏漏或或濺濺溢溢到到熱熱表表面面或或電電氣氣部部件件上上的的燃燃油油會會引引起起失失
火火。。為為防防止止可可能能的的傷傷害害,,當當更更換換燃燃油油濾濾清清器器或或油油水水
分分離離器器濾濾芯芯時時,,要要將將起起動動開開關關斷斷開開。。應應立立即即將將濺濺溢溢
的的燃燃油油清清除除干干凈凈。。
注意
不要讓臟物進入燃油系統。 徹底清潔將要拆開的燃油
系統部件的周圍區域。 在拆開的燃油系統部件上安放
適當的蓋。
圖39
g01440509
典型示例
(1)燃油注油泵
(2)旋壓式濾清器
(3)排放
旋壓式濾清器
執行此維護保養前,將燃油管閥(如有配備)轉
到斷開位置。在燃油濾清器下面放置一個塔盤,
以便盛接所有可能灑出的燃油。立即清理所有濺
溢的燃油。
1.1.清潔燃油濾清器組件的外表面。打開排油口
(3),將燃油排放到適當的容器中。
2.2.使用適當的工具將旋裝式濾清器 (2)從燃油注
油泵 (1)上拆下。
3.3.確保新的旋壓式濾清器上的排油口 (3)關閉。
This document has been printed from SPI2. NOT FOR RESALE
![]()
![]()
![]()
![]()
![]()

![]()
![]()
SCBU8352
57
加注容量
軟管和卡箍 - 檢查/更換
檢查下列情況:
•管端接頭有損壞或滲漏
•外覆層有磨損或割傷
•金屬絲加強筋暴露在外
•外覆層隆起鼓包
•軟管的柔性部分扭結或擠壓
•鎧裝護套嵌入外覆層
在所有使用標準軟管夾的地方,都可以使用恒定
扭矩軟管夾。確保恒定扭矩軟管夾箍與標準夾箍
尺寸相同。
軟管由于溫度劇烈變化將會硬化。軟管硬化將會
引起軟管卡箍變松。可能因此而導致泄漏。恒
定扭矩軟管夾箍將有助于防止軟管夾箍松動。
每次安裝使用可能有區別。不同之處取決于下面
因素:
圖40
g01440510
典型示例
•軟管類型
4.4.用清潔的燃油潤滑密封圈 (4)。
•接頭材料的類型
•軟管的預期膨脹和收縮
•接頭的預期膨脹和收縮
5.5.將旋裝式濾清器 (2)安裝到燃油注油泵 (1)的
頂部。
6.6.用手緊固旋裝式濾清器直至密封圈與燃油注油
泵相接觸。將旋壓式濾清器旋轉90度。
更換軟管和夾箍
更多有關拆卸和更換燃油軟管(如果裝備)的信
息請參閱OEM資料。
7.7.充注燃油系統。請參閱操作和保養手冊燃油
系統-充油。
冷卻系統和冷卻系統軟管通常不由珀金斯提供。
下文描述了一種更換冷卻液軟管的典型方法。更
多有關冷卻系統和冷卻系統軟管的信息請參閱
OEM資料。
i03018736
軟軟管管和和卡卡箍箍-檢檢查查/更更換換
檢查所有軟管是否有由以下情況引起的滲漏:
加加壓壓的的系系統統::熱熱的的冷冷卻卻液液能能造造成成嚴嚴重重的的燙燙傷傷。。在在發發
動動機機停停機機,,等等待待冷冷卻卻系系統統部部件件冷冷卻卻下下來來后后再再打打開開冷冷
卻卻系系統統加加注注口口蓋蓋。。緩緩慢慢松松開開冷冷卻卻系系統統加加注注口口蓋蓋,,以以
釋釋放放掉掉所所有有壓壓力力。。
•破裂
•軟化
•夾箍松脫
1.1.使發動機停機。讓發動機冷卻下來。
更換破裂或軟化的軟管。擰緊任何松動的夾箍。
2.2.緩慢地松開冷卻系統加注口蓋,以釋放掉所有
壓力。拆下冷卻系統加注口蓋。
注意
不要彎曲或敲擊高壓管路。 不要安裝被彎曲或損壞的
管路、管道和軟管。 修理所有松動或損壞的燃油和機
油管路、管道和軟管。 泄漏會造成火災。 仔細檢查
所有管路、管道和軟管。 按照推薦扭矩擰緊所有接
頭。 不要在高壓管上夾上任何其它的東西。
注:把冷卻液排放到適當、清潔的容器中。此冷卻液
可以被再利用。
3.3.從冷卻系統中排放部分冷卻液,使冷卻液液位
低于要更換的軟管。
4.4.拆去軟管的卡箍。
This document has been printed from SPI2. NOT FOR RESALE
![]()
![]()
![]()
![]()

![]()
![]()
![]()
58
SCBU8352
加注容量
散熱器 - 清潔
5.5.拆開舊軟管。
散熱器清潔完畢后,起動發動機。讓發動機低怠
速運行三至五分鐘。提高發動機轉速至高怠速。
這有助于清除碎屑和干燥芯。緩慢降低發動機速
度至低怠速,然后停止發動機。在散熱器芯后面
放一個燈泡來檢查芯是否清潔。必要時再次清
潔。
6.6.用新軟管更換損壞的軟管。
7.7.用一把扭力扳手安裝軟管卡箍。
注:有關正確的冷卻液,請參閱操作與保養手冊油液
建議。
8.8.重新加注冷卻系統。有關重新加注冷卻系統
的更多信息請參閱OEM資料。
檢查散熱片有無損壞。彎曲了的散熱片可用一把
“梳刀”梳開。檢查這些項目是否處于良好狀
態:焊接處,安裝支架,空氣管路,連接處,卡箍
和密封件.必要時進行修理。
9.9.清潔冷卻系統加注口蓋。檢查冷卻系統加注
口蓋密封墊圈。如果密封圈損壞,更換冷卻系
統加注口蓋。安裝冷卻系統加注口蓋。
i03018732
惡惡劣劣條條件件作作業業-檢檢查查
1010..起動發動機。檢查冷卻系統是否滲漏。
繁重作業是指發動機的應用超出這臺發動機發布
的現行標準。珀金斯維護以下發動機參數的標
準:
i03018579
散散熱熱器器-清清潔潔
•功率范圍、轉速范圍和油耗等性能指標
•燃油質量
珀金斯通常不提供散熱器。下文記述了一個典型
的散熱器清潔步驟。更多有關清潔散熱器的信
息,請參閱OEM資料。
•工作海拔高度
•保養周期
注:根據作業環境影響的情況調整清潔工作的頻率。
•機油選擇和保養
•冷卻液類型和保養
•環境質量
檢查散熱器的這些項目:損壞的散熱片,腐蝕,
污垢,油脂,昆蟲,樹葉,機油和其它碎屑.必要
時清潔散熱器。
•安裝
高高壓壓空空氣氣會會造造成成人人身身傷傷害害。。
•發動機內的油液溫度
不不按按下下面面的的適適當當步步驟驟進進行行操操作作會會造造成成人人身身傷傷害害。。使
用用壓壓縮縮空空氣氣時時,,戴戴防防護護面面罩罩及及穿穿防防護護服服。。
請參閱發動機的標準或咨詢您的珀金斯代理商
或您的珀金斯分銷商,以便確定發動機是否在
規定參數范圍內運轉。
用用做做清清洗洗用用途途時時,,噴噴嘴嘴處處最最大大空空氣氣壓壓力力必必須須低低于于
202055kPkPaa(3030pspsii)。
繁重作業運行可能加速部件磨損。在繁重工作條
件下運行的發動機可能需要更為頻繁的保養周
期,以便確保最大限度的可靠性和保持發動機的
全額使用壽命。
壓縮空氣是清除松動碎屑的首選方法。將壓縮空
氣對著與風扇氣流相反的方向吹。將噴嘴保持在
距散熱片大約6mm(0.25in)遠的地方。在與散
熱器管組件平行的方向緩慢移動空氣噴嘴。這將
清除在管道之間的碎屑。
由于單個發動機的應用不同,不可能把所有可能
導致繁重作業運行的促成因數確定下來。請咨詢
您的珀金斯代理商或您的珀金斯分銷商以獲得
有關發動機必要的專用保養。
加壓水也可用于清洗。清洗用的最大水壓必須低
于275kPa(40psi)。用高壓水來使污泥軟化。
從兩側清潔芯。
工作環境、不適當的操作步驟和不正確的保養步
驟可能都是導致繁重作業運行的促成因數。
用去油劑和蒸汽來清除機油和潤滑脂。清潔芯的
兩端。用去污劑和熱水沖洗芯。用干清水徹底
漂洗芯。
環境因素
環環境境溫溫度度–發動機可能在極冷或極熱環境下長
時間運行。如果發動機在非常寒冷的溫度下頻繁
起動和停機,氣門部件可能因積碳而損壞。極熱
的進氣會降低發動機性能。
如果散熱器內部被堵塞,請參閱OEM手冊中關于
沖洗冷卻系統的信息。
This document has been printed from SPI2. NOT FOR RESALE
![]()
![]()
![]()
空氣氣質質量量–發動機可能在骯臟或多塵的環境下
如果發動機運轉時渦輪增壓器出故障,則可能會
損壞渦輪增壓器壓氣葉輪和/或發動機。渦輪增
壓器壓氣葉輪的損壞可能進一步導致活塞,氣門
和缸蓋的損壞。
SCBU8352
59
加注容量
起動馬達 - 檢查
空
長時間運行,除非設備得到定期清潔。泥漿,臟
物和灰塵可能封埋部件。保養可能非常困難。
堆積物可能含有腐蝕性化學制品。
堆堆積積物物–復合物、元素、腐蝕性化學制品和鹽
可能對某些部件有損害。
注意
注意:渦輪增壓器軸承損壞會造成大量機油進入進氣
及排氣系統。發動機潤滑劑缺失會造成發動機的嚴重
損壞。
海海拔拔高高度度–發動機在超過為其應用而預先設定
的海拔高度運行時可能會出現問題。應該進行必
要的調整。
渦輪增壓器在低怠速下運轉時間過長時會出現微小滲
漏,只要渦輪增壓器軸承不出現損壞,這種微小滲漏
應不會成為問題。
不正確的操作步驟
•低怠速下長期運行
•頻繁(未經冷卻)熱機停機
•過負荷運行
當渦輪增壓器軸承損壞,并伴有發動機明顯的性能下
降(排氣冒煙或發動機無負載時轉速升高)時,在修
好或更換渦輪增壓器之前,請不要繼續運轉發動機。
目視檢查渦輪增壓器能最大程度減少非計劃的停
機時間。目視檢查增壓器還可以降低對發動機的
其它零件造成潛在損害的可能性。
•過速運行
•在預定應用范圍之外運行
拆卸和安裝
不正確的保養步驟
注:所提供的渦輪增壓器不可維修。
•延長保養周期
關于拆卸、安裝和更換的選擇,請向您的珀金斯
代理商或您的珀金斯分銷商咨詢。有關更多信
息,請參閱解體和組裝手冊渦輪增壓器-拆卸和
安裝。
•不使用推薦的燃油、潤滑劑和冷卻液/防凍液
i03018695
檢查
起起動動馬馬達達-檢檢查查
注意
渦輪增壓器的壓縮機殼體不得從渦輪增壓器上拆下進
行清潔。
珀金斯建議定期檢查起動馬達。如果起動馬達
發生故障,發動機在緊急情況下就無法起動。
將執行器連桿連接到壓縮機殼體。如果執行器連桿被
移動或破壞,發動機可能無法滿足排放標準。
檢查起動馬達是否正常工作。檢查和清潔電氣連
接。請參閱系統運作、測試和調整手冊電起動系
統-測試以獲得更多有關檢查步驟和技術參數的
信息,也可向您的珀金斯代理商或珀金斯分銷
商尋求幫助。
1.1.拆下渦輪增壓器的進氣管和排氣管。直觀檢
查管道內是否有機油。清潔管道內部以便防止
重新裝配時污物進入進氣系統。
i03018733
2.2.檢查是否存在機油。如果壓縮機葉輪的背面
漏油,有可能是渦輪增壓器油封失效。
渦渦輪輪增增壓壓器器-檢檢查查
(如有配備)
機油的出現可能是發動機長期低怠速運行的結
果。機油的出現還可能是進氣管道的阻力(空
氣濾清器堵塞),從而導致渦輪增壓器滲油引
起的。
推薦對渦輪增壓器進行定期目視檢查。任何來自
曲軸箱的煙霧都通過進氣系統過濾。因此,從機
油中來的和燃燒后產生的副產品可能聚集在渦輪
增壓器壓氣機殼體。時間一長,這些積聚物可能
促使發動機功率損失,黑煙增多和發動機的整體
效率的降低。
3.3.檢查渦輪機出口殼體的孔徑有無腐蝕。
4.4.將進氣管和排氣出口管緊固在渦輪增壓器殼體
上。
This document has been printed from SPI2. NOT FOR RESALE
![]()
![]()
![]()
![]()
![]()
60
SCBU8352
加注容量
圍繞檢查
i03018681
•檢查潤滑系統中是否在曲軸前油封、曲軸后油封、
油底殼、機油濾清器和搖臂室蓋處有滲漏。
圍圍繞繞檢檢查查
•檢查燃油系統中是否有泄漏。查找松動的燃油管
卡箍和/或束帶。
檢查發動機是否滲漏,連接處是否松
動
•檢查進氣系統的管道和彎頭有無裂紋,卡箍是否松
動。確保軟管和管道不與其它軟管、管道和線束
等接觸。
圍繞發動機檢查只花費幾分鐘。花費一點時間進
行這些檢查,可以避免昂貴的修理和事故。
•檢查交流發電機皮帶和所有附件驅動皮帶有無裂
紋、斷裂或其它損壞。
為了使發動機獲得最長的使用壽命,在起動發動
機之前要對發動機室進行一次徹底檢查。查看如
機油滲漏或冷卻液滲漏、螺栓松動、皮帶磨損、
連接處松動和垃圾堆積等項目。根據需要進行修
理:
多槽皮帶輪的皮帶必須成套更換。如果只更換一
根皮帶,則這根皮帶就會比其它沒更換的皮帶承
受更大的負荷。因為原來的皮帶已被拉長。額
外負荷就會加到新皮帶上,從而造成皮帶斷裂。
•每天都要放掉燃油箱中的水和沉渣,以確保只有清
潔的燃油才能進入燃油系統。
•護罩必須安裝到位。修理損壞的護罩或更換缺失的
護罩。
•檢查線路和導線束是否有連接處松動,導線是否磨
損或擦傷。
•維修發動機前先擦拭所有的罩蓋和塞堵,以減少系
統污染的機會。
•檢查接地導線接線和狀況是否良好。
注意
•斷開所有無法防護起動馬達的吸耗電流的蓄電池充
電裝置。除非發動機裝的是免維護蓄電池,否則
要檢查蓄電池的狀況和電解液液位。
擦拭掉任何種類的滲漏液體(冷卻液、潤滑油或燃
油)。 如果觀察到滲漏情況,要找出泄漏的原因并解
決。 如果懷疑有滲漏,應比推薦次數更為頻繁地檢查
液位,直到找到或修好滲漏,或直到不再懷疑有滲
漏。
•檢查儀表的狀況。更換破裂的儀表。更換所有不
能被校準的儀表。
i03018580
注意
水水泵泵-檢檢查查
積聚在發動機上的潤滑脂和 /或機油有失火危險。 清
除積聚的潤滑脂和機油。 有關更多的資料,請參閱操
作和保養手冊發動機-清潔。
失效的水泵可能引起嚴重的發動機過熱問題,進
而導致以下情況:
•確保冷卻系統軟管夾緊正確,連接緊密。檢查是
否泄漏。檢查所有管道的狀況。
•缸蓋裂紋
•檢查水泵是否有冷卻液泄漏。
•活塞咬缸
注:水泵密封由冷卻系統的冷卻液進行潤滑。當發動
機降溫而零件收縮時,有少量滲漏發生是正常的。
•其它對發動機的潛在損害
注:水泵密封由冷卻系統的冷卻液來潤滑。當發動機
降溫而零件收縮時,有少量滲漏發生是正常的。
冷卻液過量滲漏說明需要更換水泵密封。關于水
泵和/或密封的拆卸和安裝的更多信息,請參閱
解體和組裝手冊水泵-拆卸和安裝,或向您的珀
金斯代理商或您的珀金斯分銷商咨詢。
目視檢查水泵是否滲漏。如果有過多的冷卻液滲
漏,更換水泵密封或水泵。有關拆解和組裝步
驟,請參閱拆解和組裝手冊水泵-拆卸和安裝。
This document has been printed from SPI2. NOT FOR RESALE
![]()
![]()
![]()
![]()
![]()
SCBU8352
61
保修部分
排放保修信息
保修部分
保修信息資料
i03018731
排排放放保保修修信信息息
本發動機在制造時可能已經過認證符合法律規定
的廢氣排放標準和氣體排放標準,同時本發動機
可能在排放保證的范圍以內。請咨詢您的授權珀
金斯代理商或珀金斯分銷商,確定您的發動機
是否經過排放認證并且該發動機是否擁有排放保
證。
This document has been printed from SPI2. NOT FOR RESALE
![]()
索引
62
SCBU8352
索引部分
一
未配備冷卻液回收箱的發動機......................46
上、下設備.......................................................10
一般危險信息.....................................................6
盛裝溢出的液體..............................................7
壓縮空氣和水.................................................7
液體穿透.........................................................7
刀
前言....................................................................4
安全................................................................4
保養................................................................4
保養周期.........................................................4
操作................................................................4
大修................................................................4
加利福尼亞州65號提案中的警告....................4
文獻資料.........................................................4
亠
產品識別信息資料............................................15
產品信息資料部分............................................12
交流發電機-檢查............................................40
交流發電機和風扇皮帶-檢查/調整/更換.......40
調整..............................................................41
更換..............................................................41
檢查..............................................................40
力
功能部件和控制裝置........................................20
加注容量..........................................................29
冷卻系統.......................................................29
潤滑系統.......................................................29
人
保修部分..........................................................61
保修信息資料...................................................61
保養部分..........................................................29
保養周期表.......................................................39
每1000工作小時............................................39
每12000個工作小時數或每6年的保養...........39
每2000工作小時............................................39
每3000個工作小時或每2年...........................39
每4000工作小時............................................39
每500個工作小時或1年.................................39
每6000個工作小時或3年...............................39
每天的保養...................................................39
需要時即進行的保養....................................39
儀表和指示燈...................................................19
厶
參考號..............................................................15
供參考用的檔案記錄....................................15
又
發動機-清潔...................................................46
發動機安裝支座-檢查....................................49
發動機機油和濾清器-更換.............................50
更換旋裝式機油濾清器.................................51
加注發動機曲軸箱........................................52
排出發動機機油............................................51
發動機機油油位-檢查....................................49
發動機機油油樣-采樣....................................50
采樣與分析...................................................50
發動機空氣濾清器保養指示器-檢查..............49
測試保養指示器............................................49
發動機空氣濾清器濾芯(雙濾芯)-清潔/更
換............................................................47–48
保養空氣濾清器濾芯....................................47
檢查空氣粗濾器濾芯....................................48
發動機描述.......................................................13
發動機技術規格............................................13
發動機冷卻與潤滑........................................14
發動機使用壽命............................................14
發動機暖機.......................................................24
冫
冷卻系統長效冷卻液(ELC)延長劑-添加.........45
冷卻系統冷卻液(市售重載)-更換..............42
沖洗..............................................................43
放水..............................................................43
加注..............................................................43
冷卻系統冷卻液[長效冷卻液(ELC)]-更換.....44
沖洗..............................................................44
放水..............................................................44
加注..............................................................45
冷卻系統冷卻液液位-檢查.............................45
配備冷卻液回收水箱的發動機......................45
This document has been printed from SPI2. NOT FOR RESALE
![]()
SCBU8352
63
索引部分
發動機起動................................................10,21
發動機起動后...................................................23
發動機起動前...................................................21
發動機氣門間隙-檢查/調整...........................52
發動機識別.......................................................15
發動機停機................................................10,25
發動機停機后...................................................25
發動機運行.......................................................24
手
操作部分..........................................................17
排放保修信息...................................................61
排放認證貼膜...................................................16
攴
散熱器-清潔...................................................58
口
木
后冷器芯-檢查...............................................40
后冷器芯-清潔/測試......................................39
機型視圖..........................................................12
1103D發動機型號視圖.................................12
機型視圖說明...................................................12
囗
圍繞檢查..........................................................60
檢查發動機是否滲漏,連接處是否松動.......60
水
水泵-檢查.......................................................60
渦輪增壓器-檢查(如有配備)........................59
拆卸和安裝...................................................59
檢查..............................................................59
油液建議.............................................29,33,36
ELC冷卻系統保養.........................................31
發動機機油...................................................34
冷卻系統技術規格........................................29
燃油技術規格...............................................36
通用潤滑劑信息............................................33
宀
安全標志............................................................5
(1)通用警告...............................................5
(2)乙醚..........................................................6
安全部分............................................................5
寒冷天氣操作...................................................26
發動機怠速運轉............................................27
發動機潤滑油粘度........................................26
寒冷天氣操作建議........................................26
冷卻液升溫建議............................................27
推薦使用的冷卻液........................................26
寒冷天氣起動...................................................22
寒冷天氣下與燃油有關的部件.........................28
燃油加熱器...................................................28
燃油濾清器...................................................28
燃油箱..........................................................28
火
燃油關斷..........................................................20
燃油和寒冷天氣的影響....................................27
燃油噴油器-測試/更換...................................53
噴油器的拆卸與安裝....................................53
燃油省油準則...................................................24
燃油系統-充油...............................................53
燃油系統粗濾器(油水分離器)濾芯-更換.......55
燃油系統粗濾器/油水分離器-放水................54
燃油系統細濾清器-更換.................................56
旋壓式濾清器...............................................56
廣
序列號標牌.......................................................15
心
用
惡劣條件作業-檢查........................................58
不正確的保養步驟........................................59
不正確的操作步驟........................................59
環境因素.......................................................58
用跨接起動電纜起動........................................22
田
電氣系統..........................................................11
接地方法.......................................................11
This document has been printed from SPI2. NOT FOR RESALE
![]()
64
SCBU8352
索引部分
目
油....................................................................8
防止壓傷和割傷.................................................9
目錄....................................................................3
糸
緊急停機..........................................................25
艸
蓄電池-更換...................................................41
蓄電池電解液液位-檢查.................................42
蓄電池或蓄電池電纜-斷開.............................42
衣
被驅動設備-檢查............................................46
讠
設備起吊..........................................................17
設備貯存..........................................................17
進氣系統.......................................................18
冷卻系統.......................................................17
排氣系統.......................................................18
潤滑系統.......................................................17
通用項目.......................................................18
走
起吊和貯存.......................................................17
起動發動機前...................................................10
起動馬達-檢查...............................................59
車
軟管和卡箍-檢查/更換...................................57
更換軟管和夾箍............................................57
里
重要安全事項.....................................................2
阝
防火與防爆.........................................................8
管路、管子和軟管..........................................9
滅火器............................................................9
防止燙傷............................................................7
冷卻液............................................................8
蓄電池............................................................8
This document has been printed from SPI2. NOT FOR RESALE