韓國斗山大宇燃油噴射系統(Fuel injection system)
燃油在壓力下貯存到共軌噴油器中以備噴射。噴射燃油的數量由駕駛員確定,噴射
的開始和噴射壓力根據貯存數據通過ECU 進行計算。然后ECU 引發電磁閥,每個
發動機氣缸上的噴油器(噴射裝置)相應地進行噴射。

2.3.17. 韓國斗山大宇燃油系統排放(Bleeding the fuel system)
� 旋松自二次燃油濾清器連接到燃油高壓泵的燃油傳輸管,手動操作啟動注油泵,直到沒有泡沫出來,并排放系統。
2.3.18. 韓國斗山大宇噴油器和高壓連接器(Injector & high pressure connector)
� 在拆卸時,小心不要把異物混到噴油器里和連接到高壓連接器內并進行檢查。
� 重新組裝時,O 型環和銅襯墊應更換新的。
� 在O 型環上涂油后組裝。
� 檢查替換部件的序列號后進行組裝。
� 必須參照拆卸與重新組裝章節的說明,根據組裝順序進行組裝。

韓國斗山大宇空氣中冷器(Intercooler)
� 中冷器是空對空中冷型,需要一個大制冷量的風扇。中冷器的使用壽命主要由吸入
的空氣狀況決定。
� 臟的空氣會污染和堵塞中冷器的散熱片。結果導致發動機輸出功率下降和發生故障,
所以要經常檢查進氣系統如空氣濾清器元件是否損傷或污染。

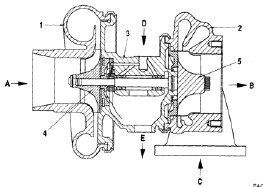
2.3.20. 韓國斗山大宇渦輪增壓器(Turbo charger)
� 渦輪增壓器無需特殊的維護。
� 每次更換機油時,應檢查油管是否有漏油或堵塞現象。
� 應悉心保養空氣濾清器,以防進入異物,應定期檢查增壓的壓縮空氣和排氣管。漏氣將導致發動機過熱,所以應及時進行維修。
� 在灰塵和油漬混淆的場所運行時,應經常清洗葉輪片。拆卸葉輪片殼(注意:請勿彎
曲),利用非酸性溶劑清洗。必要時,可使用塑膠刮刀。如果葉輪片污染程度特別嚴重,可將葉輪片放入溶劑中,并利用硬刷擦洗。此時應注意只浸泡葉輪片,不要利用葉輪片支撐渦輪增壓器,而應利用軸承座支撐。
