日本三菱柴油發動機S6R2-PTA-C S6R2-PTAA-C S12R-PTA-C S12R-PTA2-C S12R-PTAA2-C S16R-PTA-C S16R-PTA2-C S16R-PTAA2-C維修保養手冊
前言
日本三菱柴油發動機S6R2-PTA-C S6R2-PTAA-C S12R-PTA-C S12R-PTA2-C S12R-PTAA2-C S16R-PTA-C S16R-PTA2-C S16R-PTAA2-C維修手冊主要說明柴油機的規格、維修保養和調試的方法。為了維持發動機的良好性能,長期安全地運轉使用,正確的保養和定期的檢修, 以及正確地進行解體、檢查調整和組裝等是非常重要的。在進行發動機的解體、檢查調整和組裝之前,務請仔細閱讀本手冊,充分理解維修作業有關的要領。
用語
公稱值
表示檢測部件的公稱尺寸。
標準值
表示單一部件的尺寸、部件相互間的間隙或標準性能。但表示數值為檢測的允許范圍內數值,和設計數值并不完全相同。
極限值
表示達到該數值時部件需要進行修理或更換。
縮略語, 規范等
BTDC = 上死點前
ATDC = 上死點后
BBDC = 下死點前
ABDC = 下死點后
TIR = 全幅跳動
API = 美國石油協會
ASTM = 美國材料試驗協會
JIS = 日本工業標準
LLC = 長效冷卻劑
MIL = 美國軍用標準
MSDS = 化學品安全數據表
SAE = 美國汽車技術協會
P/N = 零部件編號
GB/T=國標(中國國家標準/推薦標準)
使用單位
本手冊中使用的單位,以SI 單位( 國際單位制) 為基準,換算的米制單位記載在{ } 內。SI 單位和米制單位的換
算方法如下。
壓力: 1 MPa = 10.197 kgf/cm2
扭矩 : 1 N·m = 0.10197 kgf·m
力: 1 N = 0.10197 kgf
馬力: 1 kW = 1.341 HP = 1.3596 PS
水銀柱米高: 1 kPa = 0.7 cmHg
水柱米高: 1 kPa = 10.197 cmH2O(cmAq)
轉速: 1 min-1 = 1 rpm
日本三菱柴油發動機解體、組裝時的注意事項
本維修手冊記載本公司推薦的檢修作業的要領。另外,也包括作業中使用的專用工具和安全上的注意事項。但是,危險存在于各種時,本手冊無法將所有的安全事項全部羅列。
在檢修作業中,請務必遵照本手冊充分注意以下的各項內容。
解體時的注意事項
使用正確合適的工具和器具。否則會引起重大的損害或事故。端部呈銳角的拆卸螺栓,會損傷裝配面因而不能使用。根據必要準備腳手架、整理解體部件用的作業臺等,按照解體順序進行解體。解體后的零部件不要放置在地面上,要放置在作業臺等的上面。將解體的零部件整理并按順序排列放存,避免遺失。解體的零部件要按照組裝位置的順序排列保存。再使用時,如無特別的理由,應安裝在原先的位置。解體時要充分注意裝配記號,沒有裝配記號的部位必要時要作記號。
在解體和清洗日本三菱柴油發動機時要始終注意有無異常,解體后或清洗后有些故障將不再能夠被發現,注意不要使這些故障被遺漏。
注意安全,對于解體部件的平衡和重物的搬移要特別
注意。 ( 必要時除借助人力外,還要使用千斤頂、鏈式葫蘆和導向螺栓。)接觸過熱或冷卻處理的零部件時,要使用保護手套。直接用手接觸會引起燙傷。
組裝時的注意事項
除油封、O形圈和橡膠密封圈等以外的部件,要用清洗油充分清洗,然后用壓縮空氣完全吹干。使用正確合適的工具和器具。
使用合適的優質潤滑油和油脂。 另外,在有潤滑油、油脂或粘接劑涂布指示的部位一定要實施涂布。在有扭矩指示的部位一定要用扭力扳手,按照規定的扭矩緊固。參照「緊固扭矩一覽表」。更換新的墊圈、墊片和O形圈。另外,必要時涂抹粘接
劑。但是,粘接劑量不要使用過多。接觸過熱或冷卻處理的零部件時,要使用保護手套。直接用手接觸會引起燙傷。
總目錄
第1 章概要
1. 日本三菱柴油發動機外形圖
2. 各系統的概要圖
3. 銘牌、標簽的記載內容
4. 日本三菱柴油發動機技術規格
第2 章檢修資料
1. 日本三菱柴油發動機檢修資料表
2. 緊固扭矩一覽表
第3 章維修工具
1. 特殊工具
第4 章大修期的判斷
1. 日本三菱柴油發動機大修時期的判斷
2. 壓縮壓力的測定
第5 章發動機本體的解體
1. 日本三菱柴油發動機氣缸頭、氣閥機構的解體,檢修
2. 后部裝置的解體,檢修
3. 前部裝置的解體,檢修
4. 缸套、活塞、連桿的解體,檢修
5. 曲軸箱、曲軸、主軸承的解體,檢修
第6 章發動機本體的檢測,修理
1. 日本三菱柴油發動機氣缸頭、氣閥機構的檢測,修理
2. 后部裝置的檢測,修理
3. 日本三菱柴油發動機前部裝置的檢測,修理
4. 日本三菱柴油發動機活塞、連桿的檢測,修理
5. 日本三菱柴油發動機曲軸箱、曲軸的檢測,修理
第7 章日本三菱柴油發動機本體的組裝
1. 日本三菱柴油發動機安裝曲軸、主軸承
2. 日本三菱柴油發動機缸套、活塞、連桿的組裝
3. 前部裝置的組裝
4. 后部裝置的組裝
5. 日本三菱柴油發動機氣缸頭、氣閥機構的組裝
第8 章燃油系統
1. 燃油系統的拆卸,檢測
2. 燃油系統的解體,檢修,組裝
3. 燃油系統的安裝
第9 章潤滑油系統
1. 潤滑油系統的拆卸,檢測
2. 潤滑油系統的解體,檢修,組裝
3. 潤滑油系統的安裝
第10 章 日本三菱柴油發動機冷卻系統
1. 冷卻系統的拆卸,檢測
2. 冷卻系統的解體,檢修,組裝
3. 冷卻系統的安裝
第11 章 日本三菱柴油發動機進排氣系統
1. 進排氣系統的拆卸,檢測
2. 進排氣系統的解體,檢修,組裝
3. 進排氣系統的安裝
第12 章 日本三菱柴油發動機空氣起動系統
1. 空氣起動系統的拆卸,檢測
2. 空氣起動器系統的解體
3. 空氣起動系統的安裝
第13 章 日本三菱柴油發動機調整和運轉
1. 日本三菱柴油發動機的調整
2. 磨合運轉
3. 日本三菱柴油發動機的試驗和調整
1. 日本三菱柴油發動機外形圖

日本三菱柴油發動機前側圖

日本三菱柴油發動機后側圖



日本三菱柴油發動機左側圖

日本三菱柴油發動機右側圖
2. 各系統的概要圖
2.1 日本三菱柴油發動機燃油系統的概要圖

日本三菱柴油發動機燃油系統的概要圖
2.2 潤滑油系統的概要圖

潤滑油系統的概要圖


日本三菱柴油發動機進排氣系統的概要圖

3. 日本三菱柴油發動機銘牌、標簽的記載內容
3.1 銘牌
銘牌安裝在發動機側面,記載以下的內容。
發動機制造編號
制造日期
總工作容量
發動機輸出功率
額定轉速

3.2 說明牌
說明牌安裝在No.1 氣缸的搖臂罩上,記載以下的內容。
日本三菱柴油發動機氣閥間隙
日本三菱柴油發動機點火順序
日本三菱柴油發動機燃油噴油正時
日本三菱柴油發動機連桿質量等級

4. 日本三菱柴油發動機技術規格

日本三菱柴油發動機規格一覽表
本表中,用「○」表示各機型配置的裝置的規格。
注:(a) 本表以一般機型為例,各裝置的構成根據用戶和規格有所不同。
(b) 規格和零件編號因設計等可能不經預告而變更。





第2 章 檢修資料
1. 檢修資料表
2. 1.1 日本三菱柴油發動機一般檢修用據
1.2 日本三菱柴油發動機本體的檢修用數據
1.3 日本三菱柴油發動機燃油系統的檢修用數據
1.4 日本三菱柴油發動機潤滑油系統的檢修用數據
1.5 日本三菱柴油發動機冷卻系統的檢修用數據
1.6 日本三菱柴油發動機電氣系統的檢修用數據
1.7 日本三菱柴油發動機空氣起動系統
2. 日本三菱柴油發動機緊固扭矩一覽表
3. 2.1 日本三菱柴油發動機本體的主要緊固扭矩
2.2 日本三菱柴油發動機燃油系統的主要緊固扭矩
2.3 日本三菱柴油發動機潤滑油系統的主要緊固扭矩
2.4 日本三菱柴油發動機冷卻系統的主要緊固扭矩
2.5 日本三菱柴油發動機進排氣系統的主要緊固扭矩
2.6 日本三菱柴油發動機電氣系統的主要緊固扭矩
2.7 日本三菱柴油發動機空氣起動系統的主要緊固扭矩
2.8 一般螺栓的緊固扭矩
2.9 一般管接螺栓的緊固扭矩
2.10 一般管接螺帽的緊固扭矩
2.11 日本三菱柴油發動機噴油管的緊固扭矩
1. 日本三菱柴油發動機檢修資料表
1.1 日本三菱柴油發動機一般檢修用數據

1.2 日本三菱柴油發動機本體的檢修用數據



1.3 日本三菱柴油發動機燃油系統的檢修用數據

第4 章 日本三菱柴油發動機大修期的判斷
1. 日本三菱柴油發動機大修時期的判斷
2. 日本三菱柴油發動機壓縮壓力的測定
1. 日本三菱柴油發動機大修時期的判斷
一般日本三菱柴油發動機的大修期的判斷基準主要看壓縮壓力的下降,以及發動機潤滑油消耗增加引起的排氣內潤滑油氣體的增加。另外,輸出功率下降、燃油消耗量增加、油壓下降、起動困難、噪音增加等也是判斷是否需要大修的條件。但是這些現象受其他的原因影響較多,不能肯定作為需要大修的判斷基準。壓縮壓力下降引起的外部現象很多,要立即做出判斷是困難的。
外部的現象有,
(1) 輸出功率減少。
(2) 燃油消耗量增加。
(3) 發動機的潤滑油消耗量增加。
(4) 缸套、活塞等的磨耗引起燃燒油氣量的漏泄增加,從曲軸箱呼吸器排出的油氣量增加。 ( 通過目測確認油氣量。)
(5) 進排氣閥的接觸不良引起漏氣的增加。
(6) 起動變得困難。
(7) 發動機各部分的噪音增大。
(8) 發動機暖機后排氣顏色異常。
等上述現象混合出現。
這些現象中有和發動機本體的劣化直接有關系,也有的并不是一定的。
(2) 和(6) 受到噴油泵的噴油量、噴油定時、柱塞的磨耗、噴油器的好壞以及蓄電池、起動電機等電氣裝置的狀態等顯著的影響。
作為判斷大修基準的最主要的是第(4) 項,缸套和活塞的磨耗引起的壓縮壓力降低,再加上對于其他項目的綜合判斷才是合理的。
2.日本三菱柴油發動機 壓縮壓力的測定
(a) 各氣缸是獨立的,抽檢2、3 個氣缸來推定其他的氣缸狀態是危險的,必須對所有的氣缸進行檢測。
(b) 壓縮壓力隨發動機的轉速而變,必須同時測量轉速數。
(c) 定期檢測壓縮壓力,了解壓縮壓力的變化過程是很重要的。

(1) 拆卸受檢氣缸的噴油器。
(2) 在日本三菱柴油發動機噴油器的安裝位置處安裝壓力表接頭,連接壓縮壓力表。
(3) 將燃油噴油泵齒條置于不噴油(齒條「0」) 位置,用起動電機盤轉發動機。當轉速穩定后,讀取轉速數和壓縮壓力。
注: 用起動電機盤車時,要確認蓄電池已經充分充電。如果蓄電池的電壓不足不能達到充分的轉速,則不能夠測出正確的壓縮壓力。
(4) 測定值超出極限值時,進行解體檢查。

第5 章 日本三菱柴油發動機本體的解體
1.1 燃油進油口接管的拆卸
1.2 拆卸日本三菱柴油發動機噴油器總成
1.3 日本三菱柴油發動機檢測氣閥的間隙
1.4 檢測日本三菱柴油發動機燃油噴油正時
1.5 拆卸日本三菱柴油發動機搖臂軸總成
1.6 測量閥橋下面和氣閥轉動端蓋上面的間隙
1.7 拆卸閥橋
1.8 拆卸搖臂箱體
1.9 拆卸日本三菱柴油發動機氣缸頭總成
1.10 檢測日本三菱柴油發動機氣閥下沉量
1.11 拆卸氣閥、氣閥彈簧
1.12 拆卸噴油器壓板雙頭螺栓、橋導桿
2. 后部裝置的解體,檢修
2.1 測量飛輪的端面跳動、徑向跳動
2.2 拆卸日本三菱柴油發動機飛輪
2.3 拆卸定時齒輪箱
2.4 測量定時齒輪的齒隙
2.5 測量惰齒輪的軸向間隙
2.6 拆卸惰齒輪
2.7 拆卸調速器驅動器、燃油噴油泵驅動器
2.8 測量凸輪軸的軸向間隙
2.9 拆卸凸輪軸齒輪
2.10 拆卸凸輪軸
2.11 拆卸惰軸
2.12 拆卸后端板
3. 前部裝置的解體,檢修
3.1 拆卸聯軸器
3.2 測量減振器的端面跳動、徑向跳動
3.3 拆卸前側皮帶輪、減振器、曲軸皮帶輪
3.4 拆卸張緊輪
3.5 拆卸日本三菱柴油發動機前端板
4. 日本三菱柴油發動機缸套、活塞、連桿的解體,檢修
4.1 測量日本三菱柴油發動機活塞的突出量
4.2 測量日本三菱柴油發動機連桿的軸向間隙
4.3 清除日本三菱柴油發動機缸套上部的硬積碳
4.4 拆卸日本三菱柴油發動機連桿端蓋
4.5 拔出活塞
4.6 拆卸日本三菱柴油發動機活塞環
4.7 拆卸日本三菱柴油發動機活塞銷、活塞
4.8 測量日本三菱柴油發動機缸套的內徑
4.9 測量日本三菱柴油發動機缸套凸肩部分的突出量
4.10 拆卸缸套
5. 日本三菱柴油發動機曲軸箱、曲軸、主軸承的解體,檢修
5.1 日本三菱柴油發動機曲軸箱翻轉( 倒置)
5.2 測量曲軸的軸向間隙
5.3 拆卸活塞冷卻噴油嘴
5.4 拆卸日本三菱柴油發動機主軸承端蓋
5.5 拆卸日本三菱柴油發動機曲軸
1. 日本三菱柴油發動機氣缸頭、氣閥機構的解體,檢修
在進行解體之前,注意掌握發動機各部分的現狀,有助于分析故障原因和提高檢修作業的效率。請根據檢修內容和目的,確認各項目中所要求的事項。
檢測日本三菱柴油發動機氣閥的間隙
檢測日本三菱柴油發動機燃油噴油正時
測量閥橋下面和氣閥轉動端蓋上面的間隙
檢測氣閥下沉量

氣缸頭、氣閥機構的解體,檢修
1 搖臂罩殼,2 燃油進油口接管,3 墊圈、螺帽,4 噴油器壓板,5 燃油噴油器, 6 墊片,7 調節螺釘,8 螺栓,9 搖臂,10 隔圈,11 搖臂軸,12 橋帽,13 閥橋,14 頂桿,15 冷卻水出口接頭,16 搖臂箱體,17 氣缸頭螺栓,18 氣缸頭( 約35 kg),19 進氣口墊片,20 鍥形卡套,21 氣閥轉動端蓋,22 氣閥彈簧,23 閥桿密封,24 氣閥轉動端蓋
(24 ~ 28 排氣雙彈簧規格).25 內彈簧.26 外彈簧.27 下彈簧座.28 閥桿密封.29 氣閥.30氣缸頭墊片,31套筒
1.1 日本三菱柴油發動機燃油進油口接管的拆卸
拆卸燃油進油口接管。

1.2 拆卸日本三菱柴油發動機噴油器總成

(1) 拆卸噴油器壓板。
(2) 使用噴油器拆卸器,拆卸噴油器。
(3) 取出留在氣缸頭內的墊圈。
1.3 檢測氣閥的間隙
檢測進排氣閥的間隙,掌握現在的狀況。
檢測要領參考「發動機本體的組裝」的「進排氣閥間隙的檢測,調整」項。

1.4 檢測日本三菱柴油發動機燃油噴油正時
檢測燃油噴油正時,掌握現在的狀況。
檢測要領參考「發動機本體的組裝」的「噴油正時的確認和調整」項。

1.5 拆卸日本三菱柴油發動機搖臂軸總成
(1) 旋松搖臂的調節螺釘。
(2) 將搖臂軸總成從搖臂箱體上拆卸。
注: 將拆卸的搖臂軸總成和螺栓一起保存。
(3) 取出頂桿。

(4) 分解日本三菱柴油發動機搖臂軸總成。
注: 搖臂襯套無異常或內徑沒有超過極限值時,不需拆卸。

1.6 測量閥橋下面和氣閥轉動端蓋上面的間隙
檢測閥橋下面和氣閥轉動端蓋上面的間隙,掌握現在的狀況。
檢測要領參考「發動機本體的組裝」的「閥橋下面和氣閥轉動端蓋上面的間隙檢測」項。

1.7 拆卸閥橋
拆卸閥橋和橋帽。
注: 注意避免橋帽落入氣缸頭內。

1.8 拆卸搖臂箱體
(1) 拆卸冷卻水出口接頭的卡環。
(2) 將冷卻水出口接頭向卡環槽側移動,使和相鄰的搖臂箱體分離。
(3) 將搖臂箱體從氣缸頭上拆卸。

1.9 拆卸氣缸頭總成
(1) 拆下氣缸頭螺栓。
(2) 使用吊具將氣缸頭吊起拆下。
注: 氣缸頭由定位銷定位,因此要相對裝配面垂直拆出。
(3) 拆下氣缸頭墊片。

1.10 檢測氣閥下沉量
檢測氣閥下沉量,掌握現在的狀況。
檢測要領參考「發動機本體的組裝」的「檢測氣閥下沉量」項。
1.11 拆卸日本三菱柴油發動機氣閥、氣閥彈簧
使用氣閥彈簧拆卸器,均等地壓縮氣閥彈簧,拆除鍥形卡套。
注: 氣閥需要再使用時,要先作好容易識別安裝位置的記號,組裝時,不改變氣閥和各閥座的組合。

1.12 拆卸日本三菱柴油發動機噴油器壓板雙頭螺栓、橋導桿
噴油器壓板雙頭螺栓、橋導桿無異常時,不需從氣缸頭上拆卸。
拆卸時,參考「發動機本體的檢測、修理」的「噴油器壓板雙頭螺栓、橋導桿的檢測,更換」項。

2. 日本三菱柴油發動機后部裝置的解體,檢修
在進行解體之前,注意掌握發動機各部分的現狀,有助于分析故障原因和提高檢修作業的效率。
請根據檢修內容和目的,確認各項目中所要求的事項。
� 測量飛輪的端面跳動、徑向跳動
� 測量定時齒輪的齒隙
� 測量惰齒輪、凸輪軸的軸向間隙

解體順序
1 轉速傳感器( 電子調速器規格),2 運行計時器( 運行計時器配置規格),3 飛輪( 標準: 約83 kg)(FCD 規格: 約42 kg)( 陸用離合器: 約100 kg),4 定時齒輪箱( 約88 kg),5 油封,6 推力片,7 惰齒輪,8 燃油噴油泵驅動器( 解體、檢修和組裝,參考[ 燃油系統]),9 調速器驅動器(液壓調速器規格)( 解體、檢修和組裝,參考[ 燃油系統]),10 凸輪軸齒輪,11 推力片,12 凸輪軸 ( 約32 kg),13 惰軸,14 后端板,15 噴油器板
2.1 測量飛輪的端面跳動、徑向跳動
檢測飛輪的端面跳動、徑向跳動,掌握現在的狀況。
檢測要領參考「發動機本體的組裝」的「檢測飛輪的端面跳動、徑向跳動」項。

2.2 拆卸飛輪
(1) 安裝吊具以免飛輪掉落。
(2) 均等的旋入2個拆卸用螺栓,將飛輪拆下。

2.3 拆卸定時齒輪箱
(1) 安裝吊具以免定時齒輪箱掉落。
(2) 將定時齒輪箱向外拉至脫出定位銷,然后拆下。
(3) 拆卸定時齒輪箱的油封。
注: 更換拆下的油封。油封不能重新使用。

2.4 測量日本三菱柴油發動機定時齒輪的齒隙
檢測定時齒輪的齒隙,掌握現在的狀況。
檢測要領參考「發動機本體的組裝」的「測量定時齒輪的齒隙」項。

2.5 測量日本三菱柴油發動機惰齒輪的軸向間隙
檢測惰齒輪的軸向間隙,掌握現在的狀況。
檢測要領參考「發動機本體的組裝」的「測量惰齒輪的軸向間隙」項。

2.6 拆卸惰齒輪
(1) 從惰軸上拆下推力片。
(2) 從惰軸上拆下惰齒輪。

2.7 拆卸調速器驅動器、燃油噴油泵驅動器
從后端板拆下調速器驅動器(液壓調速器規格)、燃油噴油泵驅動器。( 解體、檢修和組裝,參考[ 燃油系統])

2.8 測量凸輪軸的軸向間隙
檢測凸輪軸的軸向間隙,掌握現在的狀況。
檢測要領參考「發動機本體的組裝」的「測量凸輪軸的軸向間隙」項。

2.9 拆卸凸輪軸齒輪
從凸輪軸上拆下凸輪軸齒輪。

2.10 拆卸凸輪軸
(1) 拆卸推力片。
(2) 從曲軸箱體的側蓋口支住凸輪軸,從曲軸箱體內拆出。
注: 在拆出凸輪軸前,先拆下安裝在凸輪軸前端的油封座、油封和聯軸器。

2.11 拆卸惰軸
均等的旋入2個拆卸用螺栓,將惰軸拆下。

2.12 拆卸后端板
(1) 從曲軸箱上拆卸后端板。
(2) 從曲軸箱上拆卸噴油器板。

3. 前部裝置的解體,檢修
在進行解體之前,注意掌握發動機各部分的現狀,有助于分析故障原因和提高檢修作業的效率。
請根據檢修內容和目的,確認各項目中所要求的事項。
� 測量減振器的端面跳動、徑向跳動

日本三菱柴油發動機前部裝置的檢修解體順序
1 風扇( 風扇配置規格),2 油封座、聯軸器( 轉速表配置規格),3 風扇驅動器(風扇配置規格)( 解體、檢修和組裝參照「冷卻系統」),4 風扇驅動器齒輪(風扇配置規格)
注: 前側皮帶輪的形狀和有無,根據不同用途和規格有所不同。
5 風扇板 ( 風扇配置規格).6 前側皮帶輪.7 減振器 ( 約56 kg).8 曲軸皮帶輪,9 前端板,10 油封座,3.1 拆卸聯軸器( 轉速表配置規格)
(1) 從曲軸箱或風扇驅動器殼體上拆卸油封座和油封。
注: 更換拆下的油封。油封不能重新使用。

(2) 均等的旋入2個拆卸用螺栓,將凸輪軸從聯軸器上拆下。

3.2 測量減振器的端面跳動、徑向跳動
測量減振器的端面跳動、徑向跳動,掌握現在的狀況。
檢測要領參考「發動機本體的組裝」的「測量減振器的端面跳動、徑向跳動」項。

3.3 拆卸前側皮帶輪、減振器、曲軸皮帶輪
(1) 在曲軸安裝減振器的螺孔內旋入導向螺栓。
(2) 用繩索等卷繞在皮帶槽內吊住前側皮帶輪,均等的旋入2個拆卸用螺栓,將前側皮帶輪拆下。
(3) 在減振器上安裝吊具,均等的旋入2個拆卸用螺栓,將減振器拆下。
(4) 從曲軸上拆卸曲軸皮帶輪。

3.4 拆卸張緊輪
從前蓋、座上拆卸張緊輪、張緊板。

3.5 拆卸前端板
(1) 從曲軸箱上拆卸前蓋。
(2) 從前蓋上拆卸油封。

4. 日本三菱柴油發動機缸套、活塞、連桿的解體,檢修
在進行解體之前,注意掌握發動機各部分的現狀,有助于分析故障原因和提高檢修作業的效率。
請根據檢修內容和目的,確認各項目中所要求的事項。
� 測量活塞的突出量
� 測量連桿的軸向間隙
� 測量缸套的內徑
� 測量缸套凸肩部分的突出量

日本三菱柴油發動機缸套、活塞、連桿的解體,檢修解體順序
1 連桿端蓋螺栓,2 連桿端蓋,3 連桿軸承下軸瓦,4 連桿軸承上軸瓦,5 第 1 氣環,6 第 2 氣環,7 油環,8 卡環,9 活塞銷,10 活塞,11 連桿,12 缸套 (S6R: 約16 kg)(S6R2: 約19 kg)
4.1 測量日本三菱柴油發動機活塞的突出量
檢測活塞的突出量,掌握現在的狀況。
檢測要領參考「發動機本體的組裝」的「檢測活塞的突出量」項。

4.2 測量連桿的軸向間隙
檢測連桿的軸向間隙,掌握現在的狀況。
檢測要領參考「發動機本體的組裝」的「測量連桿的軸向間隙」項。

4.3 清除缸套上部的硬積碳
使用積碳清除工具 ( 刮刀、砂紙等) 清除缸套上部附著的硬積碳。
注: 注意不要損傷缸套的內表面。

4.4 拆卸連桿端蓋
從曲軸箱側面的檢測口用套筒拆卸連桿螺栓,拆卸連桿端蓋和連桿軸承。
注:(a) 注意連桿軸承不要掉落油底殼受損傷。
(b) 拆下的連桿軸承要明確區分氣缸編號和上下軸瓦。

4.5 拔出活塞
(a) 拔出活塞時,注意連桿軸承上軸瓦不要掉落。
(b) 拔出活塞時,要避免連桿的擺動損傷缸套。
(c) 當安裝有活塞的氣缸數減少時,曲軸有可能回轉,要固定住曲軸。
(d) 拔出活塞和連桿時,注意連桿不要碰撞活塞冷卻噴油嘴。
(e) 拔出活塞時,要用手握住活塞避免其擺動。如果活塞擺動,活塞內部會和連桿碰撞受損。
4.5.1 用鏈式葫蘆吊出時
(1) 盤轉曲軸,將拆卸了連桿端蓋的活塞置于上死點位置。
(2) 將吊環螺栓安裝在活塞頂部的螺孔內,吊住活塞不使其落下。
(3) 將曲柄銷稍微向檢測口側回轉,使連桿大端不至碰撞缸套。
(4) 確認連桿大端進入缸套內的同時,緩慢向上起吊活塞。

4.5.2 通過頂推連桿大端拔出時
(1) 盤轉曲軸,將拆卸了連桿端蓋的活塞置于上死點位置。
(2) 將吊環螺栓安裝在活塞頂部的螺孔內,吊住活塞不使其落下。
(3) 緩慢盤轉曲軸,使連桿和曲柄銷分離,直至從檢測口能看到下側的螺栓孔。
(4) 插入卷有紗頭的棒,以曲柄銷為支點,緩慢的向上頂推連桿下部。
注: 為了防止損傷曲柄銷和連桿大端,要用紗頭、橡皮等保護棒。
(5) 頂推活塞和連桿的同時,不斷調整支點的位置。當油環從缸套中脫出時,小心地放置在缸套上面。
(6) 利用活塞頂部的吊環螺栓吊起活塞,從缸套中拔出。

4.6 拆卸活塞環
將活塞和連桿固定在臺鉗上,用活塞環鉗拆卸活塞環。

4.7 拆卸活塞銷、活塞
(1) 使用卡環鉗拆除卡環。
(2) 用木條頂住活塞銷的端面,用錘輕擊,拔出活塞銷,將活塞和連桿分離。
注:(a) 不能直接錘擊活塞銷。
(b) 活塞銷拔出困難時,用加熱器或熱水加熱活塞部分。

4.8 測量日本三菱柴油發動機缸套的內徑
檢測缸套的內徑,掌握現在的狀況。
檢測要領參考「發動機本體的組裝」的「測量缸套的內徑」項。

4.9 測量日本三菱柴油發動機缸套凸肩部分的突出量
檢測缸套凸肩部分的突出量,掌握現在的狀況。
檢測要領參考「發動機本體的組裝」的「檢測缸套凸肩部分的突出量」項。

4.10 拆卸缸套
(1) 將缸套拆卸器安裝在缸套上。
注: 在缸套下部安裝端板時,注意不要碰撞活塞冷卻噴油嘴。
(2) 旋轉手柄,拆卸缸套。

5.日本三菱柴油發動機 曲軸箱、曲軸、主軸承的解體,檢修
在進行解體之前,注意掌握發動機各部分的現狀,有助于分析故障原因和提高檢修作業的效率。
請根據檢修內容和目的,確認各項目中所要求的事項。
� 測量曲軸的軸向間隙

日本三菱柴油發動機 曲軸箱、曲軸、主軸承的檢修解體順序
1 主軸承端蓋螺栓,2 主軸承端蓋,3 主軸承下軸瓦,4 推力片( 下),5 曲軸 (S6R: 約285 kg)(S6R2: 約300 kg),6 主軸承上軸瓦,7 推力片( 上),8 止回閥 (1 噴嘴規格)有眼螺栓(2 噴嘴規格),9 活塞冷卻噴油嘴,10 曲軸箱 (S6R: 約530 kg)(S6R2: 約590 kg)
5.1 曲軸箱翻轉( 倒置)
將曲軸箱放置在回轉臺上翻轉。不使用回轉臺時,在曲軸箱上掛上鋼絲索,在鋼絲索和曲軸箱體之間填入墊木或布,用起吊機吊起,然后橫倒放置在枕木上。重新掛鋼絲索,在枕木上將曲軸箱體翻轉( 倒置)。

5.2 測量日本三菱柴油發動機曲軸的軸向間隙
檢測曲軸的軸向間隙,掌握現在的狀況。
檢測要領參考「發動機本體的組裝」的「測量曲軸的軸向間隙」項。

5.3 拆卸活塞冷卻噴油嘴
從曲軸箱上拆卸活塞冷卻噴油嘴。
5.4 拆卸主軸承端蓋
(1) 拆卸主軸承端蓋螺栓。
(2) 在主軸承端蓋上安裝連接器。
(3) 將噴油器拆卸器安裝在連接器上。
(4) 從曲軸箱內拆卸主軸承端蓋。
(5) 從主軸承端蓋上拆卸主軸承下軸瓦。
(6) 從最后端的主軸承端蓋上拆卸推力片( 下)

5.5 拆卸曲軸
(1) 按壓前側推力片( 上) 的上下裝配面,將其轉出。
(2) 水平吊起曲軸,小心地從上方吊出。
注: 用鏈條直接掛在曲軸上起吊時,為了防止曲軸受到損傷起吊前要填入布團或其他墊料。
(3) 從曲軸箱上拆卸主軸承上軸瓦,拆卸時注意嵌槽的位置。拆卸后側推力片( 上)。

第6 章 日本三菱柴油發動機本體的檢測,修理
1. 日本三菱柴油發動機氣缸頭、氣閥機構的檢測,修理
1.1 測量搖臂襯套內徑和搖臂軸外徑
1.2 更換搖臂襯套
1.3 測量閥桿外徑和氣閥導管內徑
1.4 更換氣閥導管
1.5 檢查氣閥接觸面
1.6 修整日本三菱柴油發動機氣閥接觸面
1.7 修整閥座
1.8 更換閥座
1.9 氣閥和閥座的研磨
1.10 閥橋、橋帽、鍥形卡套、氣閥轉動端蓋的檢測
1.11 測量氣閥彈簧的直角度、自由長度
1.12 檢查套筒
1.13 測量頂桿的跳動量
1.14 噴油器壓板雙頭螺栓、橋導桿的檢測和更換
1.15 測量氣缸頭下表面的變形
2. 后部裝置的檢測,修理
2.1 測量惰齒輪襯套內徑和惰軸外徑
2.2 更換惰齒輪襯套
2.3 測量凸輪軸的凸輪升程
2.4 測量凸輪軸的跳動量
2.5 測量凸輪軸頸部外徑
2.6 檢測凸輪軸襯套
2.7 更換凸輪軸襯套
3. 前部裝置的檢測,修理
3.1 減振器的外觀檢查
3.2 檢測皮帶輪
4. 日本三菱柴油發動機活塞、連桿的檢測,修理
4.1 檢查活塞外觀
4.2 活塞質量
4.3 測量活塞的外徑
4.4 檢查活塞環槽
4.5 測量活塞銷孔的內徑
4.6 檢查活塞環外觀
4.7 測量活塞環的開口間隙
4.8 測量活塞銷的外徑
4.9 測量連桿襯套的內徑
4.10 更換連桿襯套
4.11 日本三菱柴油發動機連桿總成的質量等級
4.12 測量連桿大端孔的內徑和橢圓度
4.13 檢測連桿大端的側面( 寬)
4.14 檢查連桿大端的細齒部位、螺栓孔部位
4.15 檢查連桿軸承的軸瓦
4.16 測量連桿軸瓦的厚度
4.17 檢測連桿的彎曲和扭曲
5. 曲軸箱、曲軸的檢測,修理
5.1 測量日本三菱柴油發動機曲軸箱上表面的變形
5.2 測量主軸承座孔的內徑
5.3 檢測曲軸箱的缸套安裝部位
5.4 修整曲軸箱的凹槽部分
5.5 測量曲軸的曲柄銷和曲軸頸的外徑
5.6 測量曲柄銷軸頸寬度、最后端曲軸頸的軸頸寬度
5.7 測量曲軸的跳動量
5.8 檢測日本三菱柴油發動機曲軸齒輪
5.9 更換日本三菱柴油發動機曲軸齒輪
5.10 檢查日本三菱柴油發動機油封擋油環
5.11 更換日本三菱柴油發動機油封擋油環
5.12 檢查日本三菱柴油發動機主軸瓦
5.13 測量日本三菱柴油發動機主軸瓦的厚度
5.14 檢查日本三菱柴油發動機推力片
5.15 測量日本三菱柴油發動機推力片的厚度
5.16 檢查日本三菱柴油發動機活塞冷卻噴油嘴
1. 日本三菱柴油發動機氣缸頭、氣閥機構的檢測,修理
1.1 測量搖臂襯套內徑和搖臂軸外徑
測量搖臂襯套內徑和搖臂軸外徑。超過極限值時,更換新的搖臂襯套或搖臂軸。


1.2 更換日本三菱柴油發動機搖臂襯套
(1) 使用日本三菱柴油發動機搖臂襯套工具拆卸搖臂襯套。
(2) 使用搖臂襯套工具,壓入新的搖臂襯套。搖臂襯套安裝定位用切口( 寬4mm) 向上對準圖示位置, 從搖臂孔有倒角的端面側壓入襯套。
(3) 確認日本三菱柴油發動機搖臂和搖臂襯套的油孔一致。
(4) 測量日本三菱柴油發動機壓入的搖臂襯套內徑。小于標準值時,進行鉸
(2) 削加工。

1.3 測量閥桿外徑和氣閥導管內徑
由于閥桿外徑和氣閥導管內徑在上下端部磨損顯著,要在上下端部進行對角測量。超過極限值時,更換新的氣閥導管或氣閥。
注: 更換氣閥后,一定要進行氣閥和閥座的研磨。


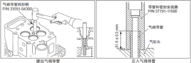
1.4 更換日本三菱柴油發動機氣閥導管
(1) 使用氣閥導管拆卸柄拔出氣閥導管。
(2) 使用導管和密封安裝工具,靜靜地壓入新的導管。

1.5 檢查氣閥接觸面
氣閥接觸面的檢查在氣閥導管檢修或更換后進行。修理或更換氣閥后,一定要進行氣閥和閥座的研磨。

1.5.1 測量日本三菱柴油發動機氣閥邊緣余量
測量氣閥邊緣余量。超過極限值時修正氣閥或更換新品。
1.5.2 檢測閥座寬
在氣閥的接觸面薄涂一層檢查劑( 不含鉛的著色劑),用氣閥吸盤檢查氣閥和閥座接觸面的吻合狀況。發現接觸面不同或異常,或超過極限值時,修正或更換新品氣閥或閥座。
注: 涂敷接觸面檢查劑( 不含鉛的著色劑) 的氣閥壓在閥座上時,不要轉動氣閥。


1.6 修整氣閥接觸面
修正氣閥表面后再使用時,用氣閥表面修整器修理。
注:(a) 氣閥表面修整器調整至規定的角度,研磨氣閥。
(b) 氣閥邊緣余量不要超過極限值。研磨修整后不能確保規定尺寸的氣閥應予以更換。

1.7 修整閥座
閥座面有損傷、磨損時對閥座面進行研磨。
(1) 用閥座鉸刀或閥座研磨機對閥座進行研磨。加工后,用#400 左右的砂紙夾在研磨機和閥座之間輕輕研磨。閥座的閥線寬度超過標準值時,用44°50′ 的閥座研磨機研削內側進行調整。
(2) 進行氣閥和閥座的研磨。
注:(a) 修理閥座要控制在最小的范圍內。
(b) 修理后閥座面的寬度超過標準值,或氣閥的接觸面偏向外周側時要更換新的閥座。
(c) 加工后,氣閥的下沉量超過極限值時,要更換新的閥座。

1.8 更換閥座
拆卸閥座時,注意不要損傷氣缸頭的機械加工面。
1.8.1 使用閥座拆卸器拆卸閥座使用閥座拆卸器拆卸閥座。

1.8.2 通過焊接拆卸閥座
將螺栓等焊接在閥座上,用軸棒從氣缸頭上面插入氣閥導管孔內打擊,拆出閥座。
注: 焊接時,注意焊接火花不要損傷氣缸頭的機械加工面。

1.8.3 安裝閥座
(1) 在安裝閥座前,先要測量氣缸頭的閥座安裝部位的內徑和閥座的外徑,確認過盈量是否在標準值內。超出標準值范圍時,使用加大尺寸的閥座。氣缸頭的閥座安裝部位的內徑超過極限值時更換新的氣缸頭。
注: 閥座的加大尺寸有0.03、0.06mm。

(2) 氣缸頭處于常溫狀態,將閥座放在液態氮中冷卻4分鐘以上。
(3) 用專用安裝工具將閥座安裝在氣缸頭上。

1.9 日本三菱柴油發動機氣閥和閥座的研磨
修整閥座或更換氣閥后,氣缸頭組裝后檢測壓縮壓力時壓力不足時,必須進行氣閥和閥座的研磨。
(1) 在氣閥的研磨面均勻涂抹研磨劑。
注:(a) 閥桿部分不要沾上研磨劑。
(b) 研磨劑內混合少量潤滑油均勻涂抹。
(c) 先用較粗研磨劑(125 ~ 150 粒),最后用細研磨劑(200 粒) 精磨。
(2) 用氣閥橡膠吸盤進行研磨。
一邊稍微轉動氣閥,一邊擊打閥座。
(3) 用柴油清洗研磨劑。
(4) 用發動機潤滑油涂抹接觸面,進行油磨合。
(5) 在氣閥的接觸面薄涂一層檢查劑( 不含鉛的著色劑),用氣閥吸盤檢查氣閥和閥座接觸面的吻合狀況。

1.10 日本三菱柴油發動機閥橋、橋帽、鍥形卡套、氣閥轉動端蓋的檢測
(1) 檢查閥橋和閥桿接觸面以及閥橋和橋導桿的滑動面,有明顯磨損、單面接觸現象時更換新品。
(2) 檢查橋帽,明顯磨損時更換新品。
(3) 檢查氣閥轉動端蓋的回轉狀況,發現有異常時更換新品。
(4) 檢查鍥形卡套和閥桿以及鍥形卡套和氣閥轉動端蓋的接觸面,有明顯單側磨損、擊坑時更換新品。

1.11 測量日本三菱柴油發動機氣閥彈簧的直角度、自由長度
測量氣閥彈簧的直角度、自由長度。自由長度或傾斜度超過極限值時,更換新的氣閥彈簧。


1.12 檢查套筒
確認和凸輪的接觸面沒有單側磨損。對于不良的套筒,更換新品。

1.13 測量日本三菱柴油發動機頂桿的跳動量
測量頂桿的全幅跳動量。跳動量超過標準值時,更換新的頂桿。


1.14 日本三菱柴油發動機噴油器壓板雙頭螺栓、橋導桿的檢測和更換
檢查噴油器壓板雙頭螺栓有無彎曲或螺紋部分的損傷。
檢查橋導桿滑動面的單側磨損和損傷。
1.14.1安裝日本三菱柴油發動機噴油器壓板雙頭螺栓
噴油器壓板雙頭螺栓擰入到底。

1.14.2安裝橋導桿
按照規定的安裝尺寸壓入橋導桿。
1.15 測量氣缸頭下表面的變形
在氣缸頭的下表面放置直尺,用厚薄規測量變形量。超過極限值時,更換新品或研磨修整。進行研磨修整時,要記錄最大研磨量。另外,曲軸箱上面進行研磨修整時,合計的最大研磨量限定在0.50 mm以內。


2. 后部裝置的檢測,修理
2.1 測量惰齒輪襯套內徑和惰軸外徑
測量惰齒輪襯套的內徑和惰軸的外徑。超過極限值時,更換新的惰齒輪襯套或惰軸。
注: 更換惰齒輪襯套后使用時,要對惰齒輪襯套的內徑進行鉸削加工。


2.2 更換惰齒輪襯套
(1) 使用惰齒輪襯套拆卸工具的拆卸端將惰齒輪襯套拆出。
(2) 使用惰齒輪襯套拆卸工具的裝入端,從大齒輪端將惰齒輪襯套壓入至齒輪轂的端面平齊。再用惰齒輪襯套拆卸工具的拆卸端,將襯套端面壓入至低于齒輪轂端面約1mm。
(3) 對壓入后的惰齒輪襯套內徑進行鉸孔加工,加工尺寸如圖示。
注: 后惰齒輪襯套是以半成品狀態提供的,因此壓入后必須進行鉸孔加工。

2.3 測量日本三菱柴油發動機凸輪軸的凸輪升程
測量各凸輪的長徑和短徑,求出凸輪升程。超過極限值時更換新的凸輪軸。


2.4 測量凸輪軸的跳動量
測量凸輪軸的全幅跳動量。超過極限值時,用壓力機校正凸輪軸或更換新品。
注: 使用千分表,回轉凸輪軸一周測量指針的跳動量。


2.5 測量日本三菱柴油發動機凸輪軸頸部外徑
測量凸輪軸頸部正交兩個方向的外徑。超過極限值時更換新的凸輪軸。


2.6 檢測日本三菱柴油發動機凸輪軸襯套
(1) 凸輪軸襯套的內表面有損傷、腐蝕或剝離等異常時,更換新品。
(2) 凸輪軸襯套安裝在曲軸箱的狀態下,測量凸輪軸襯套的內徑。超過極限值時更換新的凸輪軸襯套。
注: 測量內徑時,注意不要損傷凸輪軸襯套的內面。


2.7 更換日本三菱柴油發動機凸輪軸襯套
2.7.1 拆卸凸輪軸襯套
(1) 拆卸凸輪軸襯套定位用定位螺栓。
(2) 將凸輪軸襯套安裝器和襯套壓板安裝在凸輪軸襯套部位。
(3) 將凸輪軸襯套螺栓旋入襯套壓板。
(4) 在凸輪軸襯套螺栓的前端( 和凸輪軸襯套安裝器的接觸部分) 涂敷二硫化鉬系耐高溫潤滑劑( 類似于ThreeBond 1910)。
(5) 擰入凸輪軸襯套螺栓,推壓凸輪軸襯套安裝器,將凸輪軸襯套拔出。

2.7.2 壓入日本三菱柴油發動機凸輪軸襯套
(1) 將凸輪軸襯套安裝器插入凸輪軸襯套內,安裝凸輪軸襯套的軸套。
(2) 將凸輪軸襯套的切口朝上,凸輪軸襯套的油孔對準曲軸箱的油孔后,裝入曲軸箱的凸輪軸襯套安裝孔內。No.1 軸頸的凸輪軸襯套的切口朝向No.2 氣缸側安裝。No.7 軸頸的凸輪軸襯套的定位螺孔朝向No.6 氣缸側安裝。

(3) 安裝襯套壓板和凸輪軸襯套螺栓。
(4) 在凸輪軸襯套螺栓的前端( 和凸輪軸襯套安裝器的接觸部分) 涂敷二硫化鉬系耐高溫潤滑劑( 類似于ThreeBond 1910)。
(5) 擰入凸輪軸襯套螺栓,推壓凸輪軸襯套安裝器,將凸輪軸襯套壓入。
注: 在壓入時,要注意曲軸箱的油孔和凸輪軸襯套的油孔一致。
(6) 安裝密封墊圈和定位螺栓,固定凸輪軸襯套。

3. 日本三菱柴油發動機前部裝置的檢測,修理
3.1 減振器的外觀檢查
檢查外觀有無龜裂、端板有無鼓脹變形、有無硅油漏泄、有無因過熱引起的油漆變色或剝落。發現有異常時更換新品。

3.2 檢測皮帶輪
檢測皮帶輪槽有無磨損。
(1) 檢測皮帶的下陷狀況。
(2) 用新的皮帶緊卷在皮帶輪的皮帶槽內。
(3) 從皮帶輪的外周側面測量,皮帶下沉1.6 mm 以上時,更換新的皮帶輪。

4. 日本三菱柴油發動機活塞、連桿的檢測,修理
4.1 檢查活塞外觀
檢查活塞的燃燒面、活塞銷孔、活塞環槽、運動表面和內面,發現異常時更換新品。

4.2 日本三菱柴油發動機活塞質量
確認活塞頂面的質量刻印。
注意1臺機組的所有活塞的質量差應在標準值以內。


4.3 測量活塞的外徑
測量與活塞銷成直角方向的活塞裙部。超過極限值時更換新活塞。


4.4 檢查日本三菱柴油發動機活塞環槽
(1) 清除各活塞環槽內粘附的積碳等。
(2) 目測檢查各活塞環槽,發現有磨耗或傷痕時更換新品。特別對于第1 氣環槽內的鑲圈進行著色檢查,確認有無龜裂或剝落。

4.5 測量日本三菱柴油發動機活塞銷孔的內徑
測量活塞銷孔的內徑。超過極限值時更換新活塞。
![]()

4.6 檢查日本三菱柴油發動機活塞環外觀
檢查滑動面有無有害的燒損、異常磨耗、異物嵌入或鍍層剝落等。發現異常時,更換新品。
4.7 測量活塞環的開口間隙
將活塞環放用標準量器或放在新的缸套內,測量開口間隙。超過極限值時,更換整套活塞環。
注: 用活塞將活塞環水平地放入標準的量器或缸套內。


4.8 測量日本三菱柴油發動機活塞銷的外徑
測量活塞銷的外徑。超過極限值時更換新的活塞銷。
![]()

4.9 測量日本三菱柴油發動機連桿襯套的內徑
測量連桿襯套的內徑。超過極限值時更換新的連桿襯套。

4.10 更換日本三菱柴油發動機連桿襯套
使用連桿襯套安裝工具,更換連桿襯套。
4.10.1工具臺和連桿的固定
(1) 臺和座板的裝配記號對準后,安裝座板。

(2) 將拆卸了軸承的連桿端蓋安裝在座板上。
(3) 將連桿對準裝配記號后安裝在座板上。
(4) 按照規定的扭矩緊固連桿螺栓。
(5) 用托架固定連桿。

4.10.2拆卸連桿襯套
(1) 在連桿襯套的內面涂抹潤滑油。
(2) 套筒A裝入心軸,套筒A的裝配記號(紅色刻線)對準座臺的裝配記號(紅色刻線)后安裝在連桿襯套內。
(3) 壓力機緩慢加壓,拆出連桿襯套。

4.10.3壓入連桿襯套
(1) 將新的連桿襯套的油孔對準套筒A的裝配記號(ømm 紅色)裝在套筒A上。
(2) 將套筒B和套筒A組裝在心軸上,用螺帽固定。


(3) 連桿襯套外周涂敷潤滑油,套筒A,B的裝配記號(紅色刻線)對準,使連桿襯套的油孔和連桿的油孔一致,用壓力機壓入。

(4) 測量日本三菱柴油發動機連桿襯套的內徑。
不在標準值內時,進行鉸孔加工。


4.11 日本三菱柴油發動機連桿總成的質量等級
同1 臺發動機要安裝相同質量等級的連桿。


4.12 測量連桿大端孔的內徑和橢圓度
測量大端孔內徑時,分別按照圖示A、B、C 方向,測量前后2 處。將A、B、C 的最大值減去最小值為橢圓量。超過極限值時更換新品。


4.13 檢測連桿大端的側面( 寬)
(1) 目測檢查連桿大端的側面。發現磨損、損傷等異常時,更換新的連桿。
(2) 檢測連桿大端的側面( 寬)。不在標準值內時,更換新品。
![]()

4.14 檢查連桿大端的細齒部位、螺栓孔部位
用磁性探傷檢查連桿大端的細齒部位和螺栓孔部位,如有損裂、壓損、異物嵌入等異常時更換新品。
4.15 檢查連桿軸承的軸瓦
查連桿軸承軸瓦的滑動面,背面和端面,如有接觸不良、滑動損傷、腐蝕、異物嵌入等異常時更換新品。

4.16 測量日本三菱柴油發動機連桿軸瓦的厚度
測量連桿軸瓦的中央部位的厚度。超過極限值時,將軸瓦上下整套更換。根據曲柄銷的磨損程度,在曲軸重新研磨使用時,使用減小尺寸的軸瓦。曲軸的研磨要領參考「發動機本體的檢測、修理」的「曲軸的曲柄銷和曲軸頸的研磨」項。
注: 連桿軸承的減小尺寸有0.25、0.50、0.75、1.00mm。


4.17 檢測連桿的彎曲和扭曲
(1) 連桿的彎曲和扭曲的檢測方法如圖所示,測量C、L值。用壓力機校正連桿達到標準值。不在標準值內時,更換新品。
注: 彎曲和扭曲的檢測,在將連桿端蓋按照規定扭矩緊固后進行。
(2) 和活塞組裝在一起進行測量時,將活塞倒放在工作臺上,在連桿大端插入和曲柄直徑相當的圓棒,用千分表測量圓棒表面的高度。


5.日本三菱柴油發動機 曲軸箱、曲軸的檢測,修理
5.1 測量曲軸箱上表面的變形
在曲軸箱的上表面放置直尺,用厚薄規測量變形量。超過極限值時,更換新品或研磨修整。進行研磨修整時,要記錄最大研磨量。另外,氣缸頭下面進行研磨修整時,合計的最大研磨量限定在0.50 mm以內。


5.2 測量日本三菱柴油發動機主軸承座孔的內徑
(1) 將主軸承端蓋按照規定方法安裝在曲軸箱上。
注: 主軸承端蓋的緊固要領,參照「發動機本體的組裝」的「安裝主軸承端蓋」項。
(2) 測量主軸承座孔的上下方向和斜方向的內徑。


5.3 檢測日本三菱柴油發動機曲軸箱的缸套安裝部位
(1) 檢查曲軸箱的凹槽部分,確認角部無裂損,與缸套凸肩下面接觸部分無單側接觸。有異常時,修整曲軸箱的凹槽部分。
(2) 檢查曲軸箱的缸套安裝部位,確認無壓損、腐蝕等異常。

5.4 修整日本三菱柴油發動機曲軸箱的凹槽部分
曲軸箱凹槽部分單側接觸時,進行研磨修正。用曲軸箱研磨機進行研磨修正,使圓周4個方向的槽深誤差小于0.05mm。曲軸箱凹槽研磨修整后,測量缸套凸肩部分的突出量。

5.5 測量曲軸的曲柄銷和曲軸頸的外徑
(1) 測量曲軸的曲柄銷和曲軸頸的外徑。超過極限值時,使用減小尺寸的軸瓦,按照和減小尺寸軸瓦的規格研磨曲軸。使用-1.00 mm 規格的減小尺寸主軸瓦仍然超出極限值時,更換新的曲軸。
(2) 根據外徑測量值判斷不圓度和不圓柱度。5.5.1 研磨曲軸的曲柄銷和曲軸頸使用減小尺寸的軸瓦,按照和減小尺寸軸瓦對應的標準值研磨曲軸。
注意研磨時不要改變軸頸端部倒角的半徑和軸頸寬度。對于表面硬度明顯降低的曲軸,要再進行熱處理并進行磁性探傷檢查。研磨加工后,測量曲柄銷軸頸寬度和最后端曲軸頸的軸頸寬度。


5.6 測量曲柄銷軸頸寬度、最后端曲軸頸的軸頸寬度
(1) 檢查曲軸的軸外表面無有害損傷和磨損。
(2) 測量曲柄銷和最后端曲軸頸的軸頸寬度。根據最后端曲軸頸的軸頸寬度的磨損程度使用加大尺寸推力片時,按照加大尺寸推力片的規格研磨曲軸。

5.6.1 最后端曲軸頸的軸頸寬度的研磨
使用加大尺寸推力片時,按照和使用加大尺寸推力片對應的標準值研磨曲軸。
注意研磨時不要改變軸頸端部倒角的半徑。對于表面硬度明顯降低的曲軸,要再進行熱處理并進行磁性探傷檢查。研磨加工后的表面精度均應滿足標準值要求。
注: 使用的前后2片推力片的厚度差不超過0.25 mm。


5.7 測量日本三菱柴油發動機曲軸的跳動量
將曲軸的前后端軸頸座在V 型鐵塊上,測量中央軸頸的跳動量。參照標準值,跳動量較小的用研磨方法修正。跳動量較大的用壓力器校正。超過極限值時更換新的曲軸。使用研磨或壓力機修理時,要對各部位進行磁性探傷檢查,確認沒有有害的裂痕或損傷。


5.8 檢測日本三菱柴油發動機曲軸齒輪
曲軸齒輪的齒面有剝離、磨損、單面接觸等異常時,更換新的曲軸齒輪。
5.9 更換曲軸齒輪
5.9.1 拆卸曲軸齒輪
用齒輪拆卸器將曲軸齒輪從曲軸上拆出。
注: 通過加熱曲軸齒輪拆出時,加熱溫度應在180º以下。

5.9.2 安裝日本三菱柴油發動機曲軸齒輪
(a) 確認曲軸齒輪的安裝方向和位置正確。
(b) 曲軸齒輪熱套時,要在規定溫度以下進行均勻預熱。
(1) 測量曲軸外徑和曲軸齒輪的內徑,確認過盈量。
(2) 將曲軸齒輪在規定溫度以下進行均勻預熱。確認曲軸齒輪的方向和位置后擊入。

5.10 檢查日本三菱柴油發動機油封擋油環
發現擋油環有引起潤滑油漏油的擊痕、損傷、磨損和變形等異常時,更換擋油環。

5.11 更換日本三菱柴油發動機油封擋油環
接觸預熱零部件時,要使用保護手套。直接用手接觸會引起燙傷。
5.11.1拆卸日本三菱柴油發動機油封擋油環
用齒輪拆卸器將油封擋油環從曲軸上拆出。
注: 通過加熱油封擋油環拆出時,加熱溫度應在100º以下。

5.11.2安裝日本三菱柴油發動機油封擋油環
(1) 測量曲軸外徑和油封擋油環的內徑,確認過盈量。
(2) 將油封擋油環在110º 以下均勻預熱。確認擋油環的方向和位置后擊入。

5.12 檢查日本三菱柴油發動機主軸瓦
檢查主軸瓦的滑動接觸面、背面和端面,如有接觸不良、滑動損傷、腐蝕、異物嵌入等異常時更換新品。

5.13 測量日本三菱柴油發動機主軸瓦的厚度
測量主軸瓦的中央部位的厚度。超過極限值時,將主軸瓦上下整套更換。根據曲軸頸的磨損程度,在曲軸重新研磨使用時,使用減小尺寸的主軸瓦。曲軸的研磨要領參考「發動機本體的檢測、修理」的「曲軸的曲柄銷和曲軸頸的研磨」項。
注: 主軸瓦的減小規格有0.25、0.50、0.75、1.00 mm。


5.14 檢查日本三菱柴油發動機推力片
檢查推力片的滑動面、背面和端面,如有接觸不良、滑動損傷、腐蝕、異物嵌入等異常時更換新品。

5.15 測量日本三菱柴油發動機推力片的厚度
測量推力片的厚度。超過極限值時更換新的推力片。根據曲軸的磨損程度,在曲軸重新研磨使用時,使用加大尺寸的推力片。曲軸的研磨要領參考「發動機本體的檢測、修理」的「最后端曲軸頸的軸頸寬度研磨」項。
注:(a) 推力片的加大尺寸有0.25、0.50、0.75 mm。
(b) 加大尺寸推力片可單側( 上下片組合) 使用,調整軸向間隙時可盡量減少曲軸的研磨量。


5.16 檢查日本三菱柴油發動機活塞冷卻噴油嘴
檢查活塞冷卻噴油嘴。
發現閥動作不良、油孔堵塞等異常時,更換新品。

