C15和C18發動機水泵

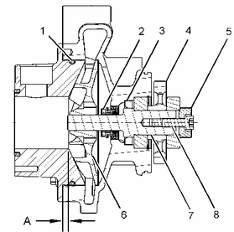
314-5155水泵總成的技術規格項目數量零件技術規格說明11246-3129泵葉輪泵葉輪應與軸平齊,偏差在
−0.25至0.00mm(−0.010至0.000in)以內。21153-1256唇形密封件安裝唇形密封時,使主密封唇朝向水泵驅動齒輪。用壓具壓裝油封,直到油封與殼體表面齊平,如圖所示。請勿用手安裝唇形密封。31276-4756密封總成將密封總成壓裝到軸上,直到杯完全座入泵殼體內。41195-0319齒輪壓裝齒輪,直到齒輪與軸承平齊。51203-3831杯塞杯塞在加工表面的最大安裝深度為
0.5mm(0.02in)。如圖所示,定位杯塞,偏差在±10度以內。

|
174-5986水泵總成、161-0969水泵總成和100-9347水泵總成技術規格 | |||||||
|
項目 |
數量 |
零件 |
技術規格說明 | ||||
|
1 |
1 |
9M-3786O型密封圈 |
使用5P-3975橡膠潤滑劑輕輕潤滑O形密封圈的孔。 | ||||
|
2 |
1 |
0S-1591螺栓 |
擰緊至扭矩為 | ||||
|
3 |
1 |
349-2654水泵密封件 |
使用安裝工具將水泵密封件壓裝到水泵軸上,直到固定杯完全座入泵殼體內。 | ||||
|
4 |
1 |
153-1256唇形密封件 |
用安裝工具安裝唇形密封件,使主密封唇朝向水泵驅動齒輪。用壓具壓裝唇形密封件,直到唇形密封件與殼體內表面齊平。請勿用手安裝唇形密封件。 | ||||
|
A |
1 |
135-4928水泵軸 |
碳密封組件底座區的水泵軸直徑為 | ||||
|
246-3132水泵總成的技術規格 | |||||||
|
項目 |
數量 |
零件 |
技術規格說明 | ||||
|
1 |
1 |
244-1645密封總成 |
使用安裝工具將密封總成壓裝到水泵軸上,直到固定杯完全座入水泵殼體內。 | ||||
|
2 |
1 |
153-1256唇形密封件 |
用安裝工具安裝唇形密封,使主密封唇朝向齒輪。用壓具壓裝唇形密封,直到唇形密封與殼體內表面平齊。請勿用手安裝唇形密封。 | ||||
|
3 |
1 |
246-3129泵葉輪 |
應將泵葉輪壓裝到軸上,容差為 | ||||
|
4 |
1 |
195-0319齒輪 |
壓裝齒輪,直到齒輪與軸承平齊。 | ||||

注:使用安裝工具將密封件總成壓裝到水泵軸上,直到固定杯完全座入水泵殼體內。
(1)密封件組件
在140kPa(20psi)下,水側的最大泄漏量不應超過以下值。...10ml/min(0.3oz/min)
在140kPa(20psi)下,機油側的最大泄漏量不應超過以下值。...24ml/min(0.8oz/min)
(2)使用安裝工具安裝唇形密封,主唇形件朝向齒輪。用壓力機壓裝將唇形密封,直到唇形密封與殼體內表面齊平。不要手動安裝唇形密封。
(3)泵葉輪壓裝到軸上時的容差應在以下值范圍內。...−0.25至0.00mm(−0.010至0.000in)
注:使負偏置朝向殼體。
(4)壓裝齒輪,直到齒輪與軸承平齊。


|
374-4753水泵總成的技術規格 | |||
|
項目 |
數量 |
零件 |
技術規格說明 |
|
1 |
1 |
371-6782泵葉輪 |
葉輪的安裝深度(B)為 |
|
3 |
1 |
352-2002水泵齒輪 |
壓裝水泵齒輪,直至水泵齒輪與軸承(2)平齊。 |
|
4 |
1 |
203-3831杯塞 |
杯塞在機加工表面的最大安裝深度為 |
|
5 |
1 |
153-1256唇形密封 |
安裝唇形密封時,使主密封唇朝向水泵主動齒輪。用壓力機壓裝油封,直至油封與殼體端面平齊,如圖1中所示。 |
|
6 |
1 |
336-2212水泵密封組件 |
將水泵密封組件壓裝到軸上,直到杯完全座入泵殼體內。使用安裝工具。 |

|
276-4755水泵總成和336-2213水泵總成的技術規格 | |||
|
項目 |
數量 |
零件 |
技術規格說明 |
|
1 |
1 |
246-3129泵葉輪 |
泵葉輪應與軸平齊,偏差在 |
|
2 |
1 |
153-1256唇形密封 |
安裝唇形密封時,使主密封唇朝向水泵主動齒輪。用壓具壓裝油封,直到油封與殼體表面齊平,如圖所示。請勿用手安裝唇形密封。 |
|
3 |
1 |
276-4756密封件總成 |
將密封總成壓裝到軸上,直到杯完全座入泵殼體內。 |
|
4 |
1 |
195-0319齒輪 |
壓裝齒輪,直到齒輪與軸承平齊。 |

|
表1 | |||
|
366-0227水泵總成的技術規格 | |||
|
項目 |
數量 |
零件 |
技術規格說明 |
|
1 |
1 |
246-3129泵葉輪 |
泵葉輪應與軸平齊,偏差在 |
|
2 |
1 |
153-1256唇形密封 |
安裝唇形密封時,使主密封唇朝向水泵主動齒輪。用壓具壓裝油封,直到油封與殼體表面齊平,如圖所示。請勿用手安裝唇形密封。 |
|
3 |
1 |
336-2212水泵密封組件 |
將密封總成壓裝到軸上,直到杯完全座入泵殼體內。 |
|
4 |
1 |
361-8234水泵齒輪 |
壓裝齒輪,直到齒輪與軸承平齊。 |
|
5 |
1 |
203-3831杯塞 |
杯塞在機加工表面的最大安裝深度為 |
|
6 |
- |
246-3130水泵軸 |
葉輪端的軸徑為 |

|
343-8955水泵總成的技術規格 | |||
|
項目 |
數量 |
零件 |
技術規格說明 |
|
1 |
1 |
246-3129泵葉輪 |
泵葉輪應與軸平齊,偏差在 |
|
2 |
1 |
153-1256唇形密封 |
安裝唇形密封時,使主密封唇朝向水泵主動齒輪。用壓力機壓裝油封,直至油封與殼體端面平齊,如圖1中所示。 |
|
3 |
1 |
352-2002水泵齒輪 |
壓裝水泵齒輪,直至水泵齒輪與軸承(4)平齊。 |
|
5 |
1 |
336-2212水泵密封組件 |
將水泵密封組件壓裝到軸上,直到杯完全座入泵殼體內。使用安裝工具。 |
|
6 |
1 |
203-3831杯塞 |
杯塞在機加工表面的最大安裝深度為 |
哪里有修發電機的,長沙柴油發電機維修保養,柴油發電機維修 寧波,永嘉發電機維修,沃爾沃發電機500kw維修