Perkins1103/1104柴油發動機燃油注油泵安裝方法與步驟
有兩種類型的注油泵。類型1安裝在起動馬達的上方。類型1與Perkins燃油濾清器結合使用。類型2安裝在起動馬達的下方。類型2不與Perkins燃油濾清器結合使用。僅在4氣缸Perkins發動機使用類型2。
類型1的安裝程序

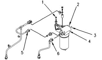
典型示例
1.清潔注油泵(4)的外表面。將Perkins注油泵(4)就位,并且安裝三個調整螺釘(1)和新的橡膠墊圈。
2.從注油泵(4)上拆下防塵蓋。從管組件上取下塞子。連接管組件(5)。連接管組件(6)。
3.將回油管連接到接頭(3)上。
4.將線束組件連接到接頭(2)上。
5.排出燃油系統中的空氣。請參閱《Perkins發動機操作和保養手冊》,“Perkins燃油系統-注油”。
類型2的安裝程序
注意:保持所有Perkins零件清潔無雜質。雜質會造成快速磨損和縮短部件壽命。

1.清潔注油泵(2)的外表面。將注油泵(2)就位,并且安裝兩個調整螺釘(3)。
2.從注油泵上拆下防塵蓋。從燃油軟管組件上取下塞子。連接燃油軟管組件(1)。連接燃油軟管組件(4)。
3.將線束組件連接到注油泵(2)上的電氣接頭上。
4.排出燃油系統中的空氣。請參閱《Perkins發動機操作和保養手冊》,“燃油系統-注油”。