柴油機的噴油器套筒拆卸安裝方法卡特C13 Perkins2206發動機


1. 將冷卻系統中的冷卻液排放到適當的容器中,以便存放或處置。請參閱操作和保養手冊,“CAT卡特C13珀金斯2206柴油機冷卻系統冷卻液-更換”。
2. 拆下CAT卡特C13珀金斯2206柴油機電子單體噴油器。請參閱拆解和組裝,“電子單體噴油器-拆卸”。

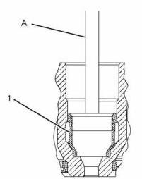
3. 將工具(A)安裝到電子單體噴油器套筒(1)中。
4. 擰緊工具(A)上的螺母,直到將電子單體噴油器套筒(1)從氣缸蓋上拔出。
圖釋 16

5. 從CAT卡特C13珀金斯2206柴油機電子單體噴油器套筒(1)上拆下O形密封圈(2)和O形密封圈(3)。
電子單體噴油器套筒-安裝步驟
1. 使用工具(B)清潔電子單體噴油器套筒氣缸蓋中的孔。
注意
確保CAT卡特C13珀金斯2206柴油機電子單體噴油器套筒和氣缸蓋孔完全沒有機油、污垢和密封膠碎屑。
圖釋 18

2. 將新的O形密封圈(2)和(3)安裝到電子單體噴油器套筒(1)上。
3. 將CAT卡特C13珀金斯2206柴油機電子單體噴油器套筒(1)安裝到工具(A)上。
4. 在電子單體噴油器套筒(1)的表面(X)上涂抹一小片連續的工具(C)。
5. 用清潔的發動機機油潤滑O形密封圈(2)。
6. 將CAT卡特C13珀金斯2206柴油機電子單體噴油器套筒(1)和工具(A)放置在氣缸蓋中。小心不要損壞O形密封圈(2)和(3)。

7. 使用工具(A)和軟面錘將電子單體噴油器套筒(1)安裝到氣缸蓋上。
注意:確保CAT卡特C13珀金斯2206柴油機電子單體噴油器套筒在氣缸蓋中正確入位。
8. 安裝CAT卡特C13珀金斯2206柴油機電子單體噴油器。請參閱拆解和組裝,“電子單體噴油器-安裝”。
9. 向冷卻系統加注冷卻液。請參閱操作和保養,“冷卻系統冷卻液-更換”。

固原Perkins帕金斯403F-15TG卡特CAT發動機總成哪家好,達州Perkins帕金斯1106D-E70TAG3卡特CAT發動機節溫器多少錢,漯河Perkins帕金斯2206A-E15TAG3卡特CAT發動機機油冷卻器技術查詢中心,臨汾Perkins帕金斯1106D-E70TAG4卡特CAT發動機噴油嘴多少錢電話,